TOP
|
特許
|
意匠
|
商標
特許ウォッチ
Twitter
他の特許を見る
10個以上の画像は省略されています。
公開番号
2025125712
公報種別
公開特許公報(A)
公開日
2025-08-28
出願番号
2024021818
出願日
2024-02-16
発明の名称
燃料電池システム
出願人
国立大学法人金沢大学
,
株式会社ジェイテクト
代理人
弁理士法人あいち国際特許事務所
主分類
H01M
8/0202 20160101AFI20250821BHJP(基本的電気素子)
要約
【課題】発電効率の向上が図られる燃料電池を提供する。
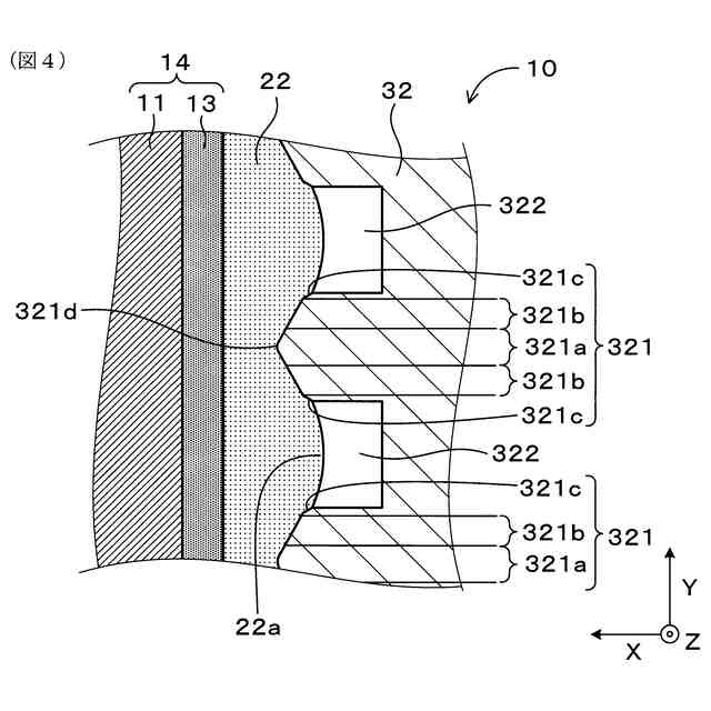
【解決手段】燃料電池10は、電解質膜11、アノード触媒層12及びカソード触媒層13を有する膜電極接合体14と、膜電極接合体14のアノード触媒層12及びカソード触媒層13に積層された一対の拡散層21、22と、これらを積層方向に挟持して拡散層21、22に対向する面に複数のリブ311、321の間に流路312、322を有する一対のセパレータ31、32とを備え、一対のセパレータ31、32の流路312、322からアノード触媒層12とカソード触媒層13に供給原料が供給される。一対のセパレータ31、32の少なくとも一方におけるリブ311、321は、拡散層21、22を積層方向に押圧して第1の圧縮率で圧縮する第1圧縮部311a、321aと、拡散層21、22を積層方向に押圧して第1の圧縮率よりも低い第2の圧縮率で圧縮する第2圧縮部311b、321bとを含む。
【選択図】図4
特許請求の範囲
【請求項1】
電解質膜と、
前記電解質膜の一方の面上に設けられたアノード触媒層と、前記電解質膜の他方の面上に設けられたカソード触媒層と、を有する膜電極接合体と、
前記膜電極接合体の前記アノード触媒層及び前記カソード触媒層に積層された一対の拡散層と、
前記膜電極接合体及前記一対の拡散層を積層方向に挟持するとともに、前記拡散層に対向する面に設けられた複数のリブと、前記複数のリブの間に形成された溝からなる流路とを有する一対のセパレータと、を備え、
前記アノード触媒層側に設けられた前記セパレータの前記流路から前記アノード触媒層側の前記拡散層を介して前記アノード触媒層に液体燃料を供給するとともに、前記カソード触媒層側に設けられた前記セパレータの前記流路から前記カソード触媒層側の前記拡散層を介して前記カソード触媒層に酸化剤を供給するように構成されており、
前記一対のセパレータの少なくとも一方における前記リブは、前記拡散層を前記積層方向に押圧して第1の圧縮率で圧縮する第1圧縮部と、前記拡散層を前記積層方向に押圧して前記第1の圧縮率よりも低い第2の圧縮率で圧縮する第2圧縮部とを含む、燃料電池。
続きを表示(約 740 文字)
【請求項2】
前記一対のセパレータの少なくとも一方における前記リブの延在方向に直交する断面において、前記第2圧縮部は前記第1圧縮部と前記流路との間に位置している、請求項1に記載の燃料電池。
【請求項3】
前記一対のセパレータの少なくとも一方における前記リブは、前記リブの延在方向に直交する断面において、前記リブは前記流路と隣接する位置に前記リブの角部を面取りしてなる面取り部を有し、
前記第2圧縮部は前記第1圧縮部と前記面取り部との間に位置している、請求項2に記載の燃料電池。
【請求項4】
前記一対のセパレータの少なくとも一方における前記リブは、前記リブの延在方向に平行な断面において、前記第1圧縮部と前記第2圧縮部とが前記リブの延在方向に沿って交互に配列している、請求項1に記載の燃料電池。
【請求項5】
前記第1圧縮部は前記拡散層に向けて突出した凸形状を有している、請求項1~4のいずれか一項に記載の燃料電池。
【請求項6】
前記第1圧縮部における前記凸形状の頂点部は曲面である、請求項5に記載の燃料電池。
【請求項7】
前記第1圧縮部における前記凸形状の頂点部は平面である、請求項5に記載の燃料電池。
【請求項8】
前記第1の圧縮率は、前記拡散層の抵抗値と前記拡散層の圧縮率との対応関係が変化する変曲点における圧縮率である変曲点圧縮率以上であり、
前記第2の圧縮率は前記変曲点圧縮率よりも小さい、請求項1~4のいずれか一項に記載の燃料電池。
【請求項9】
前記拡散層はカーボンクロスからなる、請求項1~4のいずれか一項に記載の燃料電池。
発明の詳細な説明
【技術分野】
【0001】
本発明は、燃料電池システムに関する。
続きを表示(約 2,900 文字)
【背景技術】
【0002】
液体燃料を用いた固体高分子型の燃料電池は、一般に、電解質膜の一方の面にアノード触媒層及び拡散層が積層され、他方の面にカソード触媒層及び拡散層が積層されて、これらが一対のセパレータで積層方向に挟持された構成を有している。そして、アノード側のセパレータに形成された流路からアノード側の拡散層の細孔を介してアノード触媒層に液体燃料が直接供給され、カソード側のセパレータに形成された流路からカソード側の拡散層の細孔を介してカソード触媒層に酸化剤が外部から供給されることにより電極反応が生じて発電される。このような燃料電池の例として、特許文献1には、セパレータの流路は拡散層に対向する面に設けられた複数のリブで形成された溝により構成されており、セパレータと拡散層とはリブにて互い当接して電子を受け渡しする構成が開示されている。
【先行技術文献】
【特許文献】
【0003】
特開2008-210679号公報
【発明の概要】
【発明が解決しようとする課題】
【0004】
しかしながら、特許文献1に開示の構成では、セパレータにおいて拡散層に接するリブが拡散層に押し付けられることにより、拡散層はリブと接する領域が圧縮変形するとともに、隣り合うリブが梁となって両リブの間の流路に接する領域も圧縮変形する。拡散層が圧縮変形すると拡散層の細孔が潰れて狭くなるため、アノード側の拡散層では流路から供給される液体燃料の流通が阻害されるとともに、カソード側の拡散層では流路からの供給される酸化剤の流通が阻害される。また、両拡散層において圧縮変形された領域には電極反応による副生産物が滞留しやすくなる。これらの結果、発電効率が低下する。また、リブの拡散層への押し付け力が高いと、拡散層の背後の電解質膜を破損するおそれもある。一方、リブの拡散層への押し付け力を弱くすれば拡散層の圧縮変形を低減できるが、拡散層内の抵抗や拡散層とセパレータとの境界抵抗が上昇することにより発電効率が低下する。
【0005】
本発明は、発電効率の向上が図られる燃料電池を提供しようとするものである。
【課題を解決するための手段】
【0006】
本発明の一態様は、
電解質膜と、
前記電解質膜の一方の面上に設けられたアノード触媒層と、前記電解質膜の他方の面上に設けられたカソード触媒層と、を有する膜電極接合体と、
前記膜電極接合体の前記アノード触媒層及び前記カソード触媒層に積層された一対の拡散層と、
前記膜電極接合体及前記一対の拡散層を積層方向に挟持するとともに、前記拡散層に対向する面に設けられた複数のリブと、前記複数のリブの間に形成された溝からなる流路とを有する一対のセパレータと、を備え、
前記アノード触媒層側に設けられた前記セパレータの前記流路から前記アノード触媒層側の前記拡散層を介して前記アノード触媒層に液体燃料を供給するとともに、前記カソード触媒層側に設けられた前記セパレータの前記流路から前記カソード触媒層側の前記拡散層を介して前記カソード触媒層に酸化剤を供給するように構成されており、
前記一対のセパレータの少なくとも一方における前記リブは、前記拡散層を前記積層方向に押圧して第1の圧縮率で圧縮する第1圧縮部と、前記拡散層を前記積層方向に押圧して前記第1の圧縮率よりも低い第2の圧縮率で圧縮する第2圧縮部とを含む、燃料電池にある。
【発明の効果】
【0007】
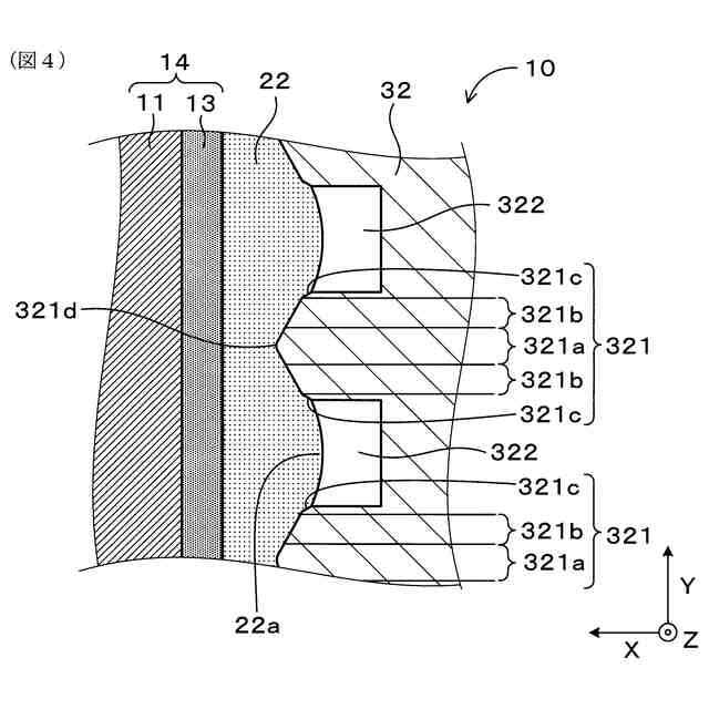
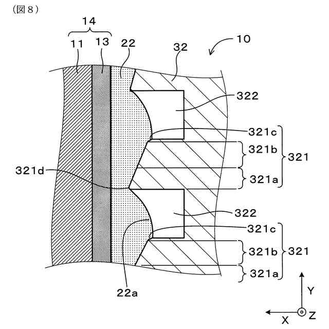
上記態様の燃料電池によれば、一対のセパレータの少なくとも一方に形成された複数のリブによって拡散層は圧縮されるが、当該リブは拡散層の圧縮率が高い第1圧縮部と拡散層の圧縮率が低い第2圧縮部とを含むため、リブによる圧縮率が均一である場合に比べて、隣り合うリブの間の流路に接する拡散層の圧縮及び変形が低減される。その結果、一対のセパレータの少なくとも一方における上記流路から供給される液体燃料又は酸化剤である供給原料の流通が阻害されることを防止できるとともに、拡散層においてリブにより圧縮された領域に副生成物が滞留することを防止できる。また、リブによる圧縮率が均一で高い圧縮率で押圧する場合に比べて、リブが圧縮率の低い第2圧縮部を有することにより、リブの押圧による拡散層の背後の電解質膜の破損を抑制することができる。一方、拡散層において圧縮率の高い第1圧縮部で押圧された領域では、拡散層内の抵抗や拡散層とセパレータとの境界抵抗が低い状態に維持されている。これらにより、発電効率の向上が図られる。
【0008】
以上のごとく、上記態様によれば、発電効率の向上が図られる燃料電池を提供することができる。
【図面の簡単な説明】
【0009】
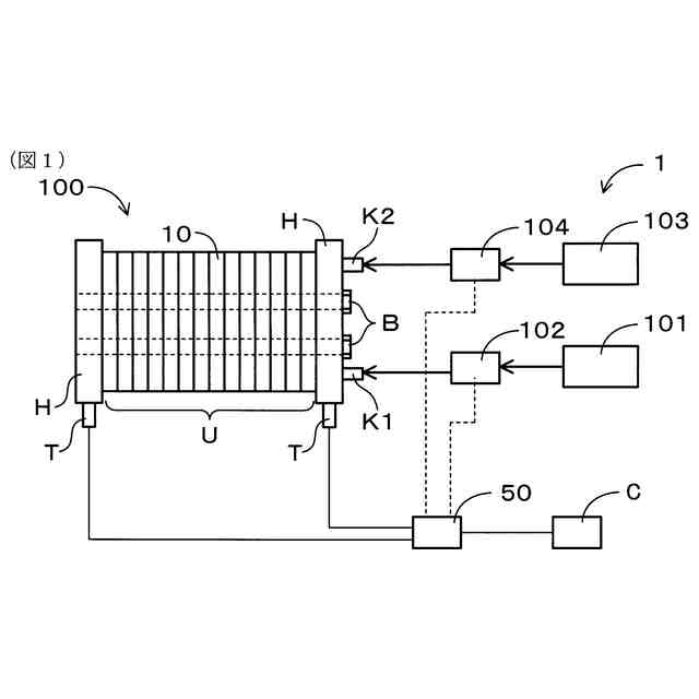
実施形態1における、燃料電池システムの構成を示す概念図。
実施形態1における、燃料電池の構成を示す概念断面図。
実施形態1における、拡散層の平面視拡大図。
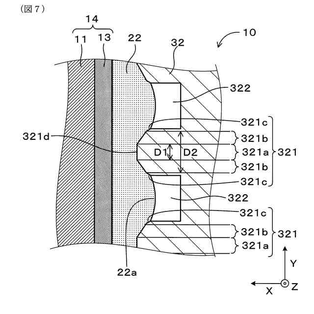
図2における、流路付近の断面拡大図。
実施形態1における、拡散層の圧縮率と拡散層の抵抗との関係を示す図。
実施形態1における、(a)圧縮装置における締め代に対する平均流量細孔径の検証試験の結果を示す図、(b)圧縮装置における締め代に対するバブルポイント圧の検証試験の結果を示す図。
実施形態2における、流路付近の断面拡大図。
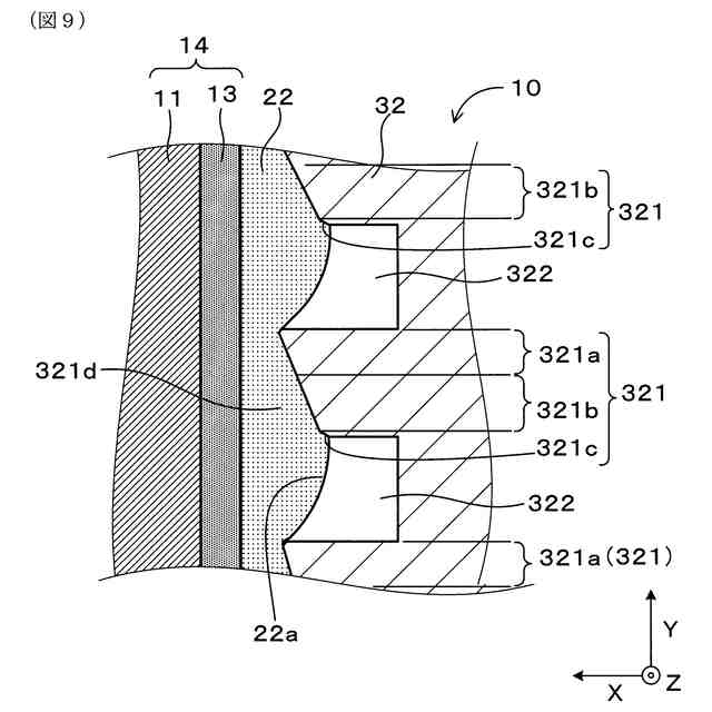
実施形態3における、流路付近の断面拡大図。
変形形態1における、流路付近の断面拡大図。
実施形態4における、燃料電池の構成を示す概念断面図。
実施形態4における、流路付近の断面拡大図。
【発明を実施するための形態】
【0010】
(実施形態1)
1.燃料電池システム1の構成
実施形態1では、図1に示すように燃料電池システム1は、燃料電池10と制御装置50とを備える。そして、燃料電池10は、単体セルUとして複数積層されて燃料電池スタック100を形成している。燃料電池スタック100において積層された複数の単体セルUはホルダH及びボルトBによって保持される。燃料電池スタック100には、燃料タンク101に貯留された液体燃料であるギ酸を加圧して供給する第1ポンプ102が配管を介して接続部K1に接続される。また、燃料電池スタック100には、ガスタンク103に貯留された酸化剤(酸化剤ガス)として酸素ガスを加圧して供給する第2ポンプ104が配管を介して接続部K2に接続される。制御装置50により第1ポンプ102及び第2ポンプ104の動作が制御され、電力が外部負荷Cへ出力される。なお、本実施形態1では、発電のために燃料電池10に供給される液体燃料及び/又は酸化剤を「供給原料」というものとする。
(【0011】以降は省略されています)
この特許をJ-PlatPat(特許庁公式サイト)で参照する
関連特許
国立大学法人金沢大学
微粒子の製造装置
2か月前
国立大学法人金沢大学
燃料電池システム
1か月前
国立大学法人金沢大学
燃料電池システム
4か月前
国立大学法人金沢大学
腫瘍治療用医薬組成物
1か月前
国立大学法人金沢大学
太陽電池とその製造方法
6か月前
国立大学法人金沢大学
放射性同位体標識診療薬剤
5か月前
国立大学法人金沢大学
金属錯体及び金属錯体の製造方法
1か月前
国立大学法人金沢大学
双性イオンを含む植物成長抑制剤
4日前
国立大学法人金沢大学
パターニングされた酸化物膜の形成方法
今日
国立大学法人金沢大学
情報処理システム、合成装置、情報処理方法及びプログラム
28日前
国立大学法人金沢大学
対象物検出方法、プログラム、対象物検出装置、及び自律移動体
4か月前
国立大学法人金沢大学
点滅領域検出方法、プログラム、点滅領域検出装置、及び自律移動体
1か月前
国立大学法人金沢大学
音源方向検出方法、プログラム、音源方向検出装置、及び自律移動体
5か月前
国立大学法人金沢大学
追従対象車両決定方法、プログラム、追従対象車両決定装置、及び自律移動体
4か月前
石川県
姿勢保持具、移乗器具、支持用ベルト、及び、支持ベルトの設置方法
14日前
国立大学法人金沢大学
薄膜デバイス、薄膜デバイスモジュール、電極付き封止材及び薄膜デバイスの製造方法
1か月前
国立大学法人金沢大学
CAR-T細胞活性化、造血幹細胞増殖、iPS細胞分化を制御する組成物およびその用途
3か月前
国立大学法人金沢大学
ペロブスカイト膜、薄膜太陽電池、ペロブスカイト膜の製造方法及び薄膜太陽電池の製造方法
2か月前
株式会社荏原製作所
ワークピースの化学機械研磨システムおよび化学機械研磨方法
2か月前
一般財団法人電力中央研究所
直流遮断器
4か月前
個人
安全なNAS電池
28日前
東レ株式会社
多孔質炭素シート
23日前
個人
フリー型プラグ安全カバー
1か月前
日本発條株式会社
積層体
4日前
エイブリック株式会社
半導体装置
25日前
エイブリック株式会社
半導体装置
25日前
ローム株式会社
半導体装置
23日前
ローム株式会社
半導体装置
今日
個人
防雪防塵カバー
4日前
キヤノン株式会社
電子機器
23日前
ローム株式会社
半導体装置
2日前
ローム株式会社
半導体装置
2日前
ローム株式会社
半導体装置
2日前
沖電気工業株式会社
アンテナ
1か月前
東レ株式会社
ガス拡散層の製造方法
23日前
ニチコン株式会社
コンデンサ
16日前
続きを見る
他の特許を見る