TOP
|
特許
|
意匠
|
商標
特許ウォッチ
Twitter
他の特許を見る
公開番号
2025044838
公報種別
公開特許公報(A)
公開日
2025-04-02
出願番号
2023152634
出願日
2023-09-20
発明の名称
プレス装置
出願人
トヨタ紡織株式会社
代理人
個人
,
個人
主分類
B30B
15/02 20060101AFI20250326BHJP(プレス)
要約
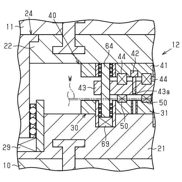
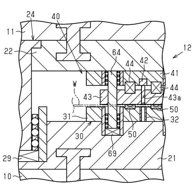
【課題】可動側ダイセットと可動型とが接触することによる摩耗が生じにくいプレス装置を提供する。
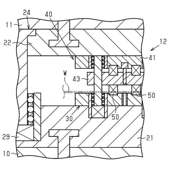
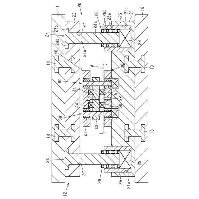
【解決手段】プレス装置は、ワークWをプレス加工し、固定台10、固定台10に対して進退可能に設けられる可動台11、及び固定台10と可動台11との間に設けられた金型構造12を備えている。金型構造12は、固定台10に固定される固定側ダイセット21と、可動台11に固定され、固定側ダイセット21とともにダイセット20を構成する可動側ダイセット22とを備えている。また、金型構造12は、固定側ダイセット21に固定された固定型30、固定型30と可動側ダイセット22との間に設けられた可動型40、及び可動型40と固定型30との間に設けられた第1付勢部材50を備えている。可動型40は、可動側ダイセット22に対して接離可能に設けられている。第1付勢部材50は、可動型40を可動側ダイセット22に向けて付勢している。
【選択図】図1
特許請求の範囲
【請求項1】
ワークをプレス加工するプレス装置であって、
固定台と、
前記固定台に対して進退可能に設けられる可動台と、
前記固定台と前記可動台との間に設けられた金型構造と、を備えており、
前記金型構造は、
前記固定台に固定される固定側ダイセットと、
前記可動台に固定され、前記固定側ダイセットとともにダイセットを構成する可動側ダイセットと、
前記固定側ダイセットに固定された固定型と、
前記固定型と前記可動側ダイセットとの間に設けられ、前記可動側ダイセットに対して接離可能に設けられた可動型と、
前記可動型と、前記固定型または前記固定側ダイセットとの間に設けられ、前記可動型を前記可動側ダイセットに向けて付勢する付勢部材と、を備えている、
プレス装置。
続きを表示(約 530 文字)
【請求項2】
前記固定台に対する前記可動台の進退方向を進退方向とするとき、
前記可動型と前記固定側ダイセットとの間に設けられ、前記固定側ダイセットに対する前記可動型の前記進退方向に沿った変位を案内するガイド機構を備えている、
請求項1に記載のプレス装置。
【請求項3】
前記固定台に対する前記可動台の進退方向を進退方向とするとき、
前記可動型は、
パンチプレートと、前記パンチプレートと前記固定型との間に設けられ、前記固定型とにより前記ワークを挟持するストリッパプレートと、を有しており、
前記パンチプレートには、前記ストリッパプレートを貫通可能に構成されたパンチが固定されており、
前記付勢部材を第1付勢部材とするとき、
前記第1付勢部材は、前記ストリッパプレートと、前記固定型または前記固定側ダイセットとの間に設けられており、
前記パンチプレートと前記ストリッパプレートとの間には、前記パンチプレートと前記ストリッパプレートとを前記進退方向において互いに離間させるように付勢する第2付勢部材が設けられている、
請求項1または請求項2に記載のプレス装置。
発明の詳細な説明
【技術分野】
【0001】
本発明は、プレス装置に関する。
続きを表示(約 1,700 文字)
【背景技術】
【0002】
特許文献1には、被加工材をプレス加工するプレス加工装置が記載されている。
特許文献1に記載のプレス加工装置は、固定台、固定台の上方において上下方向に移動可能である可動台、及び固定台と可動台との間に配置される金型構造を備えている。金型構造は、固定台の上面に固定された下型、下型の上方に位置する上型、下型と上型との間に設けられた第一弾性体、及び上型の上面に連結された圧力調整装置を備えている。
【0003】
第一弾性体は、下型と上型との間に設けられ、上型を可動台に向けて付勢している。圧力調整装置は、可動台と対向するプレッシャープレートを有している。可動台は、可動台の上死点においてプレッシャープレートと離間するとともに、上死点から下方へと移動することによりプレッシャープレートと接触可能に構成されている。可動台によりプレッシャープレートを介して下方へと上型が押圧されると、第一弾性体自身が収縮することにより上型と下型とが接近する。また、上型と下型とが更に接近すると、上型と下型との協働により被加工材がプレス加工される。
【0004】
特許文献1に記載のプレス加工装置では、可動台と圧力調整装置とが接離可能に設けられている。このため、駆動装置によって往復動される構成が可動台のみとなる。これにより、駆動装置によって往復動される構成の質量が小さくなるので、可動台を高速にて往復動させることができる。
【0005】
また一般に、金型構造を構成する下型や上型などの部材は、可動台や固定台よりも硬度の高い材料で形成されている。
【先行技術文献】
【特許文献】
【0006】
国際公開第2022/030571号
【発明の概要】
【発明が解決しようとする課題】
【0007】
特許文献1のプレス加工装置では、プレッシャープレートが金型構造を構成するものである。このため、プレッシャープレートは、金型構造を構成しない可動台よりも硬度の高い材料により形成されているといえる。また、特許文献1のプレス加工装置では、上述したように、プレッシャープレートと可動台とが接離可能に構成されている。このため、可動台が下方へ移動することにより可動台よりも硬度の高いプレッシャープレートと接触することで、可動台が摩耗し易くなるといった問題が生じる。
【課題を解決するための手段】
【0008】
上記課題を解決するためのプレス装置は、ワークをプレス加工するプレス装置であって、固定台と、前記固定台に対して進退可能に設けられる可動台と、前記固定台と前記可動台との間に設けられた金型構造と、を備えており、前記金型構造は、前記固定台に固定される固定側ダイセットと、前記可動台に固定され、前記固定側ダイセットとともにダイセットを構成する可動側ダイセットと、前記固定側ダイセットに固定された固定型と、前記固定型と前記可動側ダイセットとの間に設けられ、前記可動側ダイセットに対して接離可能に設けられた可動型と、前記可動型と、前記固定型または前記固定側ダイセットとの間に設けられ、前記可動型を前記可動側ダイセットに向けて付勢する付勢部材と、を備えている。
【0009】
同構成によれば、可動台に可動側ダイセットが固定される一方、可動側ダイセットに対して可動型が接離可能に設けられている。このため、可動台が固定型に向かって移動すると、可動型が、可動側ダイセットを介して押圧されることで固定型に向かって移動するとともに、固定型とによってワークをプレス加工する。
【0010】
ここで、可動型が可動側ダイセットに固定されている構成、すなわち可動台、可動側ダイセット、及び可動型が一体に可動する構成に比べて、駆動装置によって往復動される構成の質量が小さくなる。これにより、可動台及び可動側ダイセットを高速にて往復動させることができる。
(【0011】以降は省略されています)
この特許をJ-PlatPat(特許庁公式サイト)で参照する
関連特許
トヨタ紡織株式会社
乗物用シート
5日前
トヨタ紡織株式会社
乗物用シート
5日前
トヨタ紡織株式会社
乗物用照明装置
4日前
トヨタ紡織株式会社
燃料電池スタック
4日前
トヨタ紡織株式会社
燃料電池の単セル
5日前
トヨタ紡織株式会社
シート制御システム
7日前
トヨタ紡織株式会社
繊維状複合体及びその製造方法並びに粉体
12日前
トヨタ紡織株式会社
パーティション装置、パーティションシステム、及び制御装置
4日前
トヨタ紡織株式会社
燃料電池用セパレータの製造装置及び燃料電池用セパレータの製造方法
5日前
日機装株式会社
加圧装置
5か月前
株式会社ヨコオ
製造装置
5か月前
日機装株式会社
加圧システム
6か月前
大同工業株式会社
高温成形用金型
3か月前
住友重機械工業株式会社
プレス装置
4か月前
住友重機械工業株式会社
プレス装置
5か月前
日本発條株式会社
加工油供給方法及び装置
3か月前
株式会社石垣
スクリュープレスの外筒スクリーン洗浄方法
3か月前
株式会社西田製作所
工具ヘッドと据置台との組み合わせ
5か月前
株式会社ジェイテクトフルードパワーシステム
加圧パンチ装置
4か月前
いすゞ自動車株式会社
成形装置
1か月前
株式会社金陽社
熱プレス用緩衝材
1か月前
大同特殊鋼株式会社
連続式真空ホットプレス装置
1か月前
株式会社ディムコ
ガイドユニットを備えるダブルベルトプレス装置
4か月前
住友重機械工業株式会社
プレス装置及びプレス装置の配管工程
3か月前
トヨタ自動車株式会社
ロールプレス装置
18日前
冨士発條株式会社
プレスシステム、およびトランスファ装置
2か月前
株式会社SGIC
加熱ブロック及びダブルベルトプレス
5か月前
UBEマシナリー株式会社
押出プレス装置の支援システム
3か月前
株式会社石垣
スクリュープレスにおける目詰まり防止機構及びそれを用いた目詰まり防止方法
5か月前
アイダエンジニアリング株式会社
プレス機械及びプレス機械の操作支援方法
1か月前
株式会社KMC
監視システム、センサープレート及び通信制御ユニット
1か月前
ノリタケ株式会社
ロールコンパクション成形装置およびロールコンパクション成形用搬送装置
11日前
学校法人金沢工業大学
加工機械の制御方法、加工機械の制御装置及び制御プログラム
5か月前
コマツ産機株式会社
プレス機械の金型用の予知保全システム及び予知保全のための方法
22日前
株式会社放電精密加工研究所
機械学習装置、情報処理装置、推論装置、機械学習方法、情報処理方法、及び、推論方法
今日
株式会社JKB
順送プレス加工方法及びその加工システム
1か月前
続きを見る
他の特許を見る