TOP
|
特許
|
意匠
|
商標
特許ウォッチ
Twitter
他の特許を見る
10個以上の画像は省略されています。
公開番号
2025116442
公報種別
公開特許公報(A)
公開日
2025-08-08
出願番号
2024010864
出願日
2024-01-29
発明の名称
プレスシステム、およびトランスファ装置
出願人
冨士発條株式会社
代理人
個人
,
個人
,
個人
主分類
B30B
13/00 20060101AFI20250801BHJP(プレス)
要約
【課題】ワークをダイの下側から取り出すことができるとともに、装置の小型化および簡素化を図ることができる、プレスシステムを提供する。
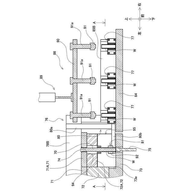
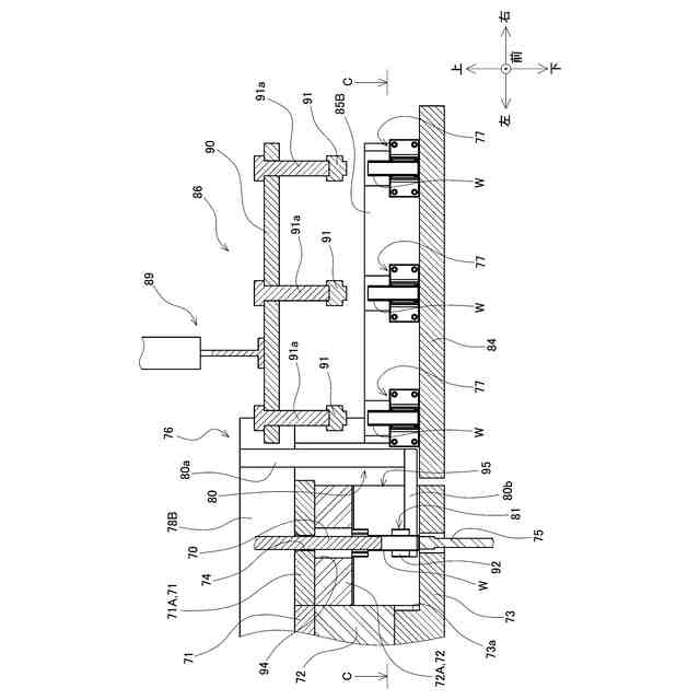
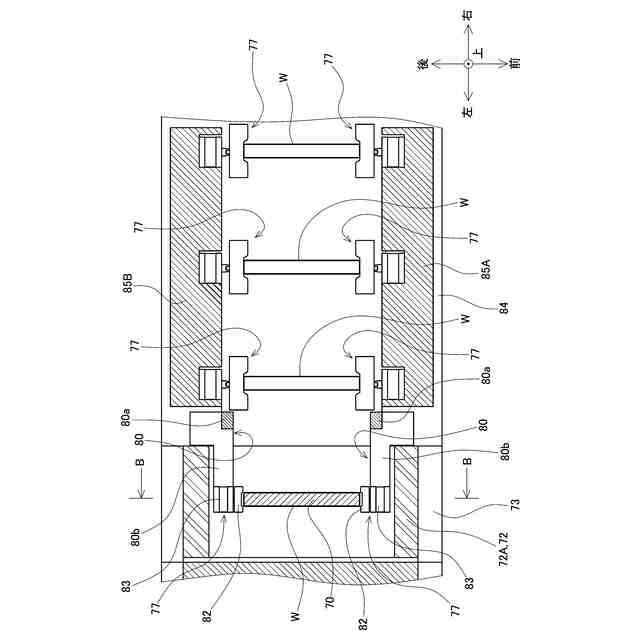
【解決手段】プレスシステムは、ダイ71およびパンチをそれぞれ有する複数のプレス加工部と、プレス加工部で加工されたワークを次工程のプレス加工部に搬送するトランスファ装置76とを備える。トランスファ装置76は、ワークの搬送方向に直交する方向の両側からワークを挟持する複数の搬送フィンガー77と、複数の搬送フィンガー77が設置されたスライドバー(78A,78B)と、スライドバー(78A,78B)を往復駆動する駆動部と、特定のダイ71Aの下側に向かってスライドバー(78A,78B)から延びるステー80と、ステー80に設置され、特定のダイ71Aの下側に移動したワークを挟持するダイ下取出用フィンガー81と、を有する。
【選択図】図2
特許請求の範囲
【請求項1】
ダイおよびパンチをそれぞれ有する複数のプレス加工部を備え、ワークに対して複数回のプレス絞り加工を行うプレスシステムであって、
前記複数のプレス加工部のうちの一のプレス加工部で加工された前記ワークを次工程のプレス加工部に向けて搬送するトランスファ装置を更に備え、
前記トランスファ装置は、
前記ワークを、当該ワークの搬送方向に対して直交する方向の両側から挟持するように設けられた複数の搬送フィンガーと、
一対で設けられ、前記搬送方向に沿って延びるとともに前記複数の搬送フィンガーが設置されたスライドバーと、
前記スライドバーを前記搬送方向に沿って往復駆動する駆動部と、
前記複数のプレス加工部のうちのいずれかのプレス加工部のダイである特定のダイの下側に向かって前記スライドバーから延びるステーと、
前記ステーに設置され、前記特定のダイの成形孔を通過して前記特定のダイの下側に移動した前記ワークを挟持するダイ下取出用フィンガーと、
を有している、
ことを特徴とするプレスシステム。
続きを表示(約 1,500 文字)
【請求項2】
前記特定のダイを有するプレス加工部は、前記特定のダイを支持する特定のダイホルダを有し、
前記特定のダイホルダには、前記ステーが挿入される開口部が設けられている、
ことを特徴とする請求項1に記載のプレスシステム。
【請求項3】
前記特定のダイホルダは、前記特定のダイを支持する枠状に形成されている、
ことを特徴とする請求項2に記載のプレスシステム。
【請求項4】
前記ステーは、前記スライドバーに固定されるとともに前記スライドバーから前記特定のダイの下方に向かって延びる部材を有している、
ことを特徴とする請求項1~請求項3のいずれか1項に記載のプレスシステム。
【請求項5】
ダイ及びダイを支持するダイホルダをそれぞれ有する前記複数のプレス加工部が載置される下ダイセットを更に備え、
前記下ダイセットには、前記複数のプレス加工部のダイホルダが載置され、
前記下ダイセットにおいては、前記特定のダイホルダが載置される部分の高さ位置が、前記特定のダイホルダを有するプレス加工部よりも前側の工程のプレス加工部のダイホルダが載置される部分の高さ位置よりも低くなるように、段差が形成されており、
前記特定のダイホルダは、当該特定のダイホルダを有するプレス加工部よりも前側の工程のプレス加工部のダイホルダと上端面の高さ位置が一致するように、当該特定のダイホルダの高さ寸法が設定されている、
ことを特徴とする請求項1~請求項3のいずれか1項に記載のプレスシステム。
【請求項6】
ダイ及びダイを支持するダイホルダをそれぞれ有する前記複数のプレス加工部が載置される下ダイセットを更に備え、
前記下ダイセットには、前記複数のプレス加工部のダイホルダが載置され、
前記特定のダイホルダは、当該特定のダイホルダを有するプレス加工部よりも前側の工程のプレス加工部のダイホルダと上端面の高さ位置が一致するように設けられ、
前記特定のダイホルダを有するプレス加工部よりも前側の工程のプレス加工部のダイホルダの高さ寸法が、前記特定のダイホルダの高さ寸法に合わせるように設定されている、
ことを特徴とする請求項1~請求項3のいずれか1項に記載のプレスシステム。
【請求項7】
ダイおよびパンチをそれぞれ有する複数のプレス加工部を備えてワークに対して複数回のプレス絞り加工を行うプレスシステムに用いられ、前記複数のプレス加工部のうちの一のプレス加工部で加工された前記ワークを次工程のプレス加工部に向けて搬送するトランスファ装置であって、
前記ワークを、当該ワークの搬送方向に対して直交する方向の両側から挟持するように設けられた複数の搬送フィンガーと、
一対で設けられ、前記搬送方向に沿って延びるとともに前記複数の搬送フィンガーが設置されたスライドバーと、
前記スライドバーを前記搬送方向に沿って往復駆動する駆動部と、
前記複数のプレス加工部のうちのいずれかのプレス加工部のダイである特定のダイの下側に向かって前記スライドバーから延びるステーと、
前記ステーに設置され、前記特定のダイの成形孔を通過して前記特定のダイの下側に移動した前記ワークを挟持するダイ下取出用フィンガーと、
を有している、
ことを特徴とするトランスファ装置。
【請求項8】
前記ステーは、前記スライドバーに固定されるとともに前記スライドバーから前記特定のダイの下方に向かって延びる部材を有している、
ことを特徴とする請求項7に記載のトランスファ装置。
発明の詳細な説明
【技術分野】
【0001】
本発明は、プレスシステム、および、プレスシステムに用いられるトランスファ装置に関する。
続きを表示(約 2,300 文字)
【背景技術】
【0002】
ダイおよびパンチをそれぞれ有する複数のプレス加工部を備えてワークに対して複数回のプレス絞り加工を行うプレスシステムが知られている。例えば、特許文献1には、複数のプレス加工部のうちの一のプレス加工部で加工されたワークを次工程のプレス加工部に向けて搬送するトランスファ装置を備えたプレスシステムが開示されている。
【0003】
特許文献1のプレスシステムおいては、複数のプレス加工部のうちの最終工程のプレス加工部のダイを通過したワークを外部に取り出すためのワーク取出装置40が備えられている。ワーク取出装置40は、固定ベース41、一対の第1可動ベース43、一対の第2可動ベース44、一対のアーム部50、ボール螺子機構60、前後駆動部63、一対の開閉駆動部52、等を備えて構成されている。なお、固定ベース41は、ラム14およびボルスタ16を支持するフレーム11に固定されてフレーム11の外側面から突出するように設けられる。一対の第1可動ベース43は、第1水平方向に移動可能に固定ベース41に支持されて第2水平方向に並べて配置される。一対の第2可動ベース44は、第2水平方向に移動可能に一対の第1可動ベース43に支持される。一対のアーム部50は、一対の第2可動ベース44から第1水平方向のボルスタ16側に延びるように設けられる。ボール螺子機構60は、第1可動ベース43および第2可動ベース44より上側で固定ベース41に支持される。前後駆動部63は、ボール螺子機構60を駆動して一対のアーム部50をフレーム11内の前進位置とフレーム11から第1水平方向に離れた後退位置とに移動する。一対の開閉駆動部52は、一対の第2ベース44に連結されて、ワークを挟持する閉位置とワークから離れた開位置とに一対のアーム部50を移動する。
【先行技術文献】
【特許文献】
【0004】
特許第6626234号明細書
【発明の概要】
【発明が解決しようとする課題】
【0005】
ところで、プレス絞り加工が行われたワークをダイの下側から取り出すことができれば、ワークをダイの下方から上方に再度通過させずに取り出すことができる。これにより、ワークがダイの下方から上方に再度通過することによってワークに疵が生じてしまうことを抑制することができる。そこで、ワークをダイの下から取り出すことができる装置構成が実現されることが望まれる。さらに好ましくは、上述のようにワークをダイの下側から取り出すことができるとともに、装置の小型化および簡素化も図れることが望まれる。
【0006】
本発明は、上記実情に鑑みてなされたものであり、ワークをダイの下側から取り出すことができるとともに、装置の小型化および簡素化を図ることができる、プレスシステム、およびトランスファ装置を提供することを目的とする。
【課題を解決するための手段】
【0007】
(1)本発明のプレスシステムは、
ダイおよびパンチをそれぞれ有する複数のプレス加工部を備え、ワークに対して複数回のプレス絞り加工を行うプレスシステムであって、
前記複数のプレス加工部のうちの一のプレス加工部で加工された前記ワークを次工程のプレス加工部に向けて搬送するトランスファ装置を更に備え、
前記トランスファ装置は、
前記ワークを、当該ワークの搬送方向に対して直交する方向の両側から挟持するように設けられた複数の搬送フィンガーと、
一対で設けられ、前記搬送方向に沿って延びるとともに前記複数の搬送フィンガーが設置されたスライドバーと、
前記スライドバーを前記搬送方向に沿って往復駆動する駆動部と、
前記複数のプレス加工部のうちのいずれかのプレス加工部のダイである特定のダイの下側に向かって前記スライドバーから延びるステーと、
前記ステーに設置され、前記特定のダイの成形孔を通過して前記特定のダイの下側に移動した前記ワークを挟持するダイ下取出用フィンガーと、
を有している、
ことを特徴とする。
【0008】
上記(1)に記載のプレスシステムによれば、ワークを挟持する複数の搬送フィンガーが設置されて往復駆動されるスライドバーに設けられたステーが特定のダイの下側に向かって延びている。そして、ステーに、特定のダイの下側に移動したワークを挟持するダイ下取出用フィンガーが設けられている。このため、特定のダイを通過したワークをダイ下取出用フィンガーで挟持してスライドバーを駆動することで、特定のダイの下側からワークを取り出すことができる。そして、上記(1)に記載のプレスシステムによれば、トランスファ装置のスライドバーにスライドバーから特定のダイの下側に延びるステーを設け、ステーにダイ下取出用フィンガーを設置した小型で簡素な機構によって、特定のダイの下側からワークを取り出すことができる。
【0009】
以上のとおり、上記(1)に記載のプレスシステムによれば、ワークをダイの下側から取り出すことができるとともに、装置の小型化および簡素化を図ることができる。
【0010】
(2)本発明のプレスシステムにおいて、
前記特定のダイを有するプレス加工部は、前記特定のダイを支持する特定のダイホルダを有し、
前記特定のダイホルダには、前記ステーが挿入される開口部が設けられている、
ようにするとより好ましい。
(【0011】以降は省略されています)
この特許をJ-PlatPat(特許庁公式サイト)で参照する
関連特許
冨士発條株式会社
プレスシステム、およびトランスファ装置
2か月前
日機装株式会社
加圧装置
5か月前
株式会社ヨコオ
製造装置
5か月前
日機装株式会社
加圧システム
6か月前
大同工業株式会社
高温成形用金型
3か月前
住友重機械工業株式会社
プレス装置
5か月前
住友重機械工業株式会社
プレス装置
4か月前
日本発條株式会社
加工油供給方法及び装置
3か月前
株式会社石垣
スクリュープレスの外筒スクリーン洗浄方法
3か月前
株式会社西田製作所
工具ヘッドと据置台との組み合わせ
5か月前
株式会社ジェイテクトフルードパワーシステム
加圧パンチ装置
4か月前
いすゞ自動車株式会社
成形装置
1か月前
株式会社合同資源
金属ヨウ化物錠剤の製造方法
6か月前
株式会社金陽社
熱プレス用緩衝材
1か月前
大同特殊鋼株式会社
連続式真空ホットプレス装置
1か月前
株式会社ディムコ
ガイドユニットを備えるダブルベルトプレス装置
4か月前
住友重機械工業株式会社
プレス装置及びプレス装置の配管工程
3か月前
トヨタ自動車株式会社
ロールプレス装置
18日前
冨士発條株式会社
プレスシステム、およびトランスファ装置
2か月前
株式会社SGIC
加熱ブロック及びダブルベルトプレス
5か月前
UBEマシナリー株式会社
押出プレス装置の支援システム
3か月前
株式会社石垣
スクリュープレスにおける目詰まり防止機構及びそれを用いた目詰まり防止方法
5か月前
アイダエンジニアリング株式会社
プレス機械及びプレス機械の操作支援方法
1か月前
株式会社KMC
監視システム、センサープレート及び通信制御ユニット
1か月前
ノリタケ株式会社
ロールコンパクション成形装置およびロールコンパクション成形用搬送装置
11日前
住友重機械工業株式会社
プレス装置、診断装置、プレス装置の健全性診断方法及び健全性診断プログラム
6か月前
フェッテ コンパクティング ゲーエムベーハー
回転式プレス機のペレットをプレス試験する方法。
6か月前
学校法人金沢工業大学
加工機械の制御方法、加工機械の制御装置及び制御プログラム
5か月前
コマツ産機株式会社
プレス機械の金型用の予知保全システム及び予知保全のための方法
22日前
株式会社放電精密加工研究所
機械学習装置、情報処理装置、推論装置、機械学習方法、情報処理方法、及び、推論方法
今日
株式会社JKB
順送プレス加工方法及びその加工システム
1か月前
フェッテ コンパクティング ゲーエムベーハー
回転プレス機でペレットをテストプレスする方法および回転プレス機
5か月前
フェック ライニッシュ ゲゼルシャフト ミット ベシュレンクテル ハフツング
プレス工具及びプレスプレートの製造方法
1か月前
フェック ライニッシュ ゲゼルシャフト ミット ベシュレンクテル ハフツング
プレス工具及びプレスプレートの製造方法
1か月前
フィースラー・エレクトロニク・ゲゼルシャフト・ミト・ベシュレンクテル・ハフツング・ウント・コンパニー・コマンデイトゲゼルシャフト
保護装置、曲げ機械及び曲げ機械の動作方法
5か月前
アライドコーヒーロースターズ株式会社
ペレット製造装置及びペレットの製造方法
3か月前
続きを見る
他の特許を見る