TOP
|
特許
|
意匠
|
商標
特許ウォッチ
Twitter
他の特許を見る
公開番号
2025077098
公報種別
公開特許公報(A)
公開日
2025-05-19
出願番号
2023189037
出願日
2023-11-06
発明の名称
スクリュープレスにおける目詰まり防止機構及びそれを用いた目詰まり防止方法
出願人
株式会社石垣
代理人
主分類
B30B
9/14 20060101AFI20250512BHJP(プレス)
要約
【課題】脱水運転時のスクリーン底面の位置を順次変更することで局所的な目詰まりの発生を防止できるスクリュープレスにおける目詰まり防止機構及びそれを用いた目詰まり防止方法を提供する。
【解決手段】
回転自在な外筒スクリーン5内にスクリュー羽根6を周設したスクリュー軸7を設けたスクリュープレス1において、スクリュー軸7と一体的に回転し、軸心から放射方向に突出するラチェット爪15aを有するスクリュー軸端板17と、ラチェット爪15aの回転圏内に位置するストッパー16aを設けると共に軸心から放射方向に突出するラチェット爪15bを有する外筒スクリーン端板18と、ラチェット爪15bの回転圏内に位置する複数のストッパー16b…と、各ストッパー16bがラチェット爪15bの押圧力を受けて外方に揺動したことを検知する検知装置26を有することで、スクリーン底面の位置を変更可能となるため、局所的な目詰まりが発生しない。
【選択図】図3
特許請求の範囲
【請求項1】
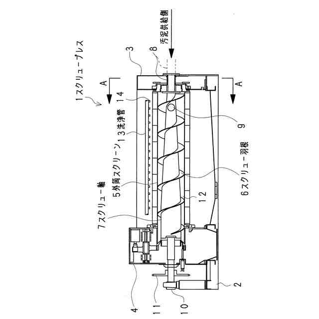
回転自在に支架した外筒スクリーン(5)にスクリュー羽根(6)を巻き掛けたスクリュー軸(7)を内設し、スクリュー軸(7)の回転によって始端側に供給された原液を終端側に向かって搬送しながらろ過脱水するとともに、洗浄流体を洗浄管(13)からスクリーン面に噴射して外筒スクリーン(5)に付着した汚泥を除去するスクリュープレスにおいて、
スクリュー軸(7)と一体的に回転し、スクリュー軸(7)の中心から放射方向に突出したラチェット爪(15a)と、
ラチェット爪(15a)の回転軌道に位置し、脱水運転時にラチェット爪(15a)の押圧力にて外方に揺動するとともに、外筒スクリーン洗浄時にラチェット爪(15a)が係止して外筒スクリーン(5)をスクリュー軸(7)と一体的に回転させるストッパー(16a)と、
外筒スクリーン(5)と一体的に回転し、外筒スクリーン(5)の中心から放射方向に突出したラチェット爪(15b)と、
ラチェット爪(15b)の回転軌道に位置し、脱水運転時にラチェット爪(15b)が係止して外筒スクリーン(5)の回転を阻害するとともに、外筒スクリーン洗浄時にラチェット爪(15b)の押圧力にて外方に揺動する複数のストッパー(16b…)と、
ストッパー(16b)がラチェット爪(15b)の押圧力を受けて外方に揺動したことを検知する検知装置(26)と、を有する
ことを特徴とするスクリュープレスにおける目詰まり防止機構。
続きを表示(約 780 文字)
【請求項2】
前記スクリュー軸(7)は、
スクリュー軸端板(17)を始端部に連結させ、スクリュー軸端板(17)から突出したラチェット爪(15a)を一体的に回転させる
ことを特徴とする請求項1に記載のスクリュープレスにおける目詰まり防止機構。
【請求項3】
前記外筒スクリーン(5)は、
端部に外筒スクリーン端板(18)を連結し、外筒スクリーン端板(18)に設けたストッパー(16a)にラチェット爪(15a)が係止した状態で外筒スクリーン端板(18)から突出したラチェット爪(15b)を一体的に回転させる
ことを特徴とする請求項2に記載のスクリュープレスにおける目詰まり防止機構。
【請求項4】
前記検知装置(26)は、
各ストッパー(16b…)に設けられ、外筒スクリーン洗浄時に押圧力を受けて外方に押し上げられる検知体(24)及び検知体(24)を検知する接触式または非接触式の検知スイッチ(25)で構成した
ことを特徴とする請求項3に記載のスクリュープレスにおける目詰まり防止機構。
【請求項5】
前記請求項1から請求項4までのいずれか一項に記載のスクリュープレスにおける目詰まり防止機構を用いて、
外筒スクリーン洗浄時に、各ストッパー(16b…)がラチェット爪(15b)の押圧力を受けたことを検知装置(26)で検知し、予め定めたストッパー(16b)が押圧力を受けたことを検知した時にスクリュー軸(7)の回転を停止させ、
脱水運転時に、ラチェット爪(15b)を所望のストッパー(16b)に係止させ、外筒スクリーン(5)のスクリーン底面(28)の位置を変更可能とする
ことを特徴とするスクリュープレスにおける目詰まり防止方法。
発明の詳細な説明
【技術分野】
【0001】
本発明は、外筒スクリーンの目詰まりを防止する技術に関し、特に、スクリーン洗浄後のスクリーン底面の位置を変更することで脱水運転時に局所的な目詰まりが発生しないスクリュープレスにおける目詰まり防止機構及びそれを用いた目詰まり防止方法に関する。
続きを表示(約 2,100 文字)
【背景技術】
【0002】
従来、下水、し尿、あるいは食品生産加工排水等の有機性汚泥を濃縮・脱水するスクリュープレスは一般的に知られている。例えば、特許文献1には、多数の微細孔を有する円筒状の外筒スクリーン内に螺旋羽根を巻き掛けたスクリュー軸を回転自在に設置し、スクリュー軸の一端に供給された原液を他端に向かって搬送しながらろ過脱水するスクリュープレスが開示してある。特許文献1に開示されたスクリュープレスは、1つの駆動装置を用いてスクリュー軸及びスクリーンを回転させる技術であり、脱水運転時にはスクリュー軸のみ反時計回りに回転し、スクリーン洗浄時には時計回りに回転するスクリュー軸に伴ってスクリーンが共回りする機構となっている。
【先行技術文献】
【特許文献】
【0003】
特許第2868146号公報
【発明の概要】
【発明が解決しようとする課題】
【0004】
従来、スクリュープレスのろ過脱水はスクリーンの全面で行われるが、ろ過圧力として、内圧に加えて重力が発生する。特に、内圧及び重力を受けるスクリーンの底面はろ過面の目詰まりが進行しやすいという課題を有していた。特許文献1のスクリュープレスは、図3に示すように、スクリーン他端側の端板に設けたラチェット爪がスクリーン端板に設けたストッパーに係止した状態でスクリーンが停止する構成となっており、ラチェット爪が係止するストッパーが1か所のみに設けられているため、スクリーン停止時のろ過底面の位置は毎回同じ箇所となる。この状態で脱水運転が繰り返し行われるため、スクリーン底面に局所的に目詰まりが生じていた。
【0005】
本発明は、外筒スクリーンに連結された外筒スクリーン端板にラチェット爪を設けるとともに、ラチェット爪を係止させるストッパーを複数設置して、スクリーン停止時のろ過底面の位置を適宜変更できる構成としたことで、脱水運転時に局所的な目詰まりが発生することを防止できるスクリュープレスにおける目詰まり防止機構及びそれを用いた目詰まり防止方法を提供する。
【課題を解決するための手段】
【0006】
本発明は、回転自在に支架した外筒スクリーンにスクリュー羽根を巻き掛けたスクリュー軸を内設し、スクリュー軸の回転によって始端側に供給された原液を終端側に向かって搬送しながらろ過脱水するとともに、洗浄流体を洗浄管からスクリーン面に噴射して外筒スクリーンに付着した汚泥を除去するスクリュープレスにおいて、スクリュー軸と一体的に回転し、スクリュー軸の中心から放射方向に突出したラチェット爪と、ラチェット爪の回転軌道に位置し、脱水運転時にラチェット爪の押圧力にて外方に揺動するとともに、外筒スクリーン洗浄時にラチェット爪が係止して外筒スクリーンをスクリュー軸と一体的に回転させるストッパーと、外筒スクリーンと一体的に回転し、外筒スクリーンの中心から放射方向に突出したラチェット爪と、ラチェット爪の回転軌道に位置し、脱水運転時にラチェット爪が係止して外筒スクリーンの回転を阻害するとともに、外筒スクリーン洗浄時にラチェット爪の押圧力にて外方に揺動する複数のストッパーと、ストッパーがラチェット爪の押圧力を受けて外方に揺動したことを検知する検知装置と、を有することで、外筒スクリーン洗浄終了時に外筒スクリーン底面の位置を適宜変更できる。
【0007】
前記スクリュー軸は、スクリュー軸端板を始端部に連結させ、スクリュー軸端板から突出したラチェット爪を一体的に回転させることで、脱水運転時にスクリュー軸端板のラチェット爪が回転できる。
【0008】
前記外筒スクリーンは、端部に外筒スクリーン端板を連結し、外筒スクリーン端板に設けたストッパーにラチェット爪が係止した状態で外筒スクリーン端板から突出したラチェット爪を一体的に回転させることで、外筒スクリーン洗浄時に外筒スクリーン端板のラチェット爪が回転できる。
【0009】
前記検知装置は、各ストッパーに設けられ、外筒スクリーン洗浄時に押圧力を受けて外方に押し上げられる検知体及び検知体を検知する接触式または非接触式の検知スイッチで構成したことで、外筒スクリーン洗浄時におけるラチェット爪の位置を把握できる。
【0010】
前記スクリュープレスにおける目詰まり防止機構を用いて、外筒スクリーン洗浄時に、各ストッパーがラチェット爪の押圧力を受けたことを検知装置で検知し、予め定めたストッパーが押圧力を受けたことを検知した時にスクリュー軸の回転を停止させ、脱水運転時に、ラチェット爪を所望のストッパーに係止させ、外筒スクリーンのスクリーン底面の位置を変更可能とすることで、脱水運転時に外筒スクリーンに局所的な目詰まりが発生しないため、安定的にろ過運転を行うことができる。
【発明の効果】
(【0011】以降は省略されています)
この特許をJ-PlatPat(特許庁公式サイト)で参照する
関連特許
株式会社石垣
スクリュープレスの制御方法
2か月前
株式会社石垣
汚泥性状予測方法及び汚泥性状一定制御方法
25日前
日機装株式会社
加圧装置
5か月前
株式会社ヨコオ
製造装置
5か月前
日機装株式会社
加圧システム
6か月前
トヨタ紡織株式会社
プレス装置
6か月前
大同工業株式会社
高温成形用金型
4か月前
住友重機械工業株式会社
プレス装置
5か月前
住友重機械工業株式会社
プレス装置
4か月前
日本発條株式会社
加工油供給方法及び装置
3か月前
株式会社石垣
スクリュープレスの外筒スクリーン洗浄方法
3か月前
株式会社西田製作所
工具ヘッドと据置台との組み合わせ
5か月前
株式会社ジェイテクトフルードパワーシステム
加圧パンチ装置
4か月前
いすゞ自動車株式会社
成形装置
1か月前
株式会社合同資源
金属ヨウ化物錠剤の製造方法
6か月前
大同特殊鋼株式会社
連続式真空ホットプレス装置
1か月前
株式会社金陽社
熱プレス用緩衝材
1か月前
株式会社ディムコ
ガイドユニットを備えるダブルベルトプレス装置
4か月前
住友重機械工業株式会社
プレス装置及びプレス装置の配管工程
3か月前
トヨタ自動車株式会社
ロールプレス装置
21日前
冨士発條株式会社
プレスシステム、およびトランスファ装置
2か月前
株式会社SGIC
加熱ブロック及びダブルベルトプレス
5か月前
UBEマシナリー株式会社
押出プレス装置の支援システム
3か月前
日伸工業株式会社
プレス加工システム及びプレス加工装置
今日
株式会社石垣
スクリュープレスにおける目詰まり防止機構及びそれを用いた目詰まり防止方法
5か月前
アイダエンジニアリング株式会社
プレス機械及びプレス機械の操作支援方法
1か月前
ノリタケ株式会社
ロールコンパクション成形装置およびロールコンパクション成形用搬送装置
14日前
株式会社KMC
監視システム、センサープレート及び通信制御ユニット
1か月前
住友重機械工業株式会社
プレス装置、診断装置、プレス装置の健全性診断方法及び健全性診断プログラム
6か月前
フェッテ コンパクティング ゲーエムベーハー
回転式プレス機のペレットをプレス試験する方法。
6か月前
学校法人金沢工業大学
加工機械の制御方法、加工機械の制御装置及び制御プログラム
5か月前
コマツ産機株式会社
プレス機械の金型用の予知保全システム及び予知保全のための方法
25日前
株式会社放電精密加工研究所
機械学習装置、情報処理装置、推論装置、機械学習方法、情報処理方法、及び、推論方法
3日前
株式会社JKB
順送プレス加工方法及びその加工システム
1か月前
フェッテ コンパクティング ゲーエムベーハー
回転プレス機でペレットをテストプレスする方法および回転プレス機
5か月前
フェック ライニッシュ ゲゼルシャフト ミット ベシュレンクテル ハフツング
プレス工具及びプレスプレートの製造方法
1か月前
続きを見る
他の特許を見る