TOP
|
特許
|
意匠
|
商標
特許ウォッチ
Twitter
他の特許を見る
公開番号
2025085909
公報種別
公開特許公報(A)
公開日
2025-06-06
出願番号
2023199613
出願日
2023-11-27
発明の名称
プレス装置
出願人
住友重機械工業株式会社
代理人
個人
,
個人
主分類
B30B
15/28 20060101AFI20250530BHJP(プレス)
要約
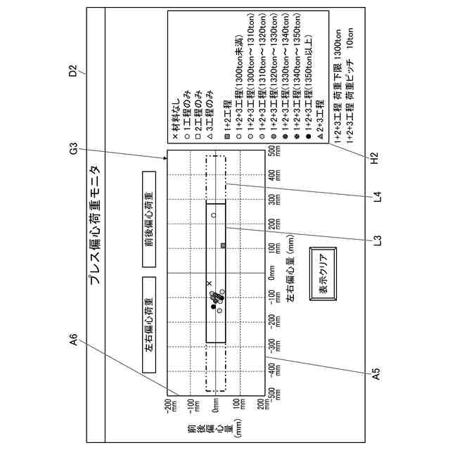
【課題】成形動作時にスライドに加わる荷重の偏心量が、様々な観点から有用な情報となることを見出した。本発明は、成形処理に関して有用な情報をユーザが認識しやすいプレス装置を提供する。
【解決手段】プレス装置は、被成形材料に荷重を加えるスライドと、スライドに作用する偏心荷重の偏心量をプロットにより表示する表示部と、を備える。
【選択図】図4
特許請求の範囲
【請求項1】
被成形材料に荷重を加えるスライドと、
前記スライドに作用する偏心荷重の偏心量をプロットにより表示する表示部と、
を備えるプレス装置。
続きを表示(約 700 文字)
【請求項2】
前記表示部は、成形条件に応じて異なる態様のプロットにより、前記偏心量を表示する、
請求項1記載のプレス装置。
【請求項3】
前記表示部は、前記スライドの左右方向、前後方向、又は、これら両方向における偏心量を前記プロットにより表示する、
請求項1記載のプレス装置。
【請求項4】
前記成形条件は、1つ又は複数の金型に含まれる複数のキャビティのいずれに被成形材料が投入されているかを示す材料状態、前記スライドに加えられる総合荷重、前記スライドの下端位置の調整量、前記スライドの降下速度のいずれか1つ又は複数を含む、
請求項2記載のプレス装置。
【請求項5】
複数回の成形動作が繰り返し実行される間、前記表示部は、成形動作ごとに前記プロットの表示を追加していく、
請求項1記載のプレス装置。
【請求項6】
前記表示部は、左右方向の偏心量を表わす第1軸と、前記スライドに加えられる総合荷重を表わす第2軸と、を有する二次元グラフに前記プロットを表示する、
請求項3記載のプレス装置。
【請求項7】
前記表示部は、前後方向の偏心量を表わす第3軸と、前記スライドに加えられる総合荷重を表わす第4軸と、を有する二次元グラフに前記プロットを表示する、
請求項3記載のプレス装置。
【請求項8】
前記表示部は、左右方向の偏心量を表わす第5軸と、前後方向の偏心量を表わす第6軸と、を有する二次元グラフに前記プロットを表示する、
請求項3記載のプレス装置。
発明の詳細な説明
【技術分野】
【0001】
本発明は、プレス装置に関する。
続きを表示(約 1,000 文字)
【背景技術】
【0002】
特許文献1には、スライドに加わる荷重の偏心量を測定するプレス装置について記載されている。当該プレス装置は、荷重が偏心量に応じた制限値を超えた場合に異常情報を出力する。
【先行技術文献】
【特許文献】
【0003】
特開2016-209887号公報
【発明の概要】
【発明が解決しようとする課題】
【0004】
本発明者らは、成形動作時にスライドに加わる荷重の偏心量が、様々な観点から有用な情報となることを見出した。本発明は、成形処理に関して有用な情報をユーザが認識しやすいプレス装置を提供することを目的とする。
【課題を解決するための手段】
【0005】
本発明は、
被成形材料に荷重を加えるスライドと、
前記スライドに作用する偏心荷重の偏心量をプロットにより表示する表示部と、
を備えるプレス装置である。
【発明の効果】
【0006】
本発明によれば、成形処理に関する有用な情報をユーザが認識しやすいという効果が得られる。
【図面の簡単な説明】
【0007】
本発明の実施形態に係るプレス装置を示す図である。
偏心量の算出方法の一例を説明するための図である。
実施形態に係るプレス装置の表示制御構成を示すブロック図である。
実施形態1の偏心量表示を示す画像図である。
実施形態2の偏心量表示を示す画像図である。
実施形態3の偏心量表示を示す画像図である。
制御部により実行される偏心量表示処理の手順を示すフローチャートである。
【発明を実施するための形態】
【0008】
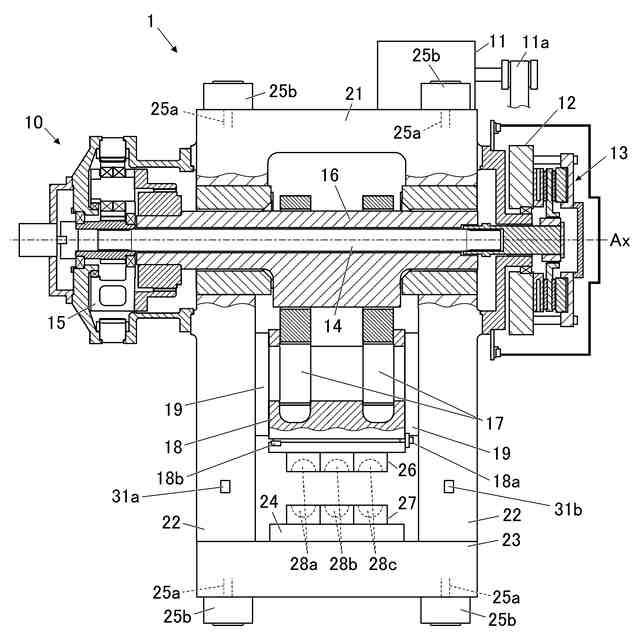
以下、本発明の実施形態について図面を参照して詳細に説明する。図1は、本発明の実施形態に係るプレス装置を示す図である。
【0009】
本実施形態に係るプレス装置1は、鍛造成形を行う装置であり、ベッド23、アップライト22、クラウン21、ボルスタ24、スライド18、駆動部10を備える。
【0010】
ベッド23、アップライト22及びクラウン21は、プレス装置1のフレーム部を構成する。これらベッド23、アップライト22及びクラウン21は、その内部にタイロッド25aが挿入され、タイロッドナット25bにより締め付けられることで、互いに締結される。
(【0011】以降は省略されています)
この特許をJ-PlatPat(特許庁公式サイト)で参照する
関連特許
株式会社ヨコオ
製造装置
5か月前
日機装株式会社
加圧装置
5か月前
日機装株式会社
加圧システム
6か月前
株式会社ササキコーポレーション
圧縮装置
7か月前
株式会社ササキコーポレーション
圧縮装置
7か月前
トヨタ紡織株式会社
プレス装置
6か月前
大同工業株式会社
高温成形用金型
4か月前
住友重機械工業株式会社
プレス装置
5か月前
住友重機械工業株式会社
プレス装置
4か月前
日本発條株式会社
加工油供給方法及び装置
3か月前
株式会社石垣
スクリュープレスの外筒スクリーン洗浄方法
3か月前
株式会社西田製作所
工具ヘッドと据置台との組み合わせ
5か月前
株式会社ジェイテクトフルードパワーシステム
加圧パンチ装置
4か月前
いすゞ自動車株式会社
成形装置
1か月前
株式会社合同資源
金属ヨウ化物錠剤の製造方法
6か月前
大同特殊鋼株式会社
連続式真空ホットプレス装置
1か月前
株式会社金陽社
熱プレス用緩衝材
1か月前
株式会社ディムコ
ガイドユニットを備えるダブルベルトプレス装置
4か月前
住友重機械工業株式会社
プレス装置及びプレス装置の配管工程
3か月前
トヨタ自動車株式会社
ロールプレス装置
19日前
冨士発條株式会社
プレスシステム、およびトランスファ装置
2か月前
株式会社SGIC
加熱ブロック及びダブルベルトプレス
5か月前
UBEマシナリー株式会社
押出プレス装置の支援システム
3か月前
株式会社石垣
スクリュープレスにおける目詰まり防止機構及びそれを用いた目詰まり防止方法
5か月前
アイダエンジニアリング株式会社
プレス機械及びプレス機械の操作支援方法
1か月前
株式会社KMC
監視システム、センサープレート及び通信制御ユニット
1か月前
ノリタケ株式会社
ロールコンパクション成形装置およびロールコンパクション成形用搬送装置
12日前
住友重機械工業株式会社
プレス装置、診断装置、プレス装置の健全性診断方法及び健全性診断プログラム
6か月前
フェッテ コンパクティング ゲーエムベーハー
回転式プレス機のペレットをプレス試験する方法。
6か月前
学校法人金沢工業大学
加工機械の制御方法、加工機械の制御装置及び制御プログラム
5か月前
コマツ産機株式会社
プレス機械の金型用の予知保全システム及び予知保全のための方法
23日前
株式会社放電精密加工研究所
機械学習装置、情報処理装置、推論装置、機械学習方法、情報処理方法、及び、推論方法
1日前
株式会社JKB
順送プレス加工方法及びその加工システム
1か月前
フェッテ コンパクティング ゲーエムベーハー
回転プレス機でペレットをテストプレスする方法および回転プレス機
5か月前
フェック ライニッシュ ゲゼルシャフト ミット ベシュレンクテル ハフツング
プレス工具及びプレスプレートの製造方法
1か月前
フェック ライニッシュ ゲゼルシャフト ミット ベシュレンクテル ハフツング
プレス工具及びプレスプレートの製造方法
1か月前
続きを見る
他の特許を見る