TOP
|
特許
|
意匠
|
商標
特許ウォッチ
Twitter
他の特許を見る
公開番号
2025158415
公報種別
公開特許公報(A)
公開日
2025-10-17
出願番号
2024060926
出願日
2024-04-04
発明の名称
燃料電池スタック
出願人
トヨタ紡織株式会社
代理人
個人
,
個人
主分類
H01M
8/2404 20160101AFI20251009BHJP(基本的電気素子)
要約
【課題】発電効率を一層向上させることができる燃料電池スタックを提供する。
【解決手段】燃料電池スタックは、発電部と、発電部を挟持するアノード側セパレータ30及びカソード側セパレータ40とを備える単セルを複数積層して形成されている。アノード側セパレータと、他の単セルのカソード側セパレータとの間には、冷却水が流れる流路部19とガスケット50とが設けられている。ガスケットは、環状の本体部51と、本体部の内周面から流路部に突出するとともに本体部の内周側に向けて冷却水の流れを案内する案内突部52とを有する。アノード側セパレータ及び他の単セルのカソード側セパレータには、互いに近づくように突出する第1リブ31及び第2リブ41が本体部に対して内周側に隣り合ってそれぞれ設けられている。第1リブ及び第2リブは、互いに交差して延在している。
【選択図】図6
特許請求の範囲
【請求項1】
発電部と、前記発電部を挟持する第1セパレータ及び第2セパレータとを備える単セルを複数積層して形成される燃料電池スタックであって、
前記第1セパレータの前記発電部側の面には、前記発電部に対して第1反応ガスを供給する第1ガス流路が設けられており、
前記第2セパレータの前記発電部側の面には、前記発電部に対して第2反応ガスを供給する第2ガス流路が設けられており、
前記第1セパレータと、前記第1セパレータに積層される他の前記単セルの前記第2セパレータとの間には、前記発電部を冷却する冷却水を供給する供給側マニホールドと前記冷却水を排出する排出側マニホールドとの間に位置するとともに前記冷却水が流れる流路部と、前記供給側マニホールド、前記流路部、及び前記排出側マニホールドを取り囲むガスケットと、が設けられており、
前記ガスケットは、環状の本体部と、前記本体部の内周面から前記流路部に突出するとともに前記本体部の内周側に向けて前記冷却水の流れを案内する案内突部と、を有し、
前記第1セパレータ及び前記他の前記単セルの前記第2セパレータには、互いに接するように突出する第1リブ及び第2リブが前記本体部に対して内周側に隣り合ってそれぞれ設けられており、
前記第1リブ及び前記第2リブは、互いに交差して延在している、
燃料電池スタック。
続きを表示(約 760 文字)
【請求項2】
前記単セルの積層方向に直交する方向であり、前記供給側マニホールドと前記排出側マニホールドとの並び方向に直交する方向を幅方向とするとき、
前記第1リブ及び前記第2リブは、前記並び方向及び前記幅方向の双方に対してそれぞれ傾斜して延在している、
請求項1に記載の燃料電池スタック。
【請求項3】
前記第1リブ及び前記第2リブは、前記単セルの積層方向に直交する方向であり、前記供給側マニホールドと前記排出側マニホールドとの並び方向において前記案内突部よりも前記供給側マニホールド側に設けられている、
請求項1または請求項2に記載の燃料電池スタック。
【請求項4】
前記第1リブ及び前記第2リブは、前記並び方向において前記案内突部よりも前記排出側マニホールド側に設けられている、
請求項3に記載の燃料電池スタック。
【請求項5】
前記第1セパレータと前記第2セパレータとは、同一形状を有しており、
前記積層方向に直交する方向であり、前記並び方向に直交する方向を幅方向とするとき、
前記案内突部は、前記並び方向において前記第1セパレータの中間位置に設けられるとともに、前記幅方向に沿って突出している、
請求項4に記載の燃料電池スタック。
【請求項6】
前記第1セパレータ及び前記他の前記単セルの前記第2セパレータには、互いに接するように突出する第1補助リブ及び第2補助リブがそれぞれ設けられており、
前記第1補助リブ及び前記第2補助リブは、前記第1リブ及び前記第2リブと前記案内突部との間に位置するとともに、前記幅方向に沿って延在している、
請求項5に記載の燃料電池スタック。
発明の詳細な説明
【技術分野】
【0001】
本発明は、燃料電池スタックに関する。
続きを表示(約 2,300 文字)
【背景技術】
【0002】
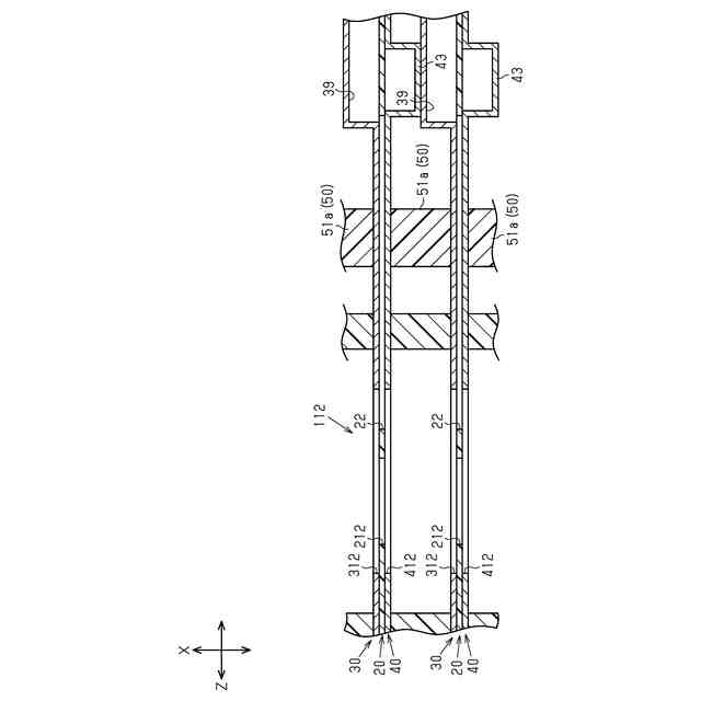
固体高分子形燃料電池は、単セルが複数積層されることにより構成される燃料電池スタックを備える。単セルは、発電部である膜電極接合体と、膜電極接合体を取り囲む枠部材と、膜電極接合体及び枠部材を挟持するアノード側セパレータ及びカソード側セパレータとを備える。
【0003】
アノード側セパレータと、同アノード側セパレータに積層される他の単セルのカソード側セパレータとの間には、冷却水が流れる流路部が形成されている。
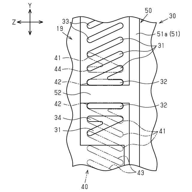
こうした燃料電池のセパレータとしては、例えば特許文献1に記載の燃料電池セパレータがある。特許文献1に記載の燃料電池セパレータには、冷却水が導入される冷却水入口マニホールドと、冷却水が流れる流路部と、同流路部からの冷却水が排出される冷却水出口マニホールドとが設けられている。冷却水出口マニホールドは、上記流路部を挟んで冷却水入口マニホールドとは反対側に配置されている。流路部の周囲には、互いに隣り合う2つのセパレータ同士の間をシールする環状のシール材が設けられている。また、上記シール材の内周面には、シール材の内周側に突出する端部流れ防止片が設けられている。端部流れ防止片により、流路部のうち冷却水入口マニホールドから冷却水出口マニホールドに流れる冷却水がシール材の近傍を流れること、所謂脇流れが抑制される。これにより、発電部の冷却効率を高めることができる。
【先行技術文献】
【特許文献】
【0004】
特開2009-252469号公報
【発明の概要】
【発明が解決しようとする課題】
【0005】
ところで、燃料電池スタックにおいては、発電部の冷却効率を一層向上させることで発電効率を一層向上させることが求められている。
【課題を解決するための手段】
【0006】
上記課題を解決するための燃料電池スタックは、発電部と、前記発電部を挟持する第1セパレータ及び第2セパレータとを備える単セルを複数積層して形成される燃料電池スタックであって、前記第1セパレータの前記発電部側の面には、前記発電部に対して第1反応ガスを供給する第1ガス流路が設けられており、前記第2セパレータの前記発電部側の面には、前記発電部に対して第2反応ガスを供給する第2ガス流路が設けられており、前記第1セパレータと、前記第1セパレータに積層される他の前記単セルの前記第2セパレータとの間には、前記発電部を冷却する冷却水を供給する供給側マニホールドと前記冷却水を排出する排出側マニホールドとの間に位置するとともに前記冷却水が流れる流路部と、前記供給側マニホールド、前記流路部、及び前記排出側マニホールドを取り囲むガスケットと、が設けられており、前記ガスケットは、環状の本体部と、前記本体部の内周面から前記流路部に突出するとともに前記本体部の内周側に向けて前記冷却水の流れを案内する案内突部と、を有し、前記第1セパレータ及び前記他の前記単セルの前記第2セパレータには、互いに接するように突出する第1リブ及び第2リブが前記本体部に対して内周側に隣り合ってそれぞれ設けられており、前記第1リブ及び前記第2リブは、互いに交差して延在している。
【0007】
同構成によれば、供給側マニホールドから流路部に流入した冷却水のうちガスケットの本体部の近傍における冷却水の流れが、案内突部により本体部の内周側に向けて案内される。これにより、流路部のうち案内突部よりも下流側においては、ガスケットの本体部の近傍を冷却水が流れにくくなるとともに、本体部から内周側に離れた部分、すなわち発電部に近く、発電部の冷却への寄与度の高い部分を冷却水が流れやすくなる。また、本体部の近傍に配置された第1リブ及び第2リブが、本体部の近傍における冷却水の流れの妨げとなる。これにより、ガスケットの本体部の近傍を冷却水が流れにくくなるとともに、本体部から内周側に離れた部分、すなわち発電部に近く、発電部の冷却への寄与度の高い部分を冷却水が流れやすくなる。これらのことから、発電部の冷却効率を向上させることができる。
【0008】
また上記構成によれば、単セルの積層方向と直交する面方向において第1セパレータ及び他の単セルの第2セパレータの位置ずれが生じても、第1リブ及び第2リブが互いに交差して延在しているため、第1リブと第2リブとが接した状態が維持されやすくなる。このため、第1セパレータと他の単セルの第2セパレータとの間の面圧が確保されやすくなる。これにより、第1反応ガスが第1ガス流路に沿って発電部に流れやすくなるとともに、第2反応ガスが第2ガス流路に沿って発電部に流れやすくなるので、発電部に対して反応ガスが好適に供給されるようになる。
【0009】
したがって、発電効率を一層向上させることができる。
【図面の簡単な説明】
【0010】
図1は、一実施形態に係る燃料電池スタックを構成する2つの単セルを互いに離間して示す斜視図である。
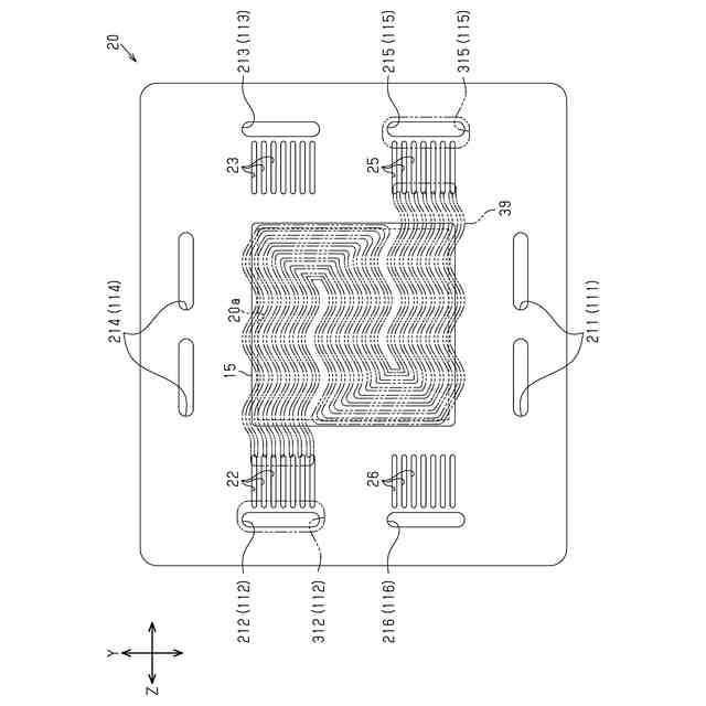
図2は、単セルを構成するアノード側セパレータ、発電部が接合された枠部材、及びカソード側セパレータを互いに離間して示す斜視図である。
図3は、発電部が接合された枠部材の平面図である。
図4は、ガスケットが接着された状態のアノード側セパレータの平面図である。
図5は、図2の5-5線に沿った断面図である。
図6は、図4の要部を拡大して示す平面図である。
【発明を実施するための形態】
(【0011】以降は省略されています)
この特許をJ-PlatPat(特許庁公式サイト)で参照する
関連特許
トヨタ紡織株式会社
乗物用シート
7日前
トヨタ紡織株式会社
乗物用シート
7日前
トヨタ紡織株式会社
カップホルダー
16日前
トヨタ紡織株式会社
乗物用照明装置
6日前
トヨタ紡織株式会社
乗物用シート装置
20日前
トヨタ紡織株式会社
燃料電池スタック
6日前
トヨタ紡織株式会社
燃料電池の単セル
7日前
トヨタ紡織株式会社
シート制御システム
9日前
トヨタ紡織株式会社
繊維状複合体の製造方法
14日前
トヨタ紡織株式会社
繊維状複合体の製造方法
14日前
トヨタ紡織株式会社
熱可塑性樹脂組成物の製造方法
14日前
豊田合成株式会社
車両用投影装置
1日前
豊田合成株式会社
車両用照明装置
1日前
トヨタ紡織株式会社
熱可塑性樹脂組成物及びその製造方法
14日前
トヨタ紡織株式会社
繊維状物質及びその製造方法並びに粉体
14日前
トヨタ紡織株式会社
繊維状複合体及びその製造方法並びに粉体
14日前
トヨタ紡織株式会社
燃料電池用セパレータ及び燃料電池の単セル
20日前
トヨタ紡織株式会社
熱可塑性樹脂組成物及びその製造方法並びに成形体
14日前
トヨタ紡織株式会社
パーティション装置、パーティションシステム、及び制御装置
6日前
トヨタ紡織株式会社
燃料電池用セパレータの製造装置及び燃料電池用セパレータの製造方法
7日前
東ソー株式会社
絶縁電線
1日前
個人
フレキシブル電気化学素子
13日前
ローム株式会社
半導体装置
20日前
ローム株式会社
半導体装置
22日前
ローム株式会社
半導体装置
15日前
ローム株式会社
半導体装置
今日
日新イオン機器株式会社
イオン源
9日前
ローム株式会社
半導体装置
22日前
ローム株式会社
半導体装置
22日前
株式会社ユーシン
操作装置
13日前
株式会社ホロン
冷陰極電子源
20日前
太陽誘電株式会社
コイル部品
13日前
株式会社GSユアサ
蓄電装置
20日前
株式会社GSユアサ
蓄電設備
13日前
株式会社GSユアサ
蓄電設備
13日前
個人
半導体パッケージ用ガラス基板
23日前
続きを見る
他の特許を見る