TOP
|
特許
|
意匠
|
商標
特許ウォッチ
Twitter
他の特許を見る
公開番号
2025049743
公報種別
公開特許公報(A)
公開日
2025-04-04
出願番号
2023158115
出願日
2023-09-22
発明の名称
成形装置
出願人
日立Astemo株式会社
代理人
弁理士法人桐朋
主分類
B22D
17/22 20060101AFI20250327BHJP(鋳造;粉末冶金)
要約
【課題】キャビティから中子を抜出するために駆動されるアクチュエータを小型化した成形装置を提供する。
【解決手段】第1方向D1に開閉可能であるとともに閉状態において成形製品の外側形状に対応する形状を有するキャビティ12Cを形成する金型12と、成形製品の内側形状に対応する形状を有し、キャビティ内に配置される中子16と、金型の開動作に起因して生ずる第2方向D2の力を中子に結合された結合部材26に伝達させることで中子を移動させる伝達機構22と、伝達機構による中子の移動後に駆動され、結合部材を介して中子をさらに移動させるアクチュエータ24と、を備える。
【選択図】図3
特許請求の範囲
【請求項1】
第1方向に開閉可能であるとともに閉状態において成形製品の外側形状に対応する形状を有するキャビティを形成する金型と、
前記成形製品の内側形状に対応する形状を有し、前記キャビティ内に配置される中子と、
前記金型の開動作に起因して生ずる第2方向の力を前記中子に結合された結合部材に伝達させることで前記中子を移動させる伝達機構と、
前記伝達機構による前記中子の移動後に駆動され、前記結合部材を介して前記中子をさらに移動させるアクチュエータと、
を備える、成形装置。
続きを表示(約 1,400 文字)
【請求項2】
請求項1に記載の成形装置であって、
前記伝達機構は、前記アクチュエータに連結されるとともに、前記金型の前記開動作に連動して前記アクチュエータとともに前記第2方向に沿って移動するスライドブロックを備え、
前記結合部材および前記アクチュエータが前記スライドブロックとともに前記第2方向に沿って移動することにより、前記金型の前記開動作に起因して生ずる前記第2方向の力が前記中子を移動させる、成形装置。
【請求項3】
請求項2に記載の成形装置であって、
前記伝達機構は、前記第1方向の成分と前記第2方向の成分とを含む第3方向に延在する傾斜ピンをさらに備え、
前記傾斜ピンは、前記スライドブロックに穿孔されている傾斜孔に挿通され、
前記金型の前記開動作が行われる場合、前記傾斜ピンは、前記傾斜孔の内表面に当接しつつ、前記金型とともに前記スライドブロックに対して前記第1方向に相対移動することで、前記スライドブロックに力を加え、
前記スライドブロックは、前記傾斜ピンから加えられる力の前記第2方向の成分に応じて移動される、成形装置。
【請求項4】
請求項2に記載の成形装置であって、
前記アクチュエータは、シリンダを含み、
前記シリンダは、前記スライドブロックに連結される基部と、前記結合部材に結合される先端部とを有するとともに、前記基部と前記先端部との間隔を前記第2方向に沿って伸縮させることが可能であり、
前記結合部材は、前記シリンダの前記先端部側に結合され、前記アクチュエータの移動または前記シリンダの伸縮動作に応じて前記第2方向に沿って移動する第1の結合部材と、
前記第1の結合部材に結合されるリンケージアームと、
前記リンケージアームと結合され、前記第1の結合部材の前記第2方向に沿った移動に応じて回動する回動部材と、
をさらに備え、
前記中子は、前記回動部材に取り付けられており、前記回動部材の回動に応じて移動する、成形装置。
【請求項5】
請求項2に記載の成形装置であって、
前記アクチュエータは、シリンダを含み、
前記シリンダは、前記スライドブロックに連結される基部と、前記結合部材に結合される先端部とを有するとともに、前記基部と前記先端部との間隔を前記第2方向に沿って伸縮させることが可能であり、
前記結合部材は、前記シリンダの前記先端部側に結合され、前記アクチュエータの移動または前記シリンダの伸縮動作に応じて前記第2方向に沿って移動するラックギアを備え、
前記中子は、前記ラックギアと噛合する複数の歯を有し、前記ラックギアの前記第2方向に沿った移動に応じて回動する回動部材に取り付けられており、前記回動部材の回動に応じて移動する、成形装置。
【請求項6】
請求項4または5に記載の成形装置であって、
前記結合部材は、前記シリンダの伸長に応じて前記スライドブロックと係合可能な係合部を含み、
前記スライドブロックが前記第2方向に移動することによって、前記係合部を介して、前記スライドブロックから前記結合部材に前記第2方向の力が伝達される、成形装置。
発明の詳細な説明
【技術分野】
【0001】
本開示は、成形装置に関する。
続きを表示(約 1,300 文字)
【背景技術】
【0002】
金型と、中子と、回動部材とを備える成形装置が、特許文献1には開示されている。その開示によれば、回動部材は中子を回転させる。これにより、金型のキャビティに中子が挿抜される。成形装置によって成形される成形製品には、キャビティ内に配置された中子の形状に応じた中空形状が付与される。
【先行技術文献】
【特許文献】
【0003】
特許第5864778号公報
【発明の概要】
【発明が解決しようとする課題】
【0004】
キャビティ内に配置されている中子を当該キャビティから抜出するためには、キャビティ内において中子に密着している成形製品から中子を引き剥がすことに足りる相当に大きな力が必要である。このような事情に起因して、キャビティから中子を抜出するために駆動されるアクチュエータを小型化することは困難である、という課題がある。
【0005】
本発明は、上述した課題を解決することを目的とする。
【課題を解決するための手段】
【0006】
本発明の一態様は、金型の開動作に起因して生ずる第2方向の力を中子に結合された結合部材に伝達させることで前記中子を移動させる伝達機構を備える、成形装置である。
【発明の効果】
【0007】
本発明によれば、金型のキャビティから中子を抜出するために駆動されるアクチュエータを小型化することができる。
【図面の簡単な説明】
【0008】
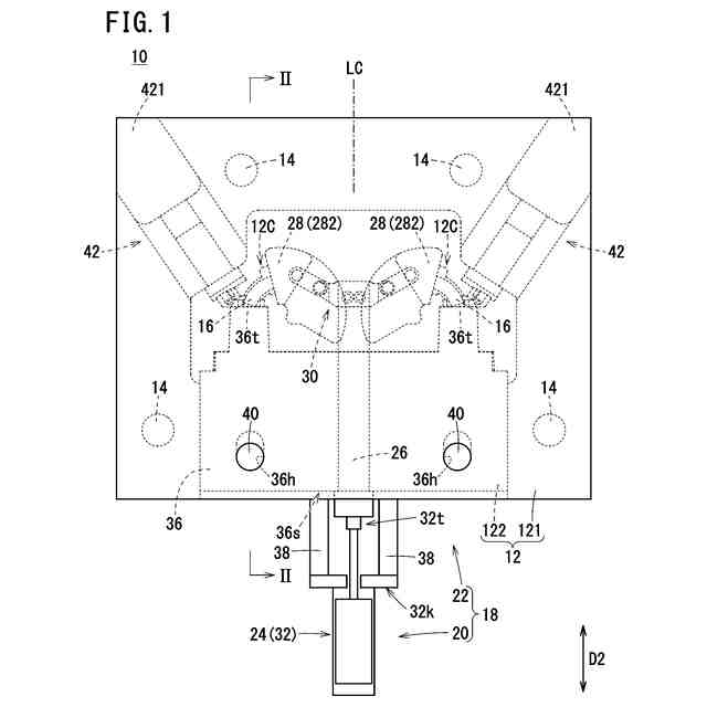
図1は、一実施形態に係る成形装置の平面図である。
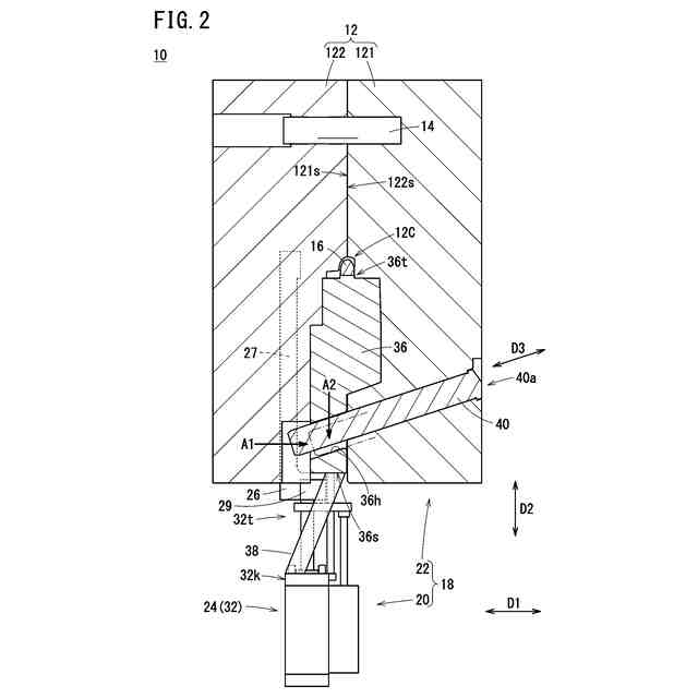
図2は、成形装置の一部を示す断面図である。
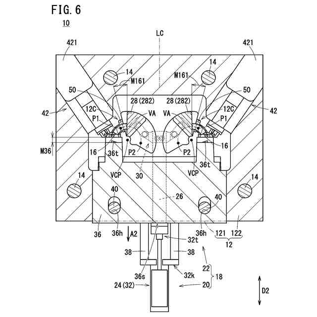
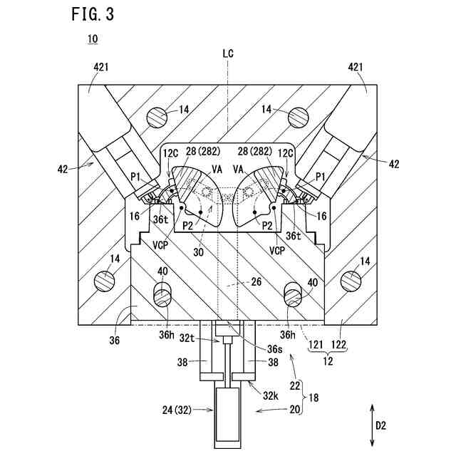
図3は、成形装置の一部を示す平面図である。
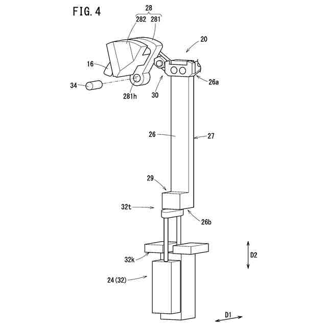
図4は、成形装置に備えられる中子駆動部と、中子駆動部に結合された中子とを示す斜視図である。
図5は、成形装置を用いた製品の成形方法を例示するフローチャートである。
図6は、型開き工程の実行中における中子駆動装置と中子とを示す平面図である。
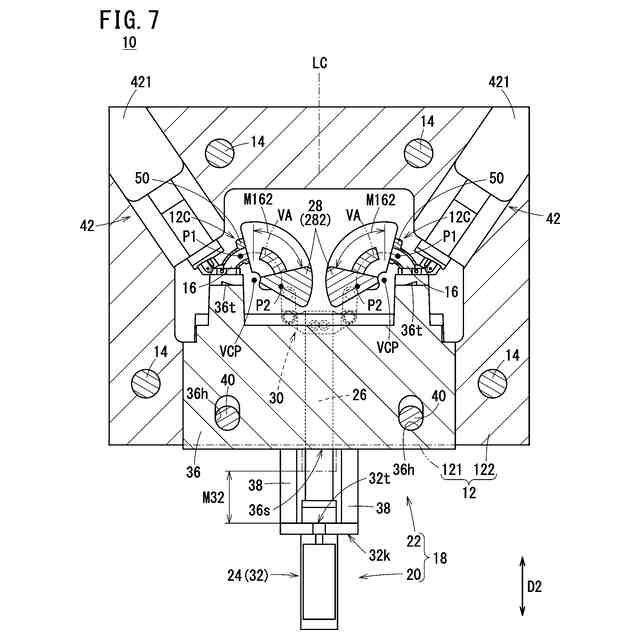
図7は、中子抜出工程の実行が完了した状態における中子駆動装置と中子とを示す平面図である。
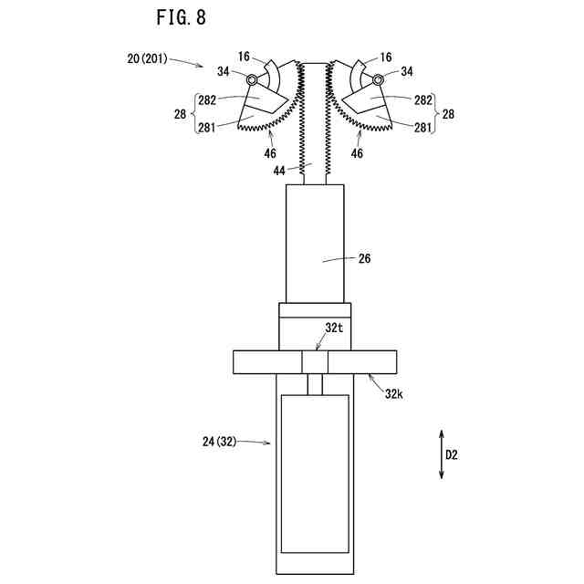
図8は、変形例1に係る中子駆動部の平面図である。
【発明を実施するための形態】
【0009】
(一実施形態)
図1は、一実施形態に係る成形装置10の平面図である。図2は、成形装置10の一部を示す断面図である。図1のII-II線断面の一部が、図2には示されている。
【0010】
成形装置10は、中空形状の成形製品50(図6、図7も参照)を成形ないし鋳造する装置である。本実施形態では、自動二輪車用の内燃機関に備えられるインレットパイプが成形製品50として成形される場合を説明する。インレットパイプの形状は、例えば湾曲した筒状である。なお、図1に示すように、成形装置10は、成形装置10の中心線LCを対称軸として、概ね線対称の形状を有し得る。そこで、以下の説明においては、特に断らない限り、成形装置10のうちの一方側に主に着目する。
(【0011】以降は省略されています)
この特許をJ-PlatPat(特許庁公式サイト)で参照する
関連特許
個人
鋼の連続鋳造用鋳型
1か月前
個人
ピストンの低圧鋳造金型
5か月前
トヨタ自動車株式会社
押湯入子
1か月前
友鉄工業株式会社
錫プレート成形方法
14日前
大阪硅曹株式会社
無機中子用水性塗型剤
1か月前
株式会社プロテリアル
合金粉末の製造方法
5か月前
山石金属株式会社
ガスアトマイズ装置
1か月前
トヨタ自動車株式会社
中子の製造方法
2か月前
芝浦機械株式会社
成形機
7か月前
芝浦機械株式会社
射出装置及び成形機
1か月前
トヨタ自動車株式会社
中子の製造方法
2か月前
トヨタ自動車株式会社
鋳バリ抑制方法
5か月前
芝浦機械株式会社
成形機
7か月前
株式会社キャステム
鋳造品の製造方法
5か月前
山石金属株式会社
ガスアトマイズ装置
1か月前
トヨタ自動車株式会社
鋳物砂の再生方法
2か月前
株式会社浅沼技研
鋳型及びその製造方法
6か月前
株式会社日本触媒
窒素被覆金属粒子の製造方法
3か月前
トヨタ自動車株式会社
ケースの製造方法
3か月前
旭有機材株式会社
鋳型の製造方法
2か月前
株式会社日本高熱工業社
潤滑剤塗布装置
7か月前
トヨタ自動車株式会社
突き折り棒
4か月前
株式会社プロテリアル
金属付加製造物の製造方法
6か月前
株式会社プロテリアル
金属付加製造物の製造方法
1か月前
愛知製鋼株式会社
継ぎ目なし管の製造方法
29日前
大同特殊鋼株式会社
鋼塊の製造方法
6か月前
トヨタ自動車株式会社
金型冷却構造
4か月前
日本製鉄株式会社
Al脱酸鋼の連続鋳造方法
5か月前
株式会社豊田中央研究所
積層造形装置
3か月前
福田金属箔粉工業株式会社
Cu系粉末
3か月前
株式会社神戸製鋼所
炭素-銅含有粉末
4か月前
住友金属鉱山株式会社
金粉の製造方法
12日前
デザインパーツ株式会社
冷却装置及び冷却方法
7か月前
日立Astemo株式会社
成形装置
6か月前
ポーライト株式会社
焼結部品の製造方法
3か月前
artience株式会社
接合用ペースト、及び接合体
2か月前
続きを見る
他の特許を見る