TOP
|
特許
|
意匠
|
商標
特許ウォッチ
Twitter
他の特許を見る
10個以上の画像は省略されています。
公開番号
2025062800
公報種別
公開特許公報(A)
公開日
2025-04-15
出願番号
2023172070
出願日
2023-10-03
発明の名称
船舶用筒型舵
出願人
山陽造船企業株式会社
代理人
個人
,
個人
主分類
B63H
25/38 20060101AFI20250408BHJP(船舶またはその他の水上浮揚構造物;関連艤装品)
要約
【課題】従来の舵に比べて格段に大きな舵力と旋回モーメントを発生する船舶用筒型舵を提供する。
【解決手段】
推進器軸(7)を有する円弧枠(3)及び円弧枠(3)の一対の端縁(4,5)を接続する弦板(6)を有するD形断面の外枠(2)と、外枠(2)の弦板(6)を船舶の船底に回転可能に取り付ける舵軸(10)とを船舶用筒型舵に設け、外枠(2)が形成する円筒状領域を、船舶の推進器が形成する推進領域から推進器軸(7)に沿って完全に離間して、舵軸(10)周りに外枠(2)を回転して、推進器軸(7)に対する外枠(2)の舵角が変更される。
【選択図】図1
特許請求の範囲
【請求項1】
円弧枠及び円弧枠の一対の端縁を接続する弦板を有しかつ推進器軸に沿って配置されるD形断面の外枠と、
外枠の弦板を船舶の船底に回転可能に取り付ける舵軸とを備え、
外枠が形成する円筒状領域は、船舶の推進器が形成する推進領域から推進器軸に沿って離間し、
舵軸周りに外枠を回転して、推進器軸に対する外枠の舵角が変更されることを特徴とする船舶用筒型舵。
続きを表示(約 980 文字)
【請求項2】
推進器は、スクリュープロペラ、ウォータジェット推進器、フォイトシュナイダープロペラ又はポッドプロペラから選択される請求項1に記載の船舶用筒型舵。
【請求項3】
船舶を推進する推進器は、スクリュープロペラであり、
スクリュープロペラの後方に、筒型舵の外枠と舵軸とを船舶に取り付けた請求項2に記載の船舶用筒型舵。
【請求項4】
外枠の底壁と弦板とにリブが推進器軸に沿って固定され、リブの後縁には、軸筒が垂直に固定され、軸筒内には移動軸が配置される請求項1に記載の船舶用筒型舵。
【請求項5】
外枠の後面又は前面に取り付けられる操板装置を備え、
操板装置は、外枠の舵軸から離間してかつ舵軸と平行にかつ回転可能に取り付けられる揺動軸と、外枠の後面又は前面に取り付けられる移動軸と、移動軸とに回転可能に取り付けられる板舵とを備える請求項1に記載の船舶用筒型舵。
【請求項6】
外枠の底壁と弦板とにリブが推進器軸に沿って固定され、
移動軸は、外枠の後面にリブと平行に取り付けられる請求項1に記載の船舶用筒型舵。
【請求項7】
揺動軸は、板舵が固定される連結管と、連結管に対し伸縮自在に接続される伸縮杆とに連結され、
揺動軸の回転により、連結杆と伸縮杆は、推進器軸に対する角度を変更して、板舵は、移動軸周りに揺動して、推進器軸に対する角度を変更する請求項5に記載の船舶用筒型舵。
【請求項8】
板舵の上端は、連結管に固定され、
外枠のリブは、円筒ブラケットを有し、
舵板は、円筒ブラケット内に配置される移動軸周りに回転する請求項7に記載の船舶用筒型舵。
【請求項9】
外枠、リブ及び移動軸は、舵軸の回転と共に回転すると同時に、舵板は、移動軸周りに揺動する請求項8に記載の船舶用筒型舵。
【請求項10】
縦軸周りに舵軸を回転すると、外枠と移動軸とは、舵軸と共に同一角度で回転すると共に、舵軸周りの移動軸の公転と自転とにより、連結管に対し伸縮杆が伸縮して、板舵は、舵軸の回転角度に対応する角度で傾斜する請求項1に記載の船舶用筒型舵。
(【請求項11】以降は省略されています)
発明の詳細な説明
【技術分野】
【0001】
本発明は、高舵力と高旋回モーメントを発生する操舵性に優れる船舶用筒型舵に関連する。
続きを表示(約 2,500 文字)
【背景技術】
【0002】
下記特許文献1は、ヒンジ軸により舵板の後部に回転可能に連結したフラップ板を上ヒンジ軸と下ヒンジ軸とに分割して、各ヒンジ軸をフラップ板の前部に固設するベッカーラダーを示す。ベッカーラダーは、上ヒンジ軸を舵板に設けた上部軸受けによりラジアル荷重とスラスト荷重を受けて、フラップ板を回転自在に支持すると共に、下ヒンジ軸を同じく舵板に設けた下部軸受けによりラジアル荷重を受けて、フラップ板を回転自在に支持する構造を有する。上部及び下部軸受けで上下ヒンジ軸を支持してフラップ板のラジアル荷重とスラスト荷重を支持するベッカーラダーは、個別の支持構造と複雑な構造の上下部軸受けを要しない利点がある。
【0003】
特許文献2は、壁を形成して船のプロペラを包囲するノズルリングを備え、垂直軸線を中心に回転可能に構成されるルドウィッヒ・コルトが開発したコルトノズルを示す。コルトノズルの円筒壁の直径上実質的に対角位置に設けられる少なくとも二つの開口は、内側と外側の開口領域を有する。コルトノズルは、船長手方向軸線に対しどの角度位置でも再循環又は渦巻の発生を回避又は減少して全てを一様な流動パターンに形成して、再循環流又は渦巻の発生を阻止する利点がある。
【0004】
特許文献3は、下端渦流制御板を設ける舵板の舵下端面の舵板の長手方向コード長を下端舵長さとし、舵下端面の前端の後方の下端舵長さの5%以上でかつ15%以下の範囲を下端第1領域とする船舶用舵を示す。この船舶用舵は、舵下端面の最後端の前方の下端舵長さの5%以上でかつ50%以下の範囲を下端第2領域とし、下端渦流制御板の前端を下端第1領域内に配置すると共に、下端渦流制御板の後端を下端第2領域内に配置し、下端渦流制御板の長手方向の少なくとも80%以上で、下端渦流制御板の幅を、その前後位置の舵下端面の舵幅の5%以上でかつ30%以下にして下端渦流制御板を形成する構造を有する。また、プロペラの先端部回転円の最上端部分に設ける上側水流制御板により、プロペラ先端からの先端渦(チップボルテックス)で乱水流を整流して、舵板の表面に流すので、舵板の舵力を増加しかつ舵板の抵抗力を減少する利点があり、上側水流制御板自体の小さい抵抗により、舵全体の抵抗力を減少して推進力を増大する。
【先行技術文献】
【特許文献】
【0005】
特許第3769708号公報
特許第5184907号公報
特許第6643404号公報
【発明の概要】
【発明が解決しようとする課題】
【0006】
ところで、本発明者は、従来提案されなかった画期的な船舶用筒型舵を開発した。新規な船舶用筒型舵は、従来の舵に比べて格段に大きな舵力と旋回モーメントを発生して、操舵性を改善すると共に、種々の優れた後述の作用効果を生ずる。
【課題を解決するための手段】
【0007】
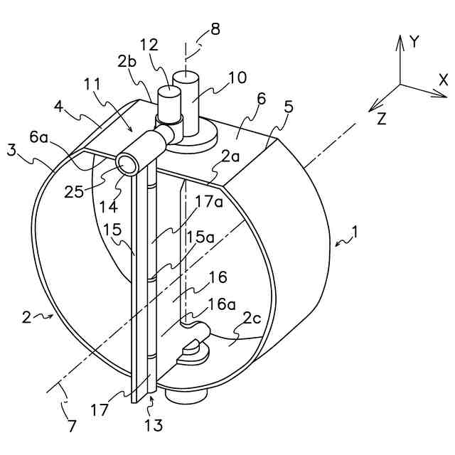
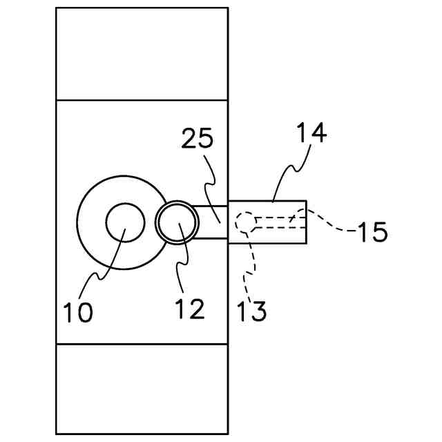
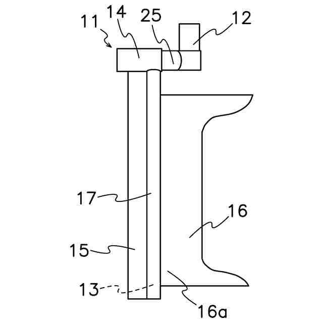
本発明の船舶用筒型舵(1)は、円弧枠(3)及び円弧枠(3)の一対の端縁(4,5)を接続する弦板(6)を有しかつ推進器軸(7)に沿って配置されるD形断面の外枠(2)と、外枠(2)の弦板(6)を船体の底部に回転可能に取り付ける舵軸(10)とを備える。外枠(2)が形成する円筒状領域は、船舶の推進器が形成する推進領域から推進器軸(7)に沿って離間し、舵軸(10)周りに外枠(2)を回転して、推進器軸(7)に対する外枠(2)の舵角が変更される。
【発明の効果】
【0008】
船舶の推進器の推進領域から推進器軸(7)に離間して艤装されるD形断面の外枠(2)を備える本発明の船舶用筒型舵(1)は、下記利点を有する。
(1) 従来の平板状舵より有効面積の大きいD形断面、即ち筒状の外枠(2)を有する本発明の筒型舵(1)は、高舵力を発生する。
(2) 船体重心から舵中心までの大きい距離X
R
と高揚力F
N
との積で表される船体旋回モーメントN
R
も大きく、小旋回半径で船舶航路を迅速かつ容易に変更する。
(3) 推進器後方の主水流は、筒型舵(1)の外枠(2)を通過して常に整流されるため、船舶の推進エネルギ損失が少ない。
【図面の簡単な説明】
【0009】
添付図面は、下記を示す。
本発明の船舶用筒型舵の斜視図
図1に示す船舶用筒型舵の断面図
船舶用筒型舵に取り付ける操板装置の側面図
船舶用筒型舵と推進器との関係を示す斜視図
船底に回転可能に取り付けられる外枠と揺動軸とを示す平面図
舵角0度の図5から舵角35度に回転した外枠を示す平面図
操舵時の船体の旋回移動と舵に作用する種々の力の力学図
数値解析試験に使用した本発明の船舶用筒型舵の寸法を示す側面図
数値解析試験に使用した比較舵Iの寸法を示す側面図
数値解析試験に使用した比較舵IIの寸法を示す側面図
【発明を実施するための形態】
【0010】
添付図面に示す本発明の船舶用筒型舵の実施の形態を以下説明する。
図1及び図2に示すように、本発明の船舶用筒型舵(1)は、円弧枠(3)及び円弧枠(3)の一対の端縁(4,5)を接続する弦板(6)を有しかつ推進器軸(スクリュープロペラ軸)(7)に沿って配置されるD形断面の外枠(2)と、縦軸(8)に沿って外枠(2)の弦板(6)を水平面上で船底に回転可能に取り付ける舵軸(10)とを備える。船体の後方底部に回転可能に取り付けられて船舶を航行する図4の推進器、即ちスクリュープロペラ(30)から後方に一定距離離間して、筒型舵(1)の舵軸(10)は、船底からの縦軸(8)の周りに回転(揺動)可能に取り付けられる。筒型舵(1)に隣接してスクリュープロペラ(30)が取り付けられる。
(【0011】以降は省略されています)
特許ウォッチbot のツイートを見る
この特許をJ-PlatPat(特許庁公式サイト)で参照する
関連特許
山陽造船企業株式会社
船舶用筒型舵
5か月前
個人
水上遊具
4か月前
個人
川下り用船
10か月前
個人
洋上研究所
2か月前
個人
発電船
11か月前
個人
津波防災ウエア
1か月前
個人
船用横揺防止具
8か月前
個人
補助機構
6か月前
個人
コンパクトシティ船
6か月前
個人
渦流動力推進構造
6か月前
個人
セールのバテンガイド装置
3か月前
炎重工株式会社
浮標
9か月前
個人
水質浄化・集熱昇温システム
3か月前
炎重工株式会社
浮標
9か月前
住友重機械工業株式会社
船舶
3か月前
炎重工株式会社
移動体
12か月前
株式会社ラフティ
サーフボード
3か月前
個人
船舶
9か月前
個人
スクリュープロペラ
6か月前
株式会社フルトン
水中捕捉装置
7か月前
オーケー工業株式会社
係留フック
7か月前
個人
回転式による流体流出防止タンカー
6か月前
スズキ株式会社
船外機
6か月前
スズキ株式会社
船外機
5か月前
常石造船株式会社
メタノール燃料船
10か月前
株式会社アカデミー出版
船舶
2か月前
スズキ株式会社
船外機
6か月前
スズキ株式会社
船外機
5か月前
ヤマハ発動機株式会社
船外機
9か月前
朝日電装株式会社
船外機用照明装置
2か月前
株式会社神戸タフ興産
船舶の甲板構造
10か月前
藤倉コンポジット株式会社
架台
9か月前
炎重工株式会社
自律航行浮遊体
9か月前
ナブテスコ株式会社
主機制御システム
12日前
株式会社ユピテル
システム及びプログラム等
6か月前
スズキ株式会社
船舶推進機
4か月前
続きを見る
他の特許を見る