TOP特許意匠商標
特許ウォッチ Twitter
10個以上の画像は省略されています。
公開番号2025001996
公報種別公開特許公報(A)
公開日2025-01-09
出願番号2023101851
出願日2023-06-21
発明の名称浮標
出願人炎重工株式会社
代理人個人,個人
主分類B63B 22/00 20060101AFI20241226BHJP(船舶またはその他の水上浮揚構造物;関連艤装品)
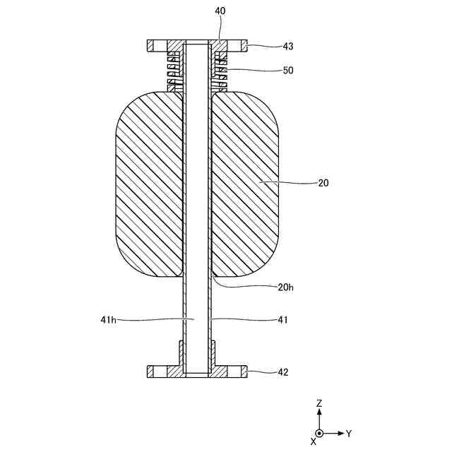
要約【課題】本開示は、姿勢の変動を抑制する浮標を提供する。
【解決手段】貫通孔を有する浮体と、前記貫通孔を貫通し、水中に位置する第1端部と、空中に位置する第2端部と、を有する支柱と、前記浮体と前記支柱との間に設けられ、前記支柱を前記第2端部の側に押す弾性部材と、を備える浮標。
【選択図】図1

特許請求の範囲【請求項1】
貫通孔を有する浮体と、
前記貫通孔を貫通し、水中に位置する第1端部と、空中に位置する第2端部と、を有する支柱と、
前記浮体と前記支柱との間に設けられ、前記支柱を前記第2端部の側に押す弾性部と、
を備える、
浮標。
続きを表示(約 660 文字)【請求項2】
前記第2端部に接続される上部と、
前記第1端部に接続される下部と、
を備える、
請求項1に記載の浮標。
【請求項3】
前記浮体の位置を検出する位置検出部と、
前記浮体を移動させる推進力を発生する推進部と、
前記位置検出部が検出した前記位置が、予め定められた範囲内になるように前記推進部を制御する制御部と、
を更に備える、
請求項2に記載の浮標。
【請求項4】
前記位置検出部は、全球測位衛星システムにより測位し、
前記位置検出部は、前記上部に設けられるアンテナに接続する、
請求項3に記載の浮標。
【請求項5】
前記下部にカメラを備える、
請求項3に記載の浮標。
【請求項6】
複数の前記推進部を備える、
請求項3に記載の浮標。
【請求項7】
前記下部に、バッテリを収納するバッテリ収納ボックスを備える、
請求項2から請求項6のいずれか一項に記載の浮標。
【請求項8】
前記上部に、発光部を備える、
請求項2から請求項6のいずれか一項に記載の浮標。
【請求項9】
ロープが結びつけられる結合部を備える、
請求項1から請求項6のいずれか一項に記載の浮標。
【請求項10】
外部と通信する通信部を備える、
請求項1から請求項6のいずれか一項に記載の浮標。

発明の詳細な説明【技術分野】
【0001】
本開示は、浮標に関する。
続きを表示(約 1,100 文字)【背景技術】
【0002】
海上での工事を行う際に、工事区域を明示するために浮標を海上に設置する場合がある(例えば、特許文献1)。
【先行技術文献】
【特許文献】
【0003】
特開2014-117980号公報
【発明の概要】
【発明が解決しようとする課題】
【0004】
浮標は、波の影響により姿勢が大きく変動する場合があった。
【0005】
本開示は、姿勢の変動を抑制する浮標を提供する。
【課題を解決するための手段】
【0006】
本開示は、貫通孔を有する浮体と、前記貫通孔を貫通し、水中に位置する第1端部と、空中に位置する第2端部と、を有する支柱と、前記浮体と前記支柱との間に設けられ、前記支柱を前記第2端部の側に押す弾性部材と、を備える浮標である。
【発明の効果】
【0007】
本開示の浮標によれば、姿勢の変動を抑制できる。
【図面の簡単な説明】
【0008】
図1は、本実施形態に係る浮標の斜視図である。
図2は、本実施形態に係る浮標の正面図である。
図3は、本実施形態に係る浮標における浮体及び接続部について説明するための分解斜視図である。
図4は、本実施形態に係る浮標における浮体及び接続部について説明するための断面図である。
図5は、本実施形態に係る浮標における機能構成を示す図である。
図6は、本実施形態に係る浮標における使用状態を示す図である。
図7は、本実施形態に係る浮標の使用例について説明する図である。
図8は、本実施形態の変形例に係る浮標の斜視図である。
図9は、本実施形態の変形例に係る浮標の正面図である。
図10は、本実施形態の変形例に係る浮標における制御部の機能構成を示す図である。
【発明を実施するための形態】
【0009】
本実施例に係る浮標の具体例を、以下に図面を参照しながら説明する。なお、本開示はこれらの例示に限定されるものではなく、特許請求の範囲によって示され、特許請求の範囲と均等の意味及び範囲内でのすべての変更が含まれることが意図される。
【0010】
なお、各実施形態に係る明細書及び図面の記載に関して、実質的に同一の又は対応する機能を有する構成要素については、同一の符号を付することにより重複した説明を省略する場合がある。また、理解を容易にするために、図面における各部の縮尺は、実際とは異なる場合がある。
(【0011】以降は省略されています)

この特許をJ-PlatPat(特許庁公式サイト)で参照する

関連特許

炎重工株式会社
水中カメラ及び水中カメラの製造方法
3か月前
個人
水上遊具
4か月前
個人
川下り用船
10か月前
個人
洋上研究所
2か月前
個人
発電船
11か月前
個人
津波防災ウエア
1か月前
個人
補助機構
7か月前
個人
船用横揺防止具
8か月前
個人
コンパクトシティ船
7か月前
個人
渦流動力推進構造
6か月前
個人
セールのバテンガイド装置
3か月前
炎重工株式会社
浮標
9か月前
個人
水質浄化・集熱昇温システム
3か月前
炎重工株式会社
浮標
9か月前
住友重機械工業株式会社
船舶
3か月前
炎重工株式会社
移動体
12か月前
株式会社フルトン
水中捕捉装置
7か月前
個人
船舶
9か月前
株式会社ラフティ
サーフボード
3か月前
個人
スクリュープロペラ
6か月前
個人
回転式による流体流出防止タンカー
7か月前
オーケー工業株式会社
係留フック
7か月前
スズキ株式会社
船外機
6か月前
スズキ株式会社
船外機
5か月前
スズキ株式会社
船外機
5か月前
スズキ株式会社
船外機
6か月前
朝日電装株式会社
船外機用照明装置
2か月前
常石造船株式会社
メタノール燃料船
10か月前
ヤマハ発動機株式会社
船外機
9か月前
株式会社アカデミー出版
船舶
2か月前
ナブテスコ株式会社
主機制御システム
16日前
株式会社神戸タフ興産
船舶の甲板構造
10か月前
藤倉コンポジット株式会社
架台
9か月前
株式会社ユピテル
システム及びプログラム等
6か月前
炎重工株式会社
自律航行浮遊体
9か月前
個人
発光手段を備えたライフジャケット
5か月前
続きを見る