TOP
|
特許
|
意匠
|
商標
特許ウォッチ
Twitter
他の特許を見る
公開番号
2025069567
公報種別
公開特許公報(A)
公開日
2025-05-01
出願番号
2023179362
出願日
2023-10-18
発明の名称
船外機
出願人
スズキ株式会社
代理人
個人
,
個人
,
個人
主分類
B63H
20/14 20060101AFI20250423BHJP(船舶またはその他の水上浮揚構造物;関連艤装品)
要約
【課題】シフト装置の小型化を図ると共にシフト装置の部品レイアウトの自由度を向上させる。
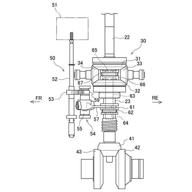
【解決手段】船外機は、動力伝達機構(30)と、シフト装置(50)と、を備えている。動力伝達機構には、アッパシャフト(22)に固定された上側歯車(31)と、ロアシャフト(23)に相対回転可能な下側歯車(32)と、上側歯車及び下側歯車に噛み合う中間歯車(33、34)と、が設けられている。シフト装置には、シフトシャフト(52)の回転を操作部(57)の上下動に変換するカム機構(54)と、操作部によって上下方向にスライドされるシフトスライダ(61)と、上側歯車又は下側歯車に接続可能なドグクラッチ(66)と、シフトスライダとドグクラッチを連結するコネクタピン(63)と、が設けられている。ドグクラッチがロアシャフトに一体回転可能に連結され、シフトスライダが下側歯車よりも下方に位置している。
【選択図】図4
特許請求の範囲
【請求項1】
エンジン側からプロペラ側に延びるアッパシャフト及びロアシャフトと、
前記アッパシャフトと前記ロアシャフトの間に介在した動力伝達機構と、
前記動力伝達機構を操作して前記プロペラを逆回転させるシフト装置と、を備えた船外機であって、
前記動力伝達機構は、
前記アッパシャフトの下端部に固定された上側歯車と、
前記上側歯車に対して下方から対向する下側歯車と、
前記上側歯車及び前記下側歯車に噛み合う中間歯車と、を有し、
前記下側歯車が前記ロアシャフトに相対回転可能に支持され、
前記シフト装置は、
アクチュエータ側から下方に延びるシフトシャフトと、
前記シフトシャフトの回転を操作部の上下動に変換するカム機構と、
前記操作部に連結して上下方向にスライド可能なシフトスライダと、
前記上側歯車と前記下側歯車の間に設置されたドグクラッチと、
前記シフトスライダと前記ドグクラッチを連結するコネクタピンと、を有し、
前記ドグクラッチは前記上側歯車又は前記下側歯車に接続可能であり、
前記ドグクラッチが前記ロアシャフトに対して一体回転可能に連結され、
前記シフトスライダが前記上側歯車よりも上方又は前記下側歯車よりも下方に位置していることを特徴とする船外機。
続きを表示(約 440 文字)
【請求項2】
前記シフトスライダは前記ロアシャフトの外周面に移動可能に設置され、
前記コネクタピンは前記ロアシャフトの内側に収容されていることを特徴とする請求項1に記載の船外機。
【請求項3】
前記中間歯車が前記シフトシャフトの回転軸と前記ドグクラッチの間に設置されていることを特徴とする請求項1又は請求項2に記載の船外機。
【請求項4】
前記動力伝達機構は、
前記上側歯車及び前記下側歯車に噛み合う他の中間歯車を有し、
前記他の中間歯車が前記ドグクラッチを挟んで前記一方の中間歯車に対向していることを特徴とする請求項3に記載の船外機。
【請求項5】
前記中間歯車の上方又は下方に前記カム機構が設置されていることを特徴とする請求項3に記載の船外機。
【請求項6】
前記シフトシャフトから前記カム機構には動力が歯車で伝達されることを特徴とする請求項1又は請求項2に記載の船外機。
発明の詳細な説明
【技術分野】
【0001】
本発明は、船外機に関する。
続きを表示(約 3,200 文字)
【背景技術】
【0002】
船外機にはアクチュエータによってシフトポジションが切り替えられるシフト装置が設けられている(例えば、特許文献1参照)。特許文献1に記載の船外機では、エンジンから下方にアッパシャフトが延び、アッパシャフトの下端部にはアッパベベルギアが固定されている。アッパベベルギアはミドルベベルギアを介してロアベベルギアに連結し、ロアベベルギアにはロアシャフトが相対回転可能に挿し込まれている。ロアシャフトの上端部がロアベベルギアから突き出しており、このロアシャフトの上端部に固定されたドグクラッチがアッパベベルギアとロアベベルギアの対向スペースに位置付けられている。
【0003】
シフト装置では、アクチュエータによってドグクラッチがアッパベベルギアとロアベベルギアの間で上下に動かされる。ドグクラッチが上方に動かされてアッパベベルギアに連結すると、シフトポジションが前進に切り替わってエンジンの動力がアッパシャフトからロアシャフトにダイレクトに伝えられる。ドグクラッチが下方に動かされてロアベベルギアに連結すると、シフトポジションが後退に切り替わってドグクラッチを介してロアベベルギアとロアシャフトが連結する。エンジンの動力がアッパシャフトからアッパベベルギア、ミドルベベルギア、ロアベベルギアを介して逆転してロアシャフトに伝えられる。
【先行技術文献】
【特許文献】
【0004】
特開2015-202849号公報
【発明の概要】
【発明が解決しようとする課題】
【0005】
しかしながら、アッパベベルギアとロアベベルギアの間にドグクラッチが位置しているため、シフト装置の構成部品がアッパベベルギア及びロアベベルギアと略同じ高さに設置される。このため、アッパベベルギア及びロアベベルギアよりも前方にシフト装置の各部品が位置付けられてシフト装置が大型化する。また、シフト装置の構成部品のレイアウトがアッパベベルギア及びロアベベルギアと略同じ高さに制限されて部品レイアウトの自由度が低下する。
【0006】
本発明はかかる点に鑑みてなされたものであり、シフト装置の小型化を図ると共にシフト装置の部品レイアウトの自由度を向上させることができる船外機を提供することを目的とする。
【課題を解決するための手段】
【0007】
本発明の一態様の船外機は、エンジン側からプロペラ側に延びるアッパシャフト及びロアシャフトと、前記アッパシャフトと前記ロアシャフトの間に介在した動力伝達機構と、前記動力伝達機構を操作して前記プロペラを逆回転させるシフト装置と、を備えた船外機であって、前記動力伝達機構は、前記アッパシャフトの下端部に固定された上側歯車と、前記上側歯車に対して下方から対向する下側歯車と、前記上側歯車及び前記下側歯車に噛み合う中間歯車と、を有し、前記下側歯車が前記ロアシャフトに相対回転可能に支持され、前記シフト装置は、アクチュエータ側から下方に延びるシフトシャフトと、前記シフトシャフトの回転を操作部の上下動に変換するカム機構と、前記操作部に連結して上下方向にスライド可能なシフトスライダと、前記上側歯車と前記下側歯車の間に設置されたドグクラッチと、前記シフトスライダと前記ドグクラッチを連結するコネクタピンと、を有し、前記ドグクラッチは前記上側歯車又は前記下側歯車に接続可能であり、前記ドグクラッチが前記ロアシャフトに対して一体回転可能に連結され、前記シフトスライダが前記上側歯車よりも上方又は前記下側歯車よりも下方に位置していることで上記課題を解決する。
【発明の効果】
【0008】
本発明の一態様の船外機によれば、アクチュエータにシフトシャフトが回転されると、カム機構によってシフトスライダが上下方向にスライドされる。シフトスライダにはコネクタピンを介してドグクラッチが連結されているため、ドグクラッチが上側歯車と下側歯車の間で上下方向に動かされる。ドグクラッチが上側歯車に接続すると、アッパシャフトがロアシャフトと一体回転可能に連結されて、エンジンの動力がアッパシャフトからロアシャフトにダイレクトに伝えられる。ドグクラッチが下側歯車に接続すると、下側歯車がドグクラッチを介してロアシャフトと一体回転可能に連結される。エンジンの動力が上側歯車、中間歯車、下側歯車を介してロアシャフトに逆転して伝えられる。ロアシャフトの回転方向が逆転することでプロペラの回転方向が切り替えられる。また、シフトスライダが上側歯車及び下側歯車に高さ方向に位置ズレしているため、シフトシャフトとドグクラッチを水平方向に近づけてシフト装置が小型化できると共にシフト装置の部品レイアウトの自由度を向上できる。
【図面の簡単な説明】
【0009】
本実施例の船外機の側面図である。
本実施例の船外機の前面図である。
本実施例の第1のギア機構及びシフト装置の斜視図である。
本実施例の第1のギア機構及びシフト装置の側面図である。
本実施例のシフトポジションの切替動作の説明図である。
本実施例のシフト装置及び第1のギア機構の部品レイアウトの説明図である。
【発明を実施するための形態】
【0010】
本発明の一態様の船外機では、エンジン側からプロペラ側にアッパシャフト及びロアシャフトが延び、アッパシャフトとロアシャフトの間には動力伝達機構が介在している。シフト装置によって動力伝達機構が操作されることでプロペラが逆回転されている。動力伝達機構では上側歯車に対して下方から下側歯車が対向し、上側歯車と下側歯車には中間歯車が噛み合っている。上側歯車はアッパシャフトの下端部に固定され、下側歯車はロアシャフトに相対回転可能に支持されている。シフト装置では、アクチュエータ側から下方にシフトシャフトが延び、カム機構によってシフトシャフトの回転が操作部の上下動に変換されている。操作部には上下方向にスライド可能なシフトスライダが連結され、シフトスライダにはコネクタピンを介してドグクラッチが連結されている。このドグクラッチはロアシャフトに一体回転可能に支持されている。ドグクラッチは上側歯車と下側歯車の間に設置され、ドグクラッチの上下動によってドグクラッチが上側歯車又は下側歯車に接続される。アクチュエータにシフトシャフトが回転されると、カム機構によってシフトスライダが上下方向に動かされる。シフトスライダにはコネクタピンを介してドグクラッチが連結されているため、ドグクラッチが上側歯車と下側歯車の間で上下方向に動かされる。ドグクラッチが上側歯車に接続すると、アッパシャフトがロアシャフトと一体回転可能に連結されて、エンジンの動力がアッパシャフトからロアシャフトにダイレクトに伝えられる。ドグクラッチが下側歯車に接続すると、下側歯車がドグクラッチを介してロアシャフトと一体回転可能に連結される。エンジンの動力が上側歯車、中間歯車、下側歯車を介してロアシャフトに逆転して伝えられる。ロアシャフトの回転方向が逆転することでプロペラの回転方向が切り替えられる。また、シフト装置のシフトスライダが上側歯車よりも上方又は下側歯車よりも下方に位置している。シフトスライダが上側歯車及び下側歯車に高さ方向に位置ズレしているため、シフトシャフトとドグクラッチを水平方向に近づけてシフト装置が小型化できると共にシフト装置の部品レイアウトの自由度を向上できる。
【実施例】
(【0011】以降は省略されています)
この特許をJ-PlatPat(特許庁公式サイト)で参照する
関連特許
スズキ株式会社
車室構造
8日前
スズキ株式会社
車両構造
8日前
スズキ株式会社
車両構造
8日前
スズキ株式会社
車室構造
8日前
スズキ株式会社
車両構造
8日前
スズキ株式会社
車両構造
8日前
スズキ株式会社
車両構造
8日前
スズキ株式会社
車両構造
8日前
スズキ株式会社
車両構造
8日前
スズキ株式会社
車両構造
8日前
スズキ株式会社
排気装置
1か月前
スズキ株式会社
排気装置
1か月前
スズキ株式会社
車室構造
8日前
スズキ株式会社
車両前部構造
29日前
スズキ株式会社
車両用バンパ
29日前
スズキ株式会社
モータケース
29日前
スズキ株式会社
車両用変速機
29日前
スズキ株式会社
燃料電池車両
16日前
スズキ株式会社
燃料電池車両
16日前
スズキ株式会社
車両側部構造
1か月前
スズキ株式会社
車両側部構造
1か月前
スズキ株式会社
車両検査装置
3日前
スズキ株式会社
車両後部構造
2日前
スズキ株式会社
車両前部構造
1か月前
スズキ株式会社
車両用制御装置
1か月前
スズキ株式会社
積立金管理装置
1か月前
スズキ株式会社
車両の制御装置
1か月前
スズキ株式会社
車両用送風構造
23日前
スズキ株式会社
車両用送風構造
23日前
スズキ株式会社
車両用送風構造
23日前
スズキ株式会社
車両の制御装置
1日前
スズキ株式会社
車両の制御装置
22日前
スズキ株式会社
車両用荷室構造
8日前
スズキ株式会社
車両用制御装置
3日前
スズキ株式会社
車体ルーフ構造
8日前
スズキ株式会社
衝突被害軽減装置
15日前
続きを見る
他の特許を見る