TOP
|
特許
|
意匠
|
商標
特許ウォッチ
Twitter
他の特許を見る
公開番号
2025068728
公報種別
公開特許公報(A)
公開日
2025-04-30
出願番号
2023178695
出願日
2023-10-17
発明の名称
空気調和機
出願人
株式会社コロナ
代理人
主分類
F24H
9/1863 20220101AFI20250422BHJP(加熱;レンジ;換気)
要約
【課題】ヒータの表面温度を上げずに効率よく送風空気を加温でき、騒音を低減できる空気調和機を提供する。
【解決手段】筐体10に設けた吸込口121と吹出口131との間に送風装置230を配置した送風経路240と、吸い込んだ空気を調和する空気調和部146と、空気を加熱する加熱手段220と、を備え、送風装置230は、シロッコファン142とスクロールケーシング200とで構成され、スクロールケーシング200は、ファン吸込口204と、ファン吹出口206と、舌部207と、を有し、ファン吸込口204の吸込口平面を半径方向に内側領域と外側領域とに区分し、外側領域をシロッコファン142の回転軸210と舌部207とを通過する仮想平面208で分割したファン吹出口206側の平面を第1平面205としたとき、加熱手段220は、第1平面205を貫通するように配置した。
【選択図】図5
特許請求の範囲
【請求項1】
筐体と、
前記筐体に設けた吸込口と吹出口との間に送風装置を配置した送風経路と、
前記吸込口から吸い込んだ空気を調和する空気調和部と、
前記送風装置を通過する空気を加熱する加熱手段と、
を備え、
前記送風装置は、シロッコファンとスクロールケーシングとで構成され、
前記スクロールケーシングは、
前記吸込口と連通した円形のファン吸込口と、
前記吹出口と連通したファン吹出口と、
舌部と、
を有し、
前記ファン吸込口の吸込口平面を半径方向に内側領域と外側領域とに区分し、
前記外側領域を前記シロッコファンの回転軸と前記舌部とを通過する仮想平面で分割した前記ファン吹出口側の平面を第1平面としたとき、
前記加熱手段は、前記第1平面を貫通するように配置した
ことを特徴とする空気調和機。
続きを表示(約 380 文字)
【請求項2】
前記加熱手段は、前記第1平面に円弧状に配置されている
ことを特徴とする請求項1に記載の空気調和機。
【請求項3】
前記加熱手段は、PTC素子と放熱部を有したPTCヒータで、
前記PTCヒータは、前記ファン吸込口に空気が流通可能に配置されている
ことを特徴とする請求項1に記載の空気調和機。
【請求項4】
前記空気調和部は、
前記吸込口から吸い込んだ空気を除湿する除湿ユニットで構成されている
ことを特徴とする請求項1から請求項3のいずれか1項に記載の空気調和機。
【請求項5】
前記空気調和部は、
前記吸込口から吸い込んだ空気を加湿する加湿ユニットで構成されている
ことを特徴とする請求項1から請求項3のいずれか1項に記載の空気調和機。
発明の詳細な説明
【技術分野】
【0001】
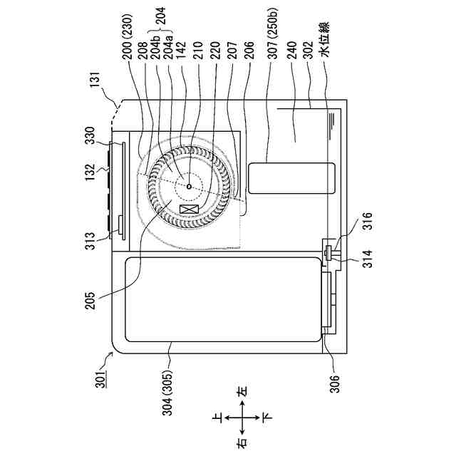
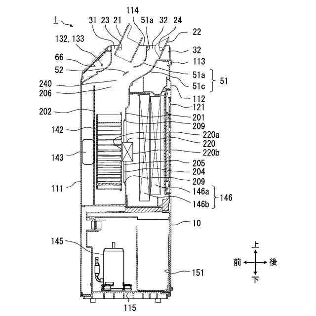
本発明は空気調和機に関するものである。より詳しくは、除湿機などの空気調和機に搭載したヒータの放熱を効率的に行う構成に関する。
続きを表示(約 1,500 文字)
【背景技術】
【0002】
従来から、空気調和機のうち除湿機では、室内の除湿乾燥機能のほかに衣類乾燥の目的で使用したり、あるいは、冬期間に室温が低くなり除湿の効率が低下する事を防止するため、本体内の送風経路に除湿ユニットに加えて乾燥空気を加温するため、送風機の下流側にヒータ(52)を搭載するものがあった。(例えば、特許文献1)
また、空気調和機のうち加湿器では、気化フィルタを通過する空気を加熱することで加湿量の増加を図るため、本体内の送風機より下流側で加湿ユニットより上流側の送風経路にヒータを搭載するものがあった。(例えば、特許文献2)
【先行技術文献】
【特許文献】
【0003】
特開2014-126262号公報
特許4025169号公報
【発明の概要】
【発明が解決しようとする課題】
【0004】
ところで、特許文献1の空気調和機(除湿機)では、送風機の下流側にヒータを配置したが、衣類乾燥能力を高めるため、ヒータの出力を大きくするとヒータの表面温度が上昇し、輻射熱によって周辺の樹脂部品が変形する虞があった。
これを解決するため、第1の案は、送風経路の樹脂が変形しない程度に低いヒータ出力に抑える案や、第2の案としては、ヒータの周辺の樹脂が変形しないよう送風経路に金属製の遮熱板を設ける案が考えられた。
【0005】
しかし、第1の案では、ヒータの出力を抑えると衣類乾燥時間が長くなってしまったり、衣類の乾燥が生乾きとなってしまう懸念があり、改善の余地があった。
また、第2の案では、遮熱板が送風の抵抗になり、送風経路の気流を乱して騒音源となる可能性があり、こちらも改善の余地があった。
【0006】
また、特許文献2の空気調和機(加湿器)では、送風機の下流側にヒータを配置したが、加湿能力を高めるため、ヒータの出力を大きくするとヒータの表面温度が上昇し、輻射熱によって周辺の樹脂部品が変形する虞があった。
これを解決するため、前述した第1および第2の案が考えられるが、前述したとおりいずれも改善の余地があった。
【0007】
本発明はかかる背景を鑑みてなされたものであり、ヒータの表面温度を上げずに効率よく送風空気を加温でき、騒音を低減できる空気調和機を提供することを目的とする。
【課題を解決するための手段】
【0008】
本発明は上記目的を達成するためになされたものであり、請求項1では、筐体と、前記筐体に設けた吸込口と吹出口との間に送風装置を配置した送風経路と、前記吸込口から吸い込んだ空気を調和する空気調和部と、前記送風装置を通過する空気を加熱する加熱手段と、を備え、前記送風装置は、シロッコファンとスクロールケーシングとで構成され、前記スクロールケーシングは、前記吸込口と連通した円形のファン吸込口と、前記吹出口と連通したファン吹出口と、舌部と、を有し、前記ファン吸込口の吸込口平面を半径方向に内側領域と外側領域とに区分し、前記外側領域を前記シロッコファンの回転軸と前記舌部とを通過する仮想平面で分割した前記ファン吹出口側の平面を第1平面としたとき、前記加熱手段は、前記第1平面を貫通するように配置したことを特徴とした。
【0009】
請求項2では、前記加熱手段は、前記第1平面に円弧状に配置されていることを特徴とした。
【0010】
請求項3では、前記加熱手段は、PTC素子と放熱部を有したPTCヒータで、前記PTCヒータは、前記ファン吸込口に空気が流通可能に配置されていることを特徴とした。
(【0011】以降は省略されています)
この特許をJ-PlatPat(特許庁公式サイト)で参照する
関連特許
株式会社コロナ
空調装置
6日前
株式会社コロナ
加湿装置
16日前
株式会社コロナ
空調装置
25日前
株式会社コロナ
風呂給湯機
24日前
株式会社コロナ
空気調和機
1か月前
株式会社コロナ
貯湯式給湯機
2日前
株式会社コロナ
暖房システム
6日前
株式会社コロナ
貯湯式給湯機
10日前
株式会社コロナ
直圧式給湯機
1か月前
株式会社コロナ
輻射式冷房装置
1か月前
株式会社コロナ
壁掛式石油給湯装置
1か月前
株式会社コロナ
給水装置及びこれを用いた加湿装置
2日前
個人
空気調和機
4か月前
個人
エアコン室内機
3か月前
株式会社コロナ
加湿装置
16日前
株式会社コロナ
空調装置
3か月前
株式会社コロナ
加湿装置
4か月前
株式会社コロナ
空調装置
25日前
株式会社コロナ
空調装置
6日前
株式会社コロナ
空調装置
1か月前
株式会社コロナ
給湯装置
2か月前
個人
住宅換気空調システム
1か月前
株式会社コロナ
風呂給湯機
24日前
株式会社コロナ
空気調和機
1か月前
株式会社コロナ
空気調和機
2か月前
株式会社パロマ
給湯器
2か月前
株式会社コロナ
貯湯式給湯機
2日前
株式会社コロナ
貯湯式給湯機
10日前
株式会社コロナ
暖房システム
6日前
ホーコス株式会社
排気フード
2か月前
株式会社コロナ
貯湯式給湯機
4か月前
株式会社コロナ
直圧式給湯機
2か月前
株式会社コロナ
直圧式給湯機
1か月前
株式会社コロナ
貯湯式給湯装置
4か月前
株式会社コロナ
貯湯式給湯装置
3か月前
株式会社コロナ
輻射式冷房装置
1か月前
続きを見る
他の特許を見る