TOP
|
特許
|
意匠
|
商標
特許ウォッチ
Twitter
他の特許を見る
10個以上の画像は省略されています。
公開番号
2025073087
公報種別
公開特許公報(A)
公開日
2025-05-12
出願番号
2024181381
出願日
2024-10-16
発明の名称
凍結防止装置
出願人
日興株式会社
,
個人
代理人
個人
主分類
E03B
7/10 20060101AFI20250501BHJP(上水;下水)
要約
【課題】水道管の凍結防止装置であって、気温が低下した状態が続いている状態でも、常時水を排水することなく、水道代が高額になるのを防止できる凍結防止装置を提供する。
【解決手段】凍結防止装置5は、ベース部10と、軸状部20と、筒状部30と、往復移動体40と、水排出部70と、スプリング80等を有し、往復移動体40は、スプリング80により下方に付勢されている。筒状部30と軸状部20の間の隙間からなる空間Sに水を充満させておき、ベース部10の通水穴16に水道管を接続する。当初は、排出穴52が水排出部70の内周面に対向して水の排出は停止しているが、凍結防止装置5が冷却されることにより、空間S内の水が凍結して膨張し、往復移動体40が上側に移動し、排出穴74から水が排出される。その後、水道管の水が導水穴26に導かれることにより、空間S内の氷が溶解し、往復移動体が元の位置に戻って、水の排出が停止される。
【選択図】図3
特許請求の範囲
【請求項1】
水道管の凍結を防止する凍結防止装置であって、
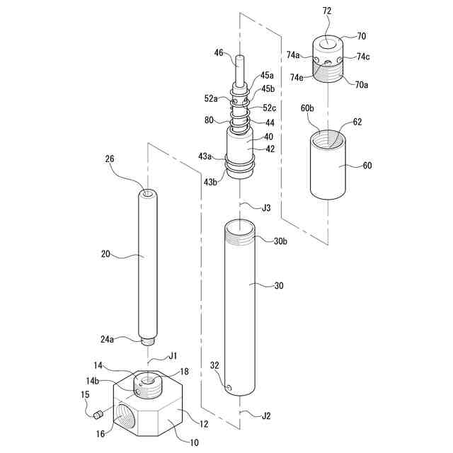
ベース部(10)と、軸状部(20)と、筒状部(30)と、往復移動体(40)と、カバーリング(60)と、水排出部(70)と、コイルスプリング(80)とを有し、
ベース部には、側面に設けられた2つの開口の間に通水穴(16)が設けられるとともに、通水穴からベース部の上面に向けて形成された第1導水穴(18)を有し、
筒状部は、筒状であって、ベース部の上面に上方に向けて設けられ、
軸状部は、軸状であって、ベース部の上面で、筒状部の内側に上方に向けて設けられ、軸状部内には、軸状部の軸線に沿って軸状部の上端から下端まで貫通する第2導水穴(26)が設けられ、第2導水穴が第1導水穴と連通し、筒状部の内周面と軸状部の外周面の間には、隙間が形成され、
往復移動体は、大径部(42)と、大径部の上側に連設され、大径部よりも外径が小さく形成された小径部(44)を有し、大径部には、軸状部が挿入する挿入穴(48)が設けられ、軸状部の外周面が挿入穴の内周面に接するとともに、大径部の外周面が筒状部の内周面に接し、
往復移動体には、挿入穴の上端である壁部(50)の位置から上方に向けて、挿入穴よりも小径の第3導水穴(49)が挿入穴から連設され、軸状部の上端が該壁部に接した状態である往復移動体の初期状態において、第3導水穴が第2導水穴と連通し、
第3導水穴の上側位置からは往復移動体の側面に開口する第1排出穴(52)が設けられ、
コイルスプリングは、水排出部の下端と大径部の上端の間の小径部の外周面に沿って設けられ、
カバーリングは、筒状であり、筒状部の外周面の上端領域に接続されて上方に向けて設けられ、
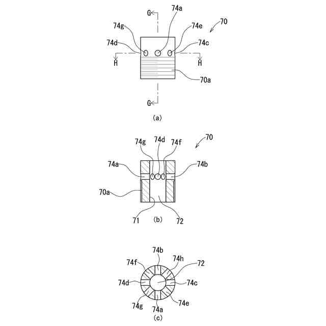
水排出部は、カバーリングの内周面の上端領域に接続され、水排出部には、往復移動体を挿通する挿通穴(72)が設けられ、水排出部には、該挿通穴の内周面から水排出部の外周面まで形成された第2排出穴(74)が設けられ、
筒状部の内周面と軸状部の外周面の間の隙間からなる空間(S)に水が充満された状態で、ベース部の通水穴の2つの開口に水道管を接続し、往復移動体の初期状態においては、第1排出穴の開口が水排出部の挿通穴の内周面に対向することにより第1排出穴からの水の排出は停止しており、一方、凍結防止装置が冷却されると、空間内の水が凍結して膨張することにより、往復移動体がコイルスプリングの付勢力に抗して上側に移動し、第1排出穴が第2排出穴の位置に至ることにより、第1排出穴を介して第2排出穴から水が排出され、
第2導水穴に空間内の氷が溶解する温度の水が水道管から導かれることにより、空間内の氷が溶解して、往復移動体がコイルスプリングの付勢力により初期位置に戻ることを特徴とする凍結防止装置。
続きを表示(約 5,400 文字)
【請求項2】
水道管その他の水を通す管である通水管の凍結を防止する凍結防止装置であって、
ベース部(10)と、軸状部(20)と、筒状部(30)と、往復移動体(40)と、カバーリング(60)と、水排出部(70)と、弾性部材(80)とを有し、
ベース部には、側面に設けられた2つの開口の間に通水穴(16)が設けられるとともに、通水穴からベース部の上面に向けて形成された第1導水穴(18)を有し、
筒状部は、筒状であって、ベース部の上面に上方に向けて設けられ、
軸状部は、軸状であって、ベース部の上面で、筒状部の内側に上方に向けて設けられ、軸状部内には、軸状部の軸線に沿って軸状部の上端から下端まで貫通する第2導水穴(26)が設けられ、第2導水穴が第1導水穴と連通し、筒状部の内周面と軸状部の外周面の間には、隙間が形成され、
往復移動体は、大径部(42)と、大径部の上側に連設され、大径部よりも外径が小さく形成された小径部(44)を有し、大径部には、軸状部が挿入する挿入穴(48)が設けられ、軸状部の外周面が挿入穴の内周面に接するとともに、大径部の外周面が筒状部の内周面に接し、
往復移動体には、挿入穴の上端である壁部(50)の位置から上方に向けて、挿入穴よりも小径の第3導水穴(49)が挿入穴から連設され、軸状部の上端が該壁部に接した状態である往復移動体の初期状態において、第3導水穴が第2導水穴と連通し、
第3導水穴の上側位置からは往復移動体の側面に開口する第1排出穴(52)が設けられ、
弾性部材は、水排出部と大径部の間に設けられ、大径部を下方に向けて付勢し、
カバーリングは、筒状であり、筒状部の外周面の上端領域に接続されて上方に向けて設けられ、
水排出部は、カバーリングの内周面の上端領域に接続され、水排出部には、往復移動体を挿通する挿通穴(72)が設けられ、水排出部には、該挿通穴の内周面から水排出部の外周面まで形成された第2排出穴(74)が設けられ、
筒状部の内周面と軸状部の外周面の間の隙間からなる空間(S)に水が充満された状態で、ベース部の通水穴の2つの開口に通水管を接続し、往復移動体の初期状態においては、第1排出穴の開口が水排出部の挿通穴の内周面に対向することにより第1排出穴からの水の排出は停止しており、一方、凍結防止装置が冷却されると、空間内の水が凍結して膨張することにより、往復移動体が弾性部材の付勢力に抗して上側に移動し、第1排出穴が第2排出穴の位置に至ることにより、第1排出穴を介して第2排出穴から水が排出され、
第2導水穴に空間内の氷が溶解する温度の水が通水管から導かれることにより、空間内の氷が溶解して、往復移動体が弾性部材の付勢力により初期位置に戻ることを特徴とする凍結防止装置。
【請求項3】
水排出部には下端領域に第1ねじ部(70a)が設けられるとともに、カバーリングに上端領域には第2ねじ部(60b)が設けられ、第1ねじ部と第2ねじ部とが係合することにより水排出部がカバーリングに接続され、第1ねじ部の第2ねじ部に対する係合位置を調整することにより、水排出部のカバーリングに対する上下方向の位置が調整されることを特徴とする請求項1又は2に記載の凍結防止装置。
【請求項4】
水道管の凍結を防止する凍結防止装置であって、
ベース部(10)と、軸状部(20)と、筒状部(30)と、往復移動体(40)と、カバーリング(60)と、水排出部(70)とを有し、
ベース部には、側面に設けられた2つの開口の間に通水穴(16)が設けられるとともに、通水穴からベース部の上面に向けて形成された第1導水穴(18)を有し、
筒状部は、筒状であって、ベース部の上面に上方に向けて設けられ、
軸状部は、軸状であって、ベース部の上面で、筒状部の内側に上方に向けて設けられ、軸状部内には、軸状部の軸線に沿って軸状部の上端から下端まで貫通する第2導水穴(26)が設けられ、第2導水穴が第1導水穴と連通し、筒状部の内周面と軸状部の外周面の間には、隙間が形成され、
往復移動体は、筒状に形成された隙間挿入部(42-1)を有し、隙間挿入部の内側には、軸状部が挿入する挿入穴(48)が設けられ、挿入穴の内周面は、軸状部の外周面に接するとともに、隙間挿入部の外周面は、筒状部の内周面に接し、
往復移動体には、挿入穴の上端である壁部(50)の位置から上方に向けて、挿入穴よりも小径の第3導水穴(49)が挿入穴から連設され、軸状部の上端が該壁部に接した状態である往復移動体の初期状態において、第3導水穴が第2導水穴と連通し、
第3導水穴の上側位置からは往復移動体の側面に開口する第1排出穴(52)が設けられ、
カバーリングは、筒状であり、筒状部の外周面の上端領域に接続されて上方に向けて設けられ、
水排出部は、カバーリングの内周面の上端領域に接続され、水排出部には、往復移動体を挿通する挿通穴(72)が設けられ、水排出部には、該挿通穴の内周面から水排出部の外周面まで形成された第2排出穴(74)が設けられ、
筒状部の内周面と軸状部の外周面の間の隙間からなる空間(S)に水が充満された状態で、ベース部の通水穴の2つの開口に水道管を接続し、往復移動体の初期状態においては、第1排出穴の開口が水排出部の挿通穴の内周面に対向することにより第1排出穴からの水の排出は停止しており、一方、凍結防止装置が冷却されると、空間内の水が凍結して膨張することにより、往復移動体が上側に移動し、第1排出穴が第2排出穴の位置に至ることにより、第1排出穴を介して第2排出穴から水が排出され、
第2導水穴に空間内の氷が溶解する温度の水が水道管から導かれることにより、空間内の氷が溶解して、往復移動体が初期位置に戻ることを特徴とする凍結防止装置。
【請求項5】
水道管その他の水を通す管である通水管の凍結を防止する凍結防止装置であって、
ベース部(10)と、軸状部(20)と、筒状部(30)と、往復移動体(40)と、カバーリング(60)と、水排出部(70)とを有し、
ベース部には、側面に設けられた2つの開口の間に通水穴(16)が設けられるとともに、通水穴からベース部の上面に向けて形成された第1導水穴(18)を有し、
筒状部は、筒状であって、ベース部の上面に上方に向けて設けられ、
軸状部は、軸状であって、ベース部の上面で、筒状部の内側に上方に向けて設けられ、軸状部内には、軸状部の軸線に沿って軸状部の上端から下端まで貫通する第2導水穴(26)が設けられ、第2導水穴が第1導水穴と連通し、筒状部の内周面と軸状部の外周面の間には、隙間が形成され、
往復移動体は、筒状に形成された隙間挿入部(42-1)を有し、隙間挿入部の内側には、軸状部が挿入する挿入穴(48)が設けられ、挿入穴の内周面は、軸状部の外周面に接するとともに、隙間挿入部の外周面は、筒状部の内周面に接し、
往復移動体には、挿入穴の上端である壁部(50)の位置から上方に向けて、挿入穴よりも小径の第3導水穴(49)が挿入穴から連設され、軸状部の上端が該壁部に接した状態である往復移動体の初期状態において、第3導水穴が第2導水穴と連通し、
第3導水穴の上側位置からは往復移動体の側面に開口する第1排出穴(52)が設けられ、
カバーリングは、筒状であり、筒状部の外周面の上端領域に接続されて上方に向けて設けられ、
水排出部は、カバーリングの内周面の上端領域に接続され、水排出部には、往復移動体を挿通する挿通穴(72)が設けられ、水排出部には、該挿通穴の内周面から水排出部の外周面まで形成された第2排出穴(74)が設けられ、
筒状部の内周面と軸状部の外周面の間の隙間からなる空間(S)に水が充満された状態で、ベース部の通水穴の2つの開口に通水管を接続し、往復移動体の初期状態においては、第1排出穴の開口が水排出部の挿通穴の内周面に対向することにより第1排出穴からの水の排出は停止しており、一方、凍結防止装置が冷却されると、空間内の水が凍結して膨張することにより、往復移動体が上側に移動し、第1排出穴が第2排出穴の位置に至ることにより、第1排出穴を介して第2排出穴から水が排出され、
第2導水穴に空間内の氷が溶解する温度の水が通水管から導かれることにより、空間内の氷が溶解して、往復移動体が初期位置に戻ることを特徴とする凍結防止装置。
【請求項6】
ベース部が、上記通水穴が設けられたベース部本体(12)と、ベース部本体の上面に設けられた突状部(14)を有し、突状部の上面には、第1導水穴が開口し、
筒状部は、突状部の外周面に螺着されるとともに、軸状部は、第1導水穴の内周面に螺着され、
突状部には、突状部の外周面と突状部の上面の間に連通穴(14b)が設けられ、連通穴は、筒状部と軸状部の間の上記空間と連通し、
該連通穴における突状部の外周面側の開口部には、該開口部を塞ぐ栓部(15)が着脱自在に設けられていることを特徴とする請求項1又は2又は4又は5に記載の凍結防止装置。
【請求項7】
筒状部が、軸状部や往復移動体よりも熱伝導率が高い金属により形成されていることを特徴とする請求項1又は2又は4又は5に記載の凍結防止装置。
【請求項8】
筒状部が銅により形成され、ベース部と軸状部と往復移動体とカバーリングと水排出部が、銅よりも熱伝導率が低い金属により形成されていることを特徴とする請求項1又は2又は4又は5に記載の凍結防止装置。
【請求項9】
水道管その他の水を通す管である通水管の凍結を防止する凍結防止装置であって、
ベース部(110)と、軸状部(120)と、筒状部(130)と、往復移動体(140)と、水排出部(170)と、弾性部材(180)とを有し、
ベース部には、側面に設けられた2つの開口の間に通水穴(116)が設けられるとともに、通水穴からベース部の上面に向けて形成された第1導水穴(118)を有し、
筒状部は、筒状であって、ベース部の上面に上方に向けて設けられ、
軸状部は、軸状であって、ベース部の上面で、筒状部の内側に上方に向けて設けられ、軸状部内には、軸状部の軸線に沿って軸状部の上端から下端まで貫通する第2導水穴(126)が設けられ、第2導水穴が第1導水穴と連通し、筒状部の内周面と軸状部の外周面の間には、隙間が形成され、
往復移動体は、筒状に形成された筒状体(142)と、筒状体の上側の端部に設けられた端構成体(144)とを有し、
筒状体の内側には、軸状部が挿入する挿入穴(145)が設けられ、筒状体の内周面は、軸状部の外周面に接するとともに、筒状体の外周面は、筒状部の内周面に接し、
端構成体は、第2導水穴からの水を上方に通すための挿通穴(146-3)を有するとともに、軸状部の第2導水穴の上端を塞ぐための密閉部(148)を有し、
水排出部は、筒状部の外周面の上側領域に接続された筒状をなす水排出部本体(172)と、水排出部本体のベース部側とは反対側に設けられ、水排出部本体の内径よりも径が小さい水排出穴(174a)が設けられた壁部材(174)とを有し、
弾性部材は、壁部材と端構成体の間に設けられ、
筒状部の内周面と軸状部の外周面の間の隙間からなる空間(S)に液体が充満された状態で、ベース部の通水穴の2つの開口に通水管を接続し、往復移動体の初期状態においては、弾性部材の付勢力により密閉部が軸状部の第2導水穴の上端を塞いで、水排出穴からの排出は停止しており、一方、凍結防止装置が冷却されると、空間内の液体が凍結して膨張することにより、往復移動体が凍結した液体に押されて弾性部材の付勢力に抗して上側に移動して、密閉部と軸状部の第2導水穴の上端の間に隙間が形成されて、第2導水穴内の水が端構成部の挿通穴を経て水排出穴から排出され、
第2導水穴に空間内の凍結した液体が溶解する温度の水が通水管から導かれることにより、空間内の凍結した液体が溶解して、往復移動体が弾性部材の付勢力により初期位置に戻ることを特徴とする凍結防止装置。
【請求項10】
軸状部は、軸状部の上側に設けられた小径部(122-2)と、小径部から下側に連設された大径部(122-1)とを有し、小径部の外径は、大径部の外径よりも小さく形成され、大径部の外周面は筒状部の内周面に接して、小径部の外周面と筒状部の内周面の間の隙間に液体を入れるための空間が形成されることを特徴とする請求項9に記載の凍結防止装置。
(【請求項11】以降は省略されています)
発明の詳細な説明
【技術分野】
【0001】
本発明は、水道管の凍結防止装置に関するものである。
続きを表示(約 2,400 文字)
【背景技術】
【0002】
従来より、水道管の凍結を防止するものとして、特許文献1に記載の凍結防止用バルブが存在する。
【0003】
この特許文献1における凍結防止用バルブは、水収容部と、アーマチュア部と、弁体部とを有し、凍結を生じないほど気温が高いときには、水収容部内の水が凍結しないため、弁体部及びアーマチュア部はスプリングにより上方に付勢されて、弁体部は閉位置あり、配水管からの排水は行われない。一方、凍結を生じるほど気温が低下したときには、水収容部内の水が凍結し、これにより水の体積が増加する。すると、アーマチュア部及び弁体部は、スプリングの弾性に抗して下方に押し下げられて、弁体部は開位置に変位し、これにより、配水管から排水が行われる。そして、凍結を生じない気温まで上昇したときには、アーマチュア部及び弁体部が上昇して、弁体部が閉位置となり、排水が停止する。
【先行技術文献】
【特許文献】
【0004】
特開2005-83065号公報
【発明の概要】
【発明が解決しようとする課題】
【0005】
しかし、上記特許文献1に記載の凍結防止用バルブにおいては、凍結が生じるほど気温が低下している状態では、弁体部は開位置のままとなるので、水が排水されつづけてしまうという問題があり、水道代が高額になってしまうという問題があった。
【0006】
そこで、水道管その他の水を通す管の凍結を防止する凍結防止装置であって、気温が低下した状態が続いている状態でも、常時水を排水することなく、水道代が高額になるのを防止することができる凍結防止装置を提供することを目的とするものである。
【課題を解決するための手段】
【0007】
本発明は上記問題点を解決するために創作されたものであって、第1には、水道管の凍結を防止する凍結防止装置であって、ベース部(10)と、軸状部(20)と、筒状部(30)と、往復移動体(40)と、カバーリング(60)と、水排出部(70)と、コイルスプリング(80)とを有し、ベース部には、側面に設けられた2つの開口の間に通水穴(16)が設けられるとともに、通水穴からベース部の上面に向けて形成された第1導水穴(18)を有し、筒状部は、筒状であって、ベース部の上面に上方に向けて設けられ、軸状部は、軸状であって、ベース部の上面で、筒状部の内側に上方に向けて設けられ、軸状部内には、軸状部の軸線に沿って軸状部の上端から下端まで貫通する第2導水穴(26)が設けられ、第2導水穴が第1導水穴と連通し、筒状部の内周面と軸状部の外周面の間には、隙間が形成され、往復移動体は、大径部(42)と、大径部の上側に連設され、大径部よりも外径が小さく形成された小径部(44)を有し、大径部には、軸状部が挿入する挿入穴(48)が設けられ、軸状部の外周面が挿入穴の内周面に接するとともに、大径部の外周面が筒状部の内周面に接し、往復移動体には、挿入穴の上端である壁部(50)の位置から上方に向けて、挿入穴よりも小径の第3導水穴(49)が挿入穴から連設され、軸状部の上端が該壁部に接した状態である往復移動体の初期状態において、第3導水穴が第2導水穴と連通し、第3導水穴の上側位置からは往復移動体の側面に開口する第1排出穴(52)が設けられ、コイルスプリングは、水排出部の下端と大径部の上端の間の小径部の外周面に沿って設けられ、カバーリングは、筒状であり、筒状部の外周面の上端領域に接続されて上方に向けて設けられ、水排出部は、カバーリングの内周面の上端領域に接続され、水排出部には、往復移動体を挿通する挿通穴(72)が設けられ、水排出部には、該挿通穴の内周面から水排出部の外周面まで形成された第2排出穴(74)が設けられ、筒状部の内周面と軸状部の外周面の間の隙間からなる空間(S)に水が充満させた状態で、ベース部の通水穴の2つの開口に水道管を接続し、往復移動体の初期状態においては、第1排出穴の開口が水排出部の挿通穴の内周面に対向することにより第1排出穴からの水の排出は停止しており、一方、凍結防止装置が冷却されると、空間内の水が凍結して膨張することにより、往復移動体がコイルスプリングの付勢力に抗して上側に移動し、第1排出穴が第2排出穴の位置に至ることにより、第1排出穴を介して第2排出穴から水が排出され、第2導水穴に空間内の氷が溶解する温度の水が水道管から導かれることにより、空間内の氷が溶解して、往復移動体がコイルスプリングの付勢力により初期位置に戻ることを特徴とする。
【0008】
第1の構成の凍結防止装置によれば、外気の温度が低い状態が続いても、空間内の水の凍結と溶解を繰り返すことにより、往復移動体は上昇と下降を繰り返し、第2排出穴からの水の排出は、往復移動体が上昇したときのみ行われることになる。これにより、気温が低下した状態が続いている状態でも、常時水を排水することなく、水道代が高額になるのを防止することができる。
【0009】
また、第2導水穴及び第3導水穴内の水が排出されることにより第2導水穴及び第3導水穴内の水が移動するので、第2導水穴や第3導水穴内の水が凍結することはなく、さらに、第2導水穴及び第3導水穴内の水が排出されることにより、水道管内の水も移動するので、水道管内の水も凍結することがない。
【0010】
また、コイルスプリングを設けることにより、氷が溶解した際にコイルスプリングの付勢力により往復移動体が付勢されるので、氷が溶解してから往復移動体が初期位置に戻るまでの時間を短くでき、水の排出が停止するまでの時間を短くできるので、余分な水の排出を抑えることができる。
(【0011】以降は省略されています)
この特許をJ-PlatPat(特許庁公式サイト)で参照する
関連特許
日興株式会社
凍結防止装置
5か月前
株式会社田中設備
蓋体
2日前
個人
ドクター中まミズつクル
28日前
TOTO株式会社
トイレ装置
10日前
TOTO株式会社
排水システム
8日前
TOTO株式会社
排水システム
8日前
TOTO株式会社
便座装置
1か月前
タイガースポリマー株式会社
側溝
1か月前
ミサワホーム株式会社
外構
7日前
TOTO株式会社
トイレ装置
1か月前
TOTO株式会社
トイレ装置
1か月前
TOTO株式会社
トイレ装置
1か月前
ホーコス株式会社
床置型グリース阻集器
1か月前
クリナップ株式会社
キッチン
8日前
株式会社Deto
吐水器
3日前
株式会社LIXIL
便器装置
1か月前
株式会社LIXIL
便器装置
16日前
飛島建設株式会社
仮設壁の構築方法
8日前
株式会社タカギ
水栓
14日前
株式会社タカギ
水栓
14日前
積水化学工業株式会社
継手
1か月前
新明和工業株式会社
吸引車
21日前
株式会社タカギ
吐水装置
14日前
TOTO株式会社
トイレシステム及びトイレ装置
8日前
株式会社LIXIL
洗浄水タンク装置
14日前
因幡電機産業株式会社
排水トラップ
14日前
積水化学工業株式会社
集合継手
1か月前
積水化学工業株式会社
配管構造
7日前
積水化学工業株式会社
集合継手
1か月前
積水化学工業株式会社
集合継手
3日前
SANEI株式会社
水栓
1か月前
廈門迪芬奇厨衛有限公司
適応切替式スマートトイレ
28日前
TOTO株式会社
水栓装置
28日前
TOTO株式会社
水栓装置
28日前
TOTO株式会社
水栓装置
28日前
TOTO株式会社
水栓装置
28日前
続きを見る
他の特許を見る