TOP
|
特許
|
意匠
|
商標
特許ウォッチ
Twitter
他の特許を見る
10個以上の画像は省略されています。
公開番号
2025150644
公報種別
公開特許公報(A)
公開日
2025-10-09
出願番号
2024051641
出願日
2024-03-27
発明の名称
キッチン
出願人
クリナップ株式会社
代理人
個人
,
個人
主分類
E03C
1/18 20060101AFI20251002BHJP(上水;下水)
要約
【課題】作業の効率化を図ることができるキッチンを提供する。
【解決手段】実施形態におけるキッチン1は、水栓21と排水口とを有するシンク本体2と、水平な作業面51を有する天板5と、を備えたキッチン1であって、水栓21とは異なる吐水部31と、吐水部31から吐水される水をシンク本体2に誘導するための誘導溝41と、を更に備え、誘導溝41は、作業面51に隣接される。天板5は、作業面51に隣接するコンロ6を有し、誘導溝41は、コンロ6の背面側に設けられる。誘導溝41には、貫通孔を有する着脱自在な第1容器71が設けられる。
【選択図】図1
特許請求の範囲
【請求項1】
水栓と排水口とを有するシンク本体と、作業面を有する天板と、を備えたキッチンであって、
前記水栓とは異なる吐水部と、
前記吐水部から吐水される水を前記シンク本体に誘導するための誘導溝と、を更に備え、
前記誘導溝は、前記作業面に隣接されること
を特徴とするキッチン。
続きを表示(約 220 文字)
【請求項2】
前記天板は、前記作業面に隣接するコンロを有し、
前記誘導溝は、前記コンロに隣接されること
を特徴とする請求項1記載のキッチン。
【請求項3】
前記誘導溝には、貫通孔を有する第1容器が着脱自在であること
を特徴とする請求項1記載のキッチン。
【請求項4】
前記吐水部は、前記誘導溝の上流側の端部に設けられること
を特徴とする請求項1記載のキッチン。
発明の詳細な説明
【技術分野】
【0001】
本発明は、シンク本体と天板とを備えるキッチンに関する。
続きを表示(約 1,800 文字)
【背景技術】
【0002】
従来、水栓から吐出される流水を使って清浄性を保つのが容易なキッチンとして、特許文献1が開示されている。特許文献1のシステムキッチンのデッキには、シンクの位置の第1の水栓と、中央カウンタの位置の第2の水栓とが設けられている。
【先行技術文献】
【特許文献】
【0003】
特開2020-22745号公報
【発明の概要】
【発明が解決しようとする課題】
【0004】
特許文献1の開示技術では、第2の水栓から中央カウンタに吐水される。これにより、中央カウンタの清浄性を保つことができる。しかしながら、作業を行うための中央カウンタは、シンクに向けて勾配を有しているため、中央カウンタにおける作業が行いにくい。また、所定の作業を行うための中央カウンタは、前後方向における幅寸法を広くする必要がある。このため、中央カウンタに吐水された水は流速が小さく、例えば調理中に発生する中央カウンタ上にある食材の切れ端等を流しにくいことから、中央カウンタから所定の位置に設けられた廃棄場所までユーザが手で運ぶ必要がある。このため、作業の効率化を図ることができるキッチンが求められている。
【0005】
そこで、本発明は、上述した問題点に鑑みて案出されたものであり、その目的とするところは、作業の効率化を図ることができるキッチンを提供することにある。
【課題を解決するための手段】
【0006】
本発明に係るキッチンは、水栓と排水口とを有するシンク本体と、作業面を有する天板と、を備えたキッチンであって、前記水栓とは異なる吐水部と、前記吐水部から吐水される水を前記シンク本体に誘導するための誘導溝と、を更に備え、前記誘導溝は、前記作業面に隣接されることを特徴とする。
【発明の効果】
【0007】
本発明によれば、水栓とは異なる吐水部と、吐水部から吐水される水をシンク本体に誘導するための誘導溝と、を更に備え、誘導溝は、作業面に隣接される。これにより、作業面で発生した食材の切れ端等の調理くずをすぐに誘導溝に投入できる。誘導溝に投入された調理くずは、吐水部からの水によりシンク本体まで流され易くなる。このため、調理くずを廃棄場所までユーザが手で運搬する労力が低減され、作業面を片付け易くなる。その結果、作業の効率化を図ることができる。
【図面の簡単な説明】
【0008】
図1は、第1実施形態におけるキッチンの一例を示す斜視図である。
図2は、第1実施形態におけるキッチンの一例を示す平面図である。
図3は、図1のA部を示す図である。
図4は、図2のB-B断面図である。
図5(a)は、図2のC-C断面図であり、図5(b)は、図2のD-D断面図である。
図6は、第1実施形態におけるキッチンの第2容器と掛け止め部材の一例を示す斜視図である。
図7は、図5(b)のE部を示す図である。
図8は、第2実施形態におけるキッチンの一例を拡大して示す斜視図である。
図9(a)は、第2実施形態におけるキッチンにおける誘導溝を通る面で切った側面断面図であり、図9(b)は、第2実施形態におけるキッチンにおけるシンク本体を通る面で切った側面断面図である。
図10は、図9(b)のF部を示す図である。
【発明を実施するための形態】
【0009】
以下、本発明を適用したキッチンを実施するための形態について、図面を参照しながら詳細に説明する。
【0010】
<第1実施形態>
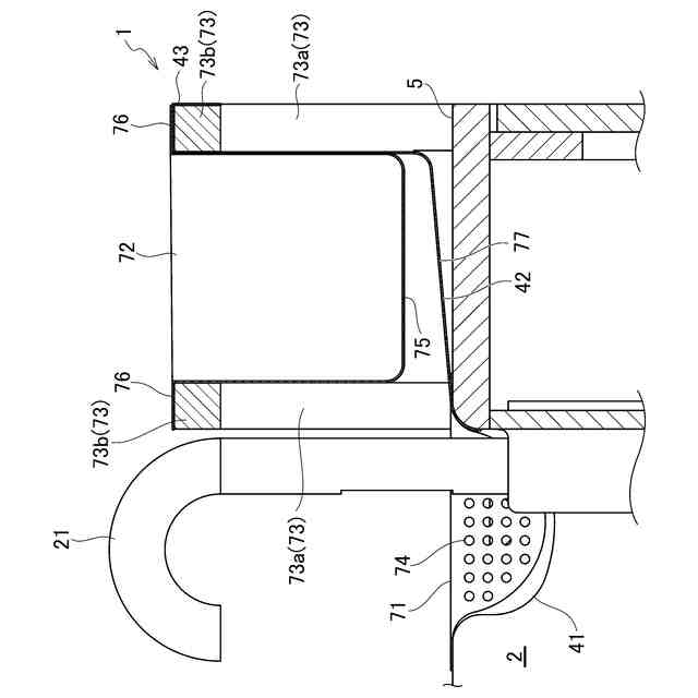
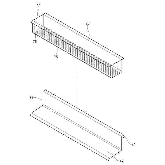
図1及び図2に示すように、キッチン1は、水栓21と排水口22を有するシンク本体2と、水平な作業面51を有する天板5と、水栓21とは異なる吐水部31と、吐水部31から吐水される水をシンク本体2に誘導するための誘導溝41と、を備える。誘導溝41は、天板5の上面の作業面51に隣接される。誘導溝41は、例えば、作業面51の背面側に設けられる。なお、本発明では、誘導溝41は、作業面51に隣接すればよく、例えば作業面51の前面側及び背面側に少なくとも何れかに設けられてもよい。
(【0011】以降は省略されています)
この特許をJ-PlatPat(特許庁公式サイト)で参照する
関連特許
個人
蛇口
3か月前
個人
ドクター中まミズつクル
22日前
TOTO株式会社
トイレ装置
4日前
株式会社タカギ
水栓装置
3か月前
TOTO株式会社
排水システム
2日前
ヒロテツ工業株式会社
溝カバー
4か月前
TOTO株式会社
排水システム
2日前
株式会社KVK
水栓
1か月前
株式会社KVK
水栓
1か月前
タイガースポリマー株式会社
側溝
1か月前
株式会社KVK
水栓
1か月前
ミサワホーム株式会社
外構
1日前
TOTO株式会社
便座装置
1か月前
TOTO株式会社
トイレ装置
1か月前
TOTO株式会社
トイレ装置
1か月前
TOTO株式会社
トイレ装置
1か月前
株式会社大林組
雨水桝蓋
3か月前
株式会社タカギ
水栓装置
2か月前
ホーコス株式会社
床置型グリース阻集器
1か月前
株式会社 林物産発明研究所
土木構造体
4か月前
TOTO株式会社
浴室床
2か月前
TOTO株式会社
洗面器及び洗面台
1か月前
TOTO株式会社
洗面器及び洗面台
1か月前
クリナップ株式会社
キッチン
2日前
TOTO株式会社
洗い場床
2か月前
三興建設株式会社
下水道バイパス装置
1か月前
丸一株式会社
排水装置及び封水形成部材
3か月前
TOTO株式会社
トイレ装置
2か月前
TOTO株式会社
排水管継手
1か月前
TOTO株式会社
排水管継手
1か月前
TOTO株式会社
トイレ装置
2か月前
飛島建設株式会社
仮設壁の構築方法
2日前
株式会社LIXIL
便器装置
1か月前
株式会社LIXIL
便器装置
10日前
中国電力株式会社
資源供給システム
3か月前
株式会社タカギ
水栓
8日前
続きを見る
他の特許を見る