TOP
|
特許
|
意匠
|
商標
特許ウォッチ
Twitter
他の特許を見る
公開番号
2025132624
公報種別
公開特許公報(A)
公開日
2025-09-10
出願番号
2024030305
出願日
2024-02-29
発明の名称
床置型グリース阻集器
出願人
ホーコス株式会社
代理人
主分類
E03C
1/26 20060101AFI20250903BHJP(上水;下水)
要約
【課題】清掃時の油脂類の回収率を向上させた床置型グリース阻集器を提供することを課題とする。
【解決手段】分離室の左右幅に広がる回転軸に平板の羽根板を少なくとも1枚設け、清掃時に回転軸を回転させると、羽根板は堆積した油脂類を回転軸と直行する方向へと押し出し、油脂類は分離室に設けられた標準水位面の高さを有する越流板を超えて、油排出孔を通って貯留槽本体の外部へと排出させられることを特徴とする。
【選択図】図1
特許請求の範囲
【請求項1】
貯留槽本体と、
前記貯留槽本体には、排水が流れ込む流入口と、前記流入口から流れ込む排水を受けるバスケットと、水と油の比重差を利用して油脂分を浮上分離させる分離室と、排水を下水管へと流出させる流出口と、前記流出口に接続され、前記流出口下流からの臭気や虫の侵入を防ぐ排水トラップと、を有する床置型グリース阻集器において、
前記分離室には、油脂類を回収する回収機構が設けられ、
前記回収機構は、前記貯留槽本体の左右幅一杯に、標準水位面よりも高い位置に設けられる回転軸と、前記回転軸に取り付けられる羽根板と、を有し、
前記回転軸の一端は、前記貯留槽本体の左右側面のいずれか一方側面に回転可能に支持されて回転ハンドルが接続され、前記回転軸の他端は、前記貯留槽本体の他方側面に回転可能に固定され、
前記羽根板は、前記分離室の左右幅に広がる平板で、少なくとも1枚設けられており、清掃時に前記回転ハンドルを回転させると、前記羽根板は、標準水位面に堆積した油脂類を前記回転軸と直行する方向へと押し出し、
前記分離室には、前記貯留槽本体の左右幅一杯に越流板が設けられており、前記越流板は、上端を前記標準水位面の高さと有するとともに、下端を前記貯留槽本体の底面よりも高い位置に設けられ、
前記羽根板に押し出された油脂分は、前記越流板を超えて、前記分離室の越流部に設けられた油排出孔を通って前記貯留槽本体の外部へと排出させられることを特徴とする床置型グリース阻集器。
続きを表示(約 900 文字)
【請求項2】
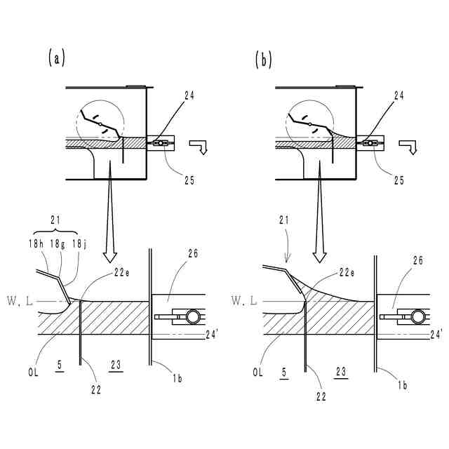
前記羽根板の先端には折れ曲がり部が設けられ、前記回転軸の回転中、前記折れ曲がり部は、前記分離室の油脂層に浸かって押し出す位置に設けられることを特徴とする床置型グリース阻集器。
【請求項3】
前記折れ曲がり部が前記油脂層に浸かっている際、前記折れ曲がり部の山部は、前記越流板側になるように配置されるとともに、前記回転軸は、前記油脂層を前記越流板の手前から前記越流板に向かって押し出す方向に回転されて、前記越流板の上端部を乗り越えさせることを特徴とする請求項2に記載の床置型グリース阻集器。
【請求項4】
前記羽根板は、前記回転軸を中心に二枚以上設けられていることを特徴とする請求項2に記載の床置型グリース阻集器。
【請求項5】
前記バスケットが設置される流入室と、前記排水トラップが設置される流出室とは隣接され、かつ、前記流入室と前記流出室との間には、第一隔壁を設けることによって排水の流れを遮断させ、
前記分離室は、前記流入室とも前記流出室とも隣接させ、
前記流入室と前記分離室との間には第二隔壁を設け、前記第二隔壁は、前記貯留槽本体の下方において排水が前記流入室から前記分離室へと排水が流れ込むように第一連通部を有し、
前記流出室と前記分離室との間には第三隔壁を設け、前記第三隔壁は、前記貯留槽本体の下方において排水が前記分離室から前記流出室へと排水が流れ込むように第二連通部を有し、
前記第二隔壁と前記第三隔壁との間には、前記第二隔壁と前記第三隔壁と直行する前記第四隔壁が前記分離室内に延在され、前記第四隔壁は、前記貯留槽本体の底面から前記貯留槽本体の標準水位面よりも低い位置にかけて設けられていることを特徴とする請求項1に記載の床置型グリース阻集器。
【請求項6】
油水分離中においては、排水は、前記貯留槽本体の中で、前記流入室から前記分離室へ流入し、前記分離室から前記流出室へと流れ、平面視コの字状に案内されることを特徴とする請求項5に記載の床置型グリース阻集器。
発明の詳細な説明
【技術分野】
【0001】
本発明は、排水に含まれる厨芥や油脂類などを下水に流出する前に排水から分離し収集するグリース阻集器に関する。
続きを表示(約 2,000 文字)
【背景技術】
【0002】
図5に示すように、シンク下の床上に設置するグリース阻集器100が開示されている。本来、グリース阻集器100は、床下の空間に埋設し、側溝と下水への排管の途中に設けるのが好ましい。しかしながら、建物の2階以上にある飲食店舗等で、下階への影響を鑑み、床上に設置しなければならない場合や、そもそも床下に埋設するスペースのない狭小な店舗などでは、シンク下に設置せざるを得ない場合がある。以下、床下に埋設せず、厨房の床に設置することを床置(ゆかおき)型と呼ぶこととする。床置型のグリース阻集器は、必ずしも床上に直接置くだけでなく、図7に示すように、シンク下の台の上に置く場合も含まれる。
【0003】
近年、調理設備を備えたキッチンカーが、オフィス街、キャンパスや公園など、街中で移動販売を行うことも増えている。キッチンカーには、排水を貯めるタンクを備えているが、タンクに流し込む前に、厨芥や油脂類を除去できる床置型グリース阻集器の需要は高まっている。
【0004】
埋設、床置に関わらず、グリース阻集器において、排水から油脂類を分離させるのは、水と油の比重の違いを利用した自然浮上分離方式を基本としたものが一般的に多く用いられるのであるが、自然浮上分離方式においては、貯留槽内における排水の流速が遅く、分離槽が大きく、上流から下流までの距離が長いほど、油脂類は浮上しやすい。しかしながら、上述したように、スペースに限りのある場所に設置される床置型グリース阻集器は、おのずと貯留槽の大きさにも限りがある。
【0005】
また、自然浮上分離方式では、分離槽で浮上した油脂類は、最低でも一週間に一度の定期的な掃除によって除去されることが推奨されており、その掃除を怠ると、分離槽に浮上した油脂類の量が累積的に増えて、せっかく浮上分離した油脂類さえも、排水の流れに乗って下水管へと流出する可能性がある。
【0006】
そこで、非特許文献1では、狭いスペースでもメンテナンスしやすい床置型グリース阻集器100が開示されている。図4に示すように、貯留槽本体101には、シンク排出口から延びる排水管が接続される流入口102と、流入口102の直下には、残飯や野菜くずなどの塵芥を受けるバスケット103を収容する流入室104、塵芥が取り除かれ油脂類を含む排水が流れ込む分離室105、分離室105で油水分離され、油脂類が除かれた排水が流れ込む流出室106とを有する。
【0007】
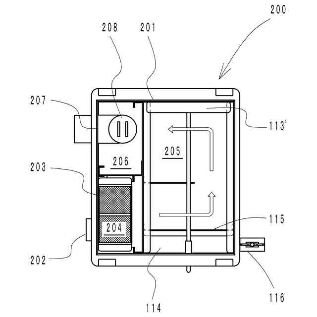
流出室106には、排水を下水へと流出させる流出口107が設けられており、流出室内側には、排水トラップ108、流出室外側は、下水へと排水を流す配水管へと接続される。貯留槽本体101の流入室104と分離室105、分離室105と流出室106とを区画する隔壁110、111が設けられ、隔壁110、111上端はフランジのガイド110´、111´が設けられる。このガイド110´、111´に沿って、分離室105の水面上に浮上した油脂類を回収する回収棒113付きの平面視T字の回収部113´を、貯留槽本体101の左右方向に往復させることによって油脂類を分離槽の集油部114に寄せ集める。集油部114の手前には断面視くの字の越流板115が設けられ、油脂類は越流板115を超えて、集油部114に集められる。集油部114のある分離槽の右側面には、油排出孔116が設けられており、バルブ117を開いて油脂類を貯留槽本体101から排出させる。
【0008】
しかしながら、図4(b)に示すように、断面視コの字の集油棒114を貯留槽本体101の左右幅一杯に往復させるため、油脂類を集油部114へかき集めた後、回収部113´を油排出孔のない側へと押し戻す際には、せっかく集めた油脂類が再び拡散してしまうこととなり、清掃時の油の回収率が60%程度にとどまっていた。また、阻集効率を高くするには、分離室を大きく確保できる方が望ましいのであるが、非特許文献1で開示された床置型グリース阻集器では分離室を大きくすると、貯留槽本体101そのものが大きくならざるを得ず、スペースの限られた厨房で使用されることの多い床置型では対応が難しいものがあった。
【0009】
そこで特許文献2に開示される床置型グリース阻集器200では、流入室204、分離室205、流出室206を図6のような配置とした。すなわち、流入口202と流出口207を同じ前側面に取り付け、分離室205を大きく取れるようにし、阻集効率の向上を図った。
【0010】
しかしながら、油脂類の回収機構が非特許文献1と同じであるため、回収方向に逆行させると油脂類が拡散してしまい、清掃で回収できる油脂類の回収率は低いままであった。
(【0011】以降は省略されています)
この特許をJ-PlatPat(特許庁公式サイト)で参照する
関連特許
ホーコス株式会社
排気フード
1か月前
ホーコス株式会社
換気扇取付枠
21日前
ホーコス株式会社
床置型グリース阻集器
21日前
個人
蛇口
3か月前
個人
ドクター中まミズつクル
12日前
株式会社タカギ
水栓装置
3か月前
ヒロテツ工業株式会社
溝カバー
3か月前
株式会社KVK
水栓
1か月前
タイガースポリマー株式会社
側溝
21日前
TOTO株式会社
便座装置
21日前
個人
夜露から水を創る用具と装置
4か月前
株式会社KVK
水栓
1か月前
株式会社KVK
水栓
1か月前
TOTO株式会社
トイレ装置
21日前
TOTO株式会社
トイレ装置
21日前
TOTO株式会社
トイレ装置
21日前
株式会社LIXIL
吐水装置
4か月前
株式会社大林組
雨水桝蓋
3か月前
株式会社タカギ
水栓装置
2か月前
丸一株式会社
排水栓装置
5か月前
株式会社タカギ
水栓装置
5か月前
ホーコス株式会社
床置型グリース阻集器
21日前
三興建設株式会社
排泄物処理装置
4か月前
日興株式会社
凍結防止装置
4か月前
センクシア株式会社
雨水貯留部材
4か月前
株式会社 林物産発明研究所
土木構造体
3か月前
TOTO株式会社
洗面器及び洗面台
1か月前
TOTO株式会社
洗面器及び洗面台
1か月前
昭和梱包資材株式会社
円筒状透水材
5か月前
TOTO株式会社
浴室床
1か月前
有限会社彩孔技研
接続継手および工法
4か月前
TOTO株式会社
洗い場床
2か月前
三興建設株式会社
下水道バイパス装置
1か月前
TOTO株式会社
トイレ装置
2か月前
TOTO株式会社
トイレ装置
2か月前
丸一株式会社
排水装置及び封水形成部材
3か月前
続きを見る
他の特許を見る