TOP
|
特許
|
意匠
|
商標
特許ウォッチ
Twitter
他の特許を見る
公開番号
2025075157
公報種別
公開特許公報(A)
公開日
2025-05-15
出願番号
2023186127
出願日
2023-10-31
発明の名称
チェアリフト搬器の椅子構造
出願人
日本ケーブル株式会社
代理人
主分類
B61B
11/00 20060101AFI20250508BHJP(鉄道)
要約
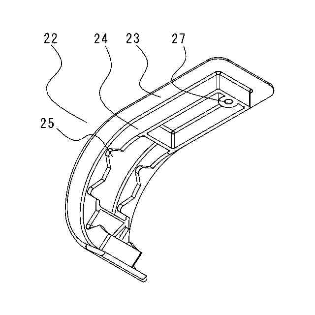
【課題】シートを搬器のフレームに係止する係止部材に生じる亀裂や欠損を極力防止でき、また、シートをずれることなく強固に係止することができるチェアリフト搬器の椅子構造を提供することを課題とする。
【解決手段】チェアリフトの搬器10において、切り欠き26を形成した座席シート18と、座席シート18を係止する係止部材22とを備え、係止部材22は座席シート18の湾曲形状に略合致するように形成された板部材23と、板部材23の下方へ突出して形成された嵌着部材24とを備え、嵌着部材24は下部を開口する箱形状であって両側面には板部材23方向へ向けて溝25が形成されており、係止部材22を熱可塑性エラストマーで形成した。
【選択図】図6
特許請求の範囲
【請求項1】
チェアリフトの搬器において、切り欠きを形成した座席シートと、該座席シートを係止する係止部材とを備え、該係止部材は前記座席シートの湾曲形状に略合致するように形成された板部材と、該板部材の下方へ突出して形成された嵌着部材とを備え、該嵌着部材は下部を開口する箱形状であって両側面には前記板部材方向へ向けて溝が形成されており、前記係止部材は熱可塑性エラストマーで形成されていることを特徴とする
発明の詳細な説明
【技術分野】
【0001】
本発明は、椅子式の搬器を用いて索道の運行を行うチェアリフトにおける搬器の椅子構造に関する。
続きを表示(約 1,500 文字)
【背景技術】
【0002】
チェアリフトは、空中に張架した無端状の索条に椅子型の搬器を懸垂し、索条を停留場間で循環移動させることにより搬器に搭乗した乗客を輸送する設備である。チェアリフトは、索条により搬器を懸垂及び牽引して運行を行うことから特に傾斜地での人員輸送に適しており、多くはスキー場等の山岳地域における傾斜地での人員輸送に利用されている。
【0003】
チェアリフトは上記のようにスキー場等の寒冷地で利用されることが多いことから、乗客が着座する搬器の座面及び背当てには、保温性や座り心地を考慮して弾力性や保温性を有するシートが採用されている。そして、乗客の体重が直接繰り返し作用する座面のシートには、このような繰り返し荷重による浮き上がりやズレを防止するために、一定の間隔で係止部材を配置し、これによりシートの外面を押圧して搬器のフレーム側へシートを係止している(例えば、特許文献1参照)。
【先行技術文献】
【特許文献】
【0004】
実開平1-106361号公報
【発明の概要】
【発明が解決しようとする課題】
【0005】
上記のようにスキー場で利用されるチェアリフトにおいては、利用するスキーヤーやスノーボーダーが装着するウェアは普段着に比べてサイズが大きく、このウェアが上記した係止部材に引っ掛かることがある。また、前記のウェアは強度が幾分高いために、系止部材への引っ掛かりが繰り返されると系止部材に亀裂が生じたり欠損が生じたりすることがある。
【0006】
本発明は、このような事情に鑑みてなされたものであって、チェアリフトの搬器において、シートを搬器のフレームに係止する係止部材に生じる亀裂や欠損を極力防止でき、また、シートをズレることなく強固に係止することができるチェアリフト搬器の椅子構造を提供することを目的としている。
【課題を解決するための手段】
【0007】
請求項1の発明は、チェアリフトの搬器において、切り欠きを形成した座席シートと、該座席シートを係止する係止部材とを備え、該係止部材は前記座席シートの湾曲形状に略合致するように形成された板部材と、該板部材の下方へ突出して形成された嵌着部材とを備え、該嵌着部材は下部を開口する箱形状であって両側面には前記板部材方向へ向けて溝が形成されており、前記係止部材は熱可塑性エラストマーで形成されていることを特徴としている。
【発明の効果】
【0008】
本発明によれば、係止部材により座席シートをずれることなく強固に係止することができ、また、係止部材を熱可塑性エラストマーで形成したことにより係止部材に生じる亀裂や欠損を極力防止できる。
【図面の簡単な説明】
【0009】
チェアリフト搬器の正面図
チェアリフト搬器の側面図
係止部材の側面図
係止部材の下面図
係止部材の下方からの斜視図
座席シートと係止部材を示した斜視図
【発明を実施するための形態】
【0010】
以下、本発明の具体的な実施の形態について図面を参照して説明する。図1は、チェアリフト搬器の正面図、図2はチェアリフト搬器の側面図である。搬器10の上部には、握索機11を備えており、この握索機11内部に備えたばねの作用力により索条12を握索または放索する。索条12は、少なくとも2か所の停留場間に無端状に張架されており、この索条12の循環移動にともなって索条12に懸垂した搬器10が停留場間を移動する。
(【0011】以降は省略されています)
この特許をJ-PlatPat(特許庁公式サイト)で参照する
関連特許
日本ケーブル株式会社
カート遊戯設備における走行軌跡記録システム
8日前
個人
車両及び走行システム
6か月前
日本信号株式会社
ホーム柵
2か月前
日本信号株式会社
検査装置
10か月前
日本信号株式会社
ホーム柵
1か月前
近畿車輌株式会社
耐火床構造
25日前
日本信号株式会社
ホーム柵装置
6か月前
日本車輌製造株式会社
鉄道車両
17日前
保線機器整備株式会社
保線用カート
8か月前
近畿車輌株式会社
鉄道車両の床構造
10か月前
ナブテスコ株式会社
ホームドア装置
2か月前
カヤバ株式会社
鉄道車両用制振装置
10か月前
日本信号株式会社
列車接近警報装置
2か月前
近畿車輌株式会社
鉄道車両の床構造
10か月前
川崎車両株式会社
鉄道車両用パネル
8か月前
日本車輌製造株式会社
台車組立装置
4か月前
近畿車輌株式会社
鉄道車両の床構造
10か月前
日本信号株式会社
物体検知装置
6か月前
株式会社東芝
台車搬送装置
21日前
日本信号株式会社
ホーム安全システム
6か月前
日本信号株式会社
ホームドア制御装置
3か月前
日本信号株式会社
踏切道監視システム
10か月前
日本ケーブル株式会社
索道の支索引留め装置
2か月前
株式会社ダイフク
搬送車
5か月前
前川鉄工株式会社
ロープ駆動装置
11か月前
ヤマハ発動機株式会社
無人搬送車
6か月前
ヤマハ発動機株式会社
無人搬送車
6か月前
株式会社日立製作所
鉄道車両
29日前
日本信号株式会社
列車接近警報システム
1日前
シャープ株式会社
表示装置
11か月前
ヤマハ発動機株式会社
無人搬送車
4か月前
ヤマハ発動機株式会社
無人搬送車
6か月前
株式会社ダイフク
搬送設備
6か月前
株式会社京三製作所
車上装置
7か月前
オークラ輸送機株式会社
無人搬送車
25日前
日本製鉄株式会社
鉄道車両
7か月前
続きを見る
他の特許を見る