TOP
|
特許
|
意匠
|
商標
特許ウォッチ
Twitter
他の特許を見る
10個以上の画像は省略されています。
公開番号
2025049944
公報種別
公開特許公報(A)
公開日
2025-04-04
出願番号
2023158480
出願日
2023-09-22
発明の名称
無人搬送車
出願人
ヤマハ発動機株式会社
代理人
個人
,
個人
主分類
B61B
13/00 20060101AFI20250327BHJP(鉄道)
要約
【課題】設備に対して良好に位置決めできるとともに、位置決めの際に設備の手前の床面が摩耗しにくい無人搬送車を提供する。
【解決手段】無人搬送車は、台車が車両本体に対して少なくとも水平方向に移動可能なように車両本体と台車とを連結する連結装置を備えている。連結装置は、左右移動機構130、回転機構140、および上下移動機構150を有している。左右移動機構130は、左右ガイドレールと、左右ガイドレールに摺動可能な左右移動体とを有している。回転機構140は、左右方向に延びる左右軸と、前後方向に延びる前後軸141と、左右軸および前後軸141に回転可能に係合する回転体とを有している。上下移動機構150は、上下方向に延びる第1上下ガイドレール151aおよび第2上下ガイドレール151bと、第1上下ガイドレール151aおよび第2上下ガイドレール151bに摺動可能に係合する上下移動体152とを有している。
【選択図】図10
特許請求の範囲
【請求項1】
設備に荷物を搬送すると共に前記設備と前記荷物の受け渡しを行う無人搬送車であって、
駆動力を発生させる走行用駆動源と、前記走行用駆動源の駆動力を受けて回転する駆動輪と、を有する車両本体と、
前記荷物を支持する荷台と、前記設備に係合することにより前記荷台を前記設備に対して位置決めする位置決め係合部と、を有する台車と、
前記台車が前記車両本体に対して少なくとも水平方向に移動可能なように前記車両本体と前記台車とを連結する連結装置と、
を備えた、無人搬送車。
続きを表示(約 1,100 文字)
【請求項2】
前記連結装置は、前記台車が前記車両本体に対して少なくとも車両左右方向に移動可能なように前記車両本体と前記台車とを連結している、請求項1に記載の無人搬送車。
【請求項3】
前記連結装置は、車両左右方向に延びる左右ガイドレールと、前記左右ガイドレールに摺動可能に係合する左右移動体と、を有し、
前記左右ガイドレールおよび前記左右移動体のいずれか一方は前記車両本体に取り付けられ、他方は前記台車に取り付けられている、請求項2に記載の無人搬送車。
【請求項4】
前記台車は、前記荷台を支持する車輪を有し、
前記連結装置は、前記台車が前記車両本体に対して左右に回転可能なように前記車両本体と前記台車とを連結している、請求項1に記載の無人搬送車。
【請求項5】
前記連結装置は、車両前後方向に延びる前後軸と、前記前後軸に回転可能に係合する左右回転体と、を有し、
前記前後軸および前記左右回転体のいずれか一方は前記車両本体に取り付けられ、他方は前記台車に取り付けられている、請求項4に記載の無人搬送車。
【請求項6】
前記台車は、前記荷台を支持する車輪を有し、
前記連結装置は、前記台車が前記車両本体に対して前後に回転可能なように前記車両本体と前記台車とを連結している、請求項1に記載の無人搬送車。
【請求項7】
前記連結装置は、車両左右方向に延びる左右軸と、前記左右軸に回転可能に係合する前後回転体と、を有し、
前記左右軸および前記前後回転体のいずれか一方は前記車両本体に取り付けられ、他方は前記台車に取り付けられている、請求項6に記載の無人搬送車。
【請求項8】
前記台車は、前記荷台を支持する車輪を有し、
前記連結装置は、前記台車が前記車両本体に対して車両上下方向に移動可能なように前記車両本体と前記台車とを連結している、請求項1に記載の無人搬送車。
【請求項9】
前記連結装置は、車両上下方向に延びる上下ガイドレールと、前記上下ガイドレールに摺動可能に係合する上下移動体と、を有し、
前記上下ガイドレールおよび前記上下移動体のいずれか一方は前記車両本体に取り付けられ、他方は前記台車に取り付けられている、請求項8に記載の無人搬送車。
【請求項10】
前記荷台は、前記車両本体の上方に配置され、
前記連結装置は、前記荷台の下方かつ前記車両本体の上方に配置されている、請求項1に記載の無人搬送車。
(【請求項11】以降は省略されています)
発明の詳細な説明
【技術分野】
【0001】
本発明は、設備に荷物を搬送すると共に設備と荷物の受け渡しを行う無人搬送車に関する。
続きを表示(約 1,900 文字)
【背景技術】
【0002】
従来から、工場等において、複数の設備の間で荷物を自動的に搬送する無人搬送車が用いられている。無人搬送車は、設備に向かって走行し、設備の手前の位置に到達すると自動的に停止する。停止後、無人搬送車は設備に荷物を引き渡し、または、設備から荷物を受け取る。ここで、設備に対する無人搬送車の位置がずれていると、荷物を良好に受け渡すことができない。そこで従来から、無人搬送車が設備の手前で停止した後、無人搬送車と設備との位置が揃うように、無人搬送車を設備に対して位置決めする位置決め装置が用いられている。
【0003】
特許文献1には、位置決めピンとテーパ状の内周面を有するピン穴とを備えた位置決め装置が記載されている。設備は下方に突出する突部を備えており、ピン穴は突部の下端部に形成されている。位置決めピンは無人搬送車に設けられており、上方に突出している。無人搬送車の位置決めの際には、設備がピン穴を下方に移動させることにより、位置決めピンがピン穴に挿入される。ピン穴の内周面はテーパ状に形成されているので、位置決めピンの軸線とピン穴の軸線とがずれている場合、ピン穴の下方への移動に伴って、位置決めピンはピン穴の内周面に接触する。位置決めピンはピン穴の内周面から下向きの力を受けると共に、位置決めピンの軸線とピン穴の軸線とが一致するように水平方向の力を受ける。無人搬送車は上記力を受けることによって水平方向に移動する。これにより、無人搬送車の位置ずれが解消される。
【先行技術文献】
【特許文献】
【0004】
実開平3-25908号公報
【発明の概要】
【発明が解決しようとする課題】
【0005】
上記の位置決め装置では、位置決めの際に無人搬送車が水平方向に移動する。この際、無人搬送車の車輪が床面上を滑ることによって、車輪と床面との間に摩擦が発生し、床面が摩耗する。ところで、工場等においては、無人搬送車と設備との間で荷物の受け渡しが繰り返し行われる。同一の設備に対して、無人搬送車の位置決めが何度も行われる。そのため、設備の手前の床面が摩耗しやすいという課題がある。
【0006】
本発明はかかる点に鑑みてなされたものであり、その目的は、設備に対して良好に位置決めできるとともに、位置決めの際に設備の手前の床面が摩耗しにくい無人搬送車を提供することである。
【課題を解決するための手段】
【0007】
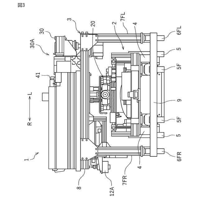
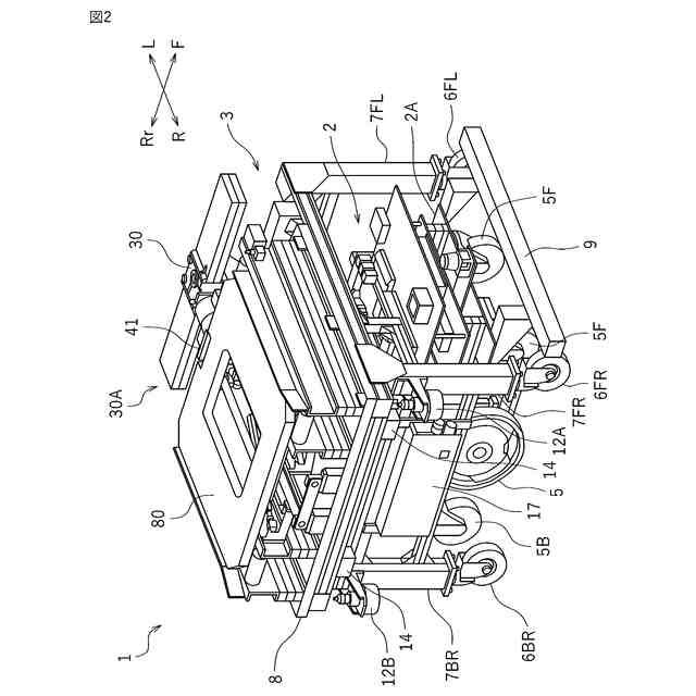
ここに開示される無人搬送車は、設備に荷物を搬送すると共に前記設備と前記荷物の受け渡しを行う無人搬送車である。前記無人搬送車は、駆動力を発生させる走行用駆動源と、前記走行用駆動源の駆動力を受けて回転する駆動輪と、を有する車両本体を備える。前記無人搬送車は、前記荷物を支持する荷台と、前記設備に係合することにより前記荷台を前記設備に対して位置決めする位置決め係合部と、を有する台車を備える。前記無人搬送車は、前記台車が前記車両本体に対して少なくとも水平方向に移動可能なように前記車両本体と前記台車とを連結する連結装置を備える。
【0008】
上記無人搬送車によれば、位置決め係合部が設備に係合することにより、設備に対する台車の位置ずれが防止され、台車が設備に対して位置決めされる。位置決めの際に台車が水平方向に力を受ける場合があるが、連結装置により、台車は車両本体に対して水平方向に移動可能である。そのため、台車が水平方向の力を受けたとしても、車両本体は水平方向に移動しない。位置決めの際に車両本体の駆動輪が床面上を滑ることが抑制されるので、設備の手前の床面が摩耗することを抑制することができる。
【0009】
前記連結装置は、前記台車が前記車両本体に対して少なくとも車両左右方向に移動可能なように前記車両本体と前記台車とを連結していてもよい。
【0010】
無人搬送車が設備の側方から設備に向かって走行し、設備の手前に停止したとき(すなわち、設備に横付けしたとき)に、駆動輪は車両前後方向を向き、設備は無人搬送車の側方に位置することになる。位置決めの際に位置決め係合部が設備から車両左右方向の力を受けた場合、台車が車両本体に対して車両左右方向に移動不能であると、駆動輪に車両左右方向の力が加わり、駆動輪が車両左右方向に滑るおそれがある。しかし、上記事項によれば、台車が車両本体に対して車両左右方向に移動可能であるので、駆動輪が床面上を滑ることが抑制される。よって、設備の手前の床面が摩耗することを抑制することができる。
(【0011】以降は省略されています)
この特許をJ-PlatPat(特許庁公式サイト)で参照する
関連特許
ヤマハ発動機株式会社
鞍乗型車両
2日前
ヤマハ発動機株式会社
鞍乗型車両
2日前
ヤマハ発動機株式会社
生産システム
15日前
ヤマハ発動機株式会社
電池パック及び電池パックの製造方法
1日前
ヤマハ発動機株式会社
クランプ装置、電子機器組立体、及び自転車
14日前
ヤマハ発動機株式会社
船舶の操舵制御装置および方法、並びに船舶
22日前
日本信号株式会社
検査装置
9か月前
日本信号株式会社
ホーム柵
1か月前
日本信号株式会社
ホーム柵
1か月前
個人
車両及び走行システム
5か月前
近畿車輌株式会社
耐火床構造
4日前
日本信号株式会社
ホーム柵装置
6か月前
カヤバ株式会社
鉄道車両用制振装置
9か月前
近畿車輌株式会社
鉄道車両の床構造
10か月前
近畿車輌株式会社
鉄道車両の床構造
10か月前
近畿車輌株式会社
鉄道車両の床構造
10か月前
日本信号株式会社
列車接近警報装置
1か月前
ナブテスコ株式会社
ホームドア装置
1か月前
日本車輌製造株式会社
台車組立装置
4か月前
保線機器整備株式会社
保線用カート
7か月前
川崎車両株式会社
鉄道車両用パネル
7か月前
日本信号株式会社
ホームドア制御装置
2か月前
株式会社ダイフク
搬送車
4か月前
日本信号株式会社
物体検知装置
5か月前
日本信号株式会社
踏切道監視システム
10か月前
日本信号株式会社
ホーム安全システム
6か月前
日本ケーブル株式会社
索道の支索引留め装置
2か月前
株式会社東芝
台車搬送装置
今日
シャープ株式会社
表示装置
11か月前
前川鉄工株式会社
ロープ駆動装置
11か月前
ヤマハ発動機株式会社
無人搬送車
6か月前
ヤマハ発動機株式会社
無人搬送車
4か月前
株式会社ダイフク
搬送設備
5か月前
ヤマハ発動機株式会社
無人搬送車
6か月前
株式会社日立製作所
鉄道車両
8日前
ヤマハ発動機株式会社
無人搬送車
6か月前
続きを見る
他の特許を見る