TOP
|
特許
|
意匠
|
商標
特許ウォッチ
Twitter
他の特許を見る
公開番号
2025003895
公報種別
公開特許公報(A)
公開日
2025-01-10
出願番号
2023103808
出願日
2023-06-24
発明の名称
跨座式モノレールシステム
出願人
株式会社 空スペース
代理人
主分類
B61B
13/06 20060101AFI20241227BHJP(鉄道)
要約
【課題】利用者の少ない鉄道単線を代替するモノレールであって、既存の鉄道軌道をそのまま利用して、複線化と無人運転を実現する跨座式モノレールシステムを提供する。
【解決手段】鉄道軌道の片側レール上を、ジャイロモーメント発生機構を使用した横転防止手段により走行させる。小型車両により、狭軌(一般的に1067mm)単線の一対のレールを上り/下りの複線として利用するもの。すれ違い時の車両退避が無いことより、ロープーウェイ同様、両端を循環する運行に単純化され無人運転化が容易。また、鉄道軌道を残していることより、従来通りの鉄道車両との併用運行が可能となる。これにより、通学客輸送等の時間変動や季節変動、人口変動等に輸送能力を合わせることが容易な輸送手段となる。
【選択図】図1
特許請求の範囲
【請求項1】
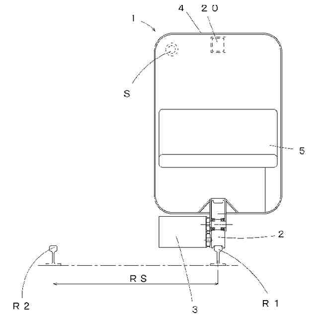
1本の軌道レール上に設置される跨座式モノレール車両において、車輪の支持、駆動、制動を行う駆動手段と、ジャイロモーメント発生機構による横転防止手段と、前記駆動手段への電力供給手段からなる跨座式モノレール車両
続きを表示(約 270 文字)
【請求項2】
前記軌道レールが鉄道用軌道の一対のレールの内の1本のレールであることを特徴とする請求項1に記載の跨座式モノレール車両。
【請求項3】
前記跨座式モノレール車両、及び既存鉄道車両の両方が走行可能なレール分岐装置。
【請求項4】
複数台の前記跨座式モノレール車両と、前記レール分岐装置と、各車両の傾斜と位置、すれ違い車両や先行車両、後継車両との距離を測定する計測手段と、前記計測手段が取得した情報により跨座式モノレール車両とレール分岐装置を監視制御することを特徴とする跨座式モノレールシステム。
発明の詳細な説明
【技術分野】
【0001】
本発明は1本のレール上を走行する跨座式モノレールシステムに関する。
続きを表示(約 1,800 文字)
【背景技術】
【0002】
モノレールは、鉄道とバスの中間的な輸送能力を有すること、また路線の施工費用が鉄道に対し廉価であることより、鉄道路線やバス路線の代替となり得る交通手段である。
【先行技術文献】
【特許文献】
【0003】
特開平3-31057
【発明の概要】
【発明が解決しようとする課題】
【0004】
しかしながら過疎化等で収益が悪化した鉄道ローカル線の代替は主にバス路線であり、モノレールへの転換例を聞かない。バス路線は道路の無償使用が前提であることに対し、モノレールは廃線前の鉄道路線を利用できず、多額の軌道設置費用が必用な事が主な原因である。
一方でローカル線とされる1日当りの利用客数1000人未満の路線であっても、利用者は一定時刻に集中する通学客が多いことより、これをバス路線で賄うためには、大型車や複数台の運行が必要、バス路線転換での費用削減効果は限定的であった。
【0005】
そこで本発明は、ローカル線で一般的な単線路線の軌道設備(枕木、レール、バラストまたはコンクリート基礎、レールを枕木に固定する犬釘等の締結具)と軌間寸法(ゲージ)を変更せずに利用可能にすると共に、互いに干渉せずにすれ違いが可能な複線の跨座式モノレールシステムを構築することにある。
さらに混雑時などはこの路線に、係る跨座式モノレール車両に代えて従来の鉄道車両を乗入れ可能とした、跨座式モノレールシステムを構築することにある。
【課題を解決するための手段】
【0006】
上記の課題を解決するために本発明の跨座式モノレール車両は、1本の軌道レール上に設置される跨座式モノレール車両において、車輪の支持、駆動、制動を行う駆動手段と、ジャイロモーメント発生機構による横転防止手段と、自車両の傾斜と位置、すれ違い車両や先行車両、後継車両との距離を測定する計測手段と、駆動手段、計測手段への電力供給手段と、計測手段が取得した情報を無線送信する情報発信手段からなる。
【0007】
また、軌道レールが鉄道用軌道の一対のレールの内の1本のレールであって、跨座式モノレール車両、及び既存鉄道車両の両方が走行可能なレール分岐装置を有し、複数台の前記跨座式モノレール車両とレール分岐装置からの情報を無線受信し、跨座式モノレール車両とレール分岐装置を監視制御する跨座式モノレールシステムを構成する。
【発明の効果】
【0008】
本発明の跨座式モノレール車両は、ローリング方向の姿勢をジャイロモーメント発生機構によっていることより、レールスパンや高さ相互差、個々のレール傾斜によって車体の姿勢変化が生じないことより、保線作業(レールスパンや高さ相互差の維持管理)が大幅に軽減される。
さらにローリング加振力はジャイロが抑止するのでレールは基本的に横方向力を受けないことより、レールの摩耗や倒れが大幅に低減される。これにより従来よりも軟弱な地盤へ敷設できる。
【0009】
また、運行車両を需要に合わせて、少量輸送向きの跨座式モノレール車両と大量輸送向きの従来車両から容易に選択できるのでエネルギー消費が抑制でき、従来車両は定員を増やした通学用に座席を撤去する、等の最適化が容易になる。
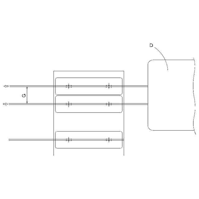
さらに、本発明の跨座式モノレールシステムは、既存鉄道の単線軌道をそのまま利用し、車両がその一方のレールのみを走行させて往路とし、他方のレールを復路とした利用を可能とする。これにより、従来の単線鉄道路線からの移行費用を最小限に抑えた複線路線が実現する。
また複線化により、すれ違い時の車両退避作業や、その時刻合わせが不要、ロープーウェイの様に両終点間を一方向に循環する経路に単純化されるので、運行ダイヤが不要となり、例えば乗客のスマートフォンからの呼び出しに依る配車も可能になる。
鉄道路線は基本的に歩行者や他の交通手段に対し優先通行権を有していることより、基本的に前車両との車間制御のみで安全な無人運行がでる。
【0010】
【図面の簡単な説明】
(【0011】以降は省略されています)
特許ウォッチbot のツイートを見る
この特許をJ-PlatPat(特許庁公式サイト)で参照する
関連特許
日本信号株式会社
ホーム柵
1か月前
個人
車両及び走行システム
5か月前
日本信号株式会社
ホーム柵
1か月前
日本信号株式会社
検査装置
9か月前
近畿車輌株式会社
耐火床構造
15日前
日本信号株式会社
ホーム柵装置
6か月前
日本車輌製造株式会社
鉄道車両
7日前
川崎車両株式会社
鉄道車両用パネル
8か月前
日本信号株式会社
列車接近警報装置
2か月前
ナブテスコ株式会社
ホームドア装置
2か月前
保線機器整備株式会社
保線用カート
8か月前
近畿車輌株式会社
鉄道車両の床構造
10か月前
近畿車輌株式会社
鉄道車両の床構造
10か月前
近畿車輌株式会社
鉄道車両の床構造
10か月前
カヤバ株式会社
鉄道車両用制振装置
9か月前
日本車輌製造株式会社
台車組立装置
4か月前
日本ケーブル株式会社
索道の支索引留め装置
2か月前
日本信号株式会社
踏切道監視システム
10か月前
日本信号株式会社
物体検知装置
6か月前
日本信号株式会社
ホームドア制御装置
3か月前
株式会社東芝
台車搬送装置
11日前
株式会社ダイフク
搬送車
4か月前
日本信号株式会社
ホーム安全システム
6か月前
ヤマハ発動機株式会社
無人搬送車
6か月前
ヤマハ発動機株式会社
無人搬送車
6か月前
株式会社日立製作所
鉄道車両
19日前
前川鉄工株式会社
ロープ駆動装置
11か月前
ヤマハ発動機株式会社
無人搬送車
6か月前
ヤマハ発動機株式会社
無人搬送車
4か月前
シャープ株式会社
表示装置
11か月前
株式会社ダイフク
搬送設備
5か月前
日本車輌製造株式会社
車両用ヒップレスト
1か月前
日本製鉄株式会社
鉄道車両
7か月前
日本信号株式会社
自動列車運転装置
2か月前
日本製鉄株式会社
鉄道車両
7か月前
株式会社 空スペース
跨座式モノレールシステム
9か月前
続きを見る
他の特許を見る