TOP
|
特許
|
意匠
|
商標
特許ウォッチ
Twitter
他の特許を見る
公開番号
2025077298
公報種別
公開特許公報(A)
公開日
2025-05-19
出願番号
2023189381
出願日
2023-11-06
発明の名称
静電アクチュエータ
出願人
本田技研工業株式会社
,
国立研究開発法人物質・材料研究機構
代理人
個人
,
個人
,
個人
,
個人
主分類
B81B
3/00 20060101AFI20250512BHJP(マイクロ構造技術)
要約
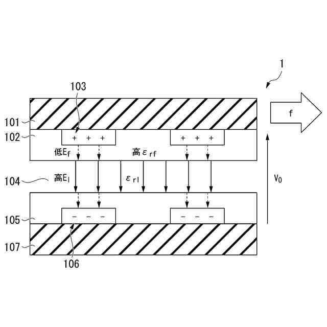
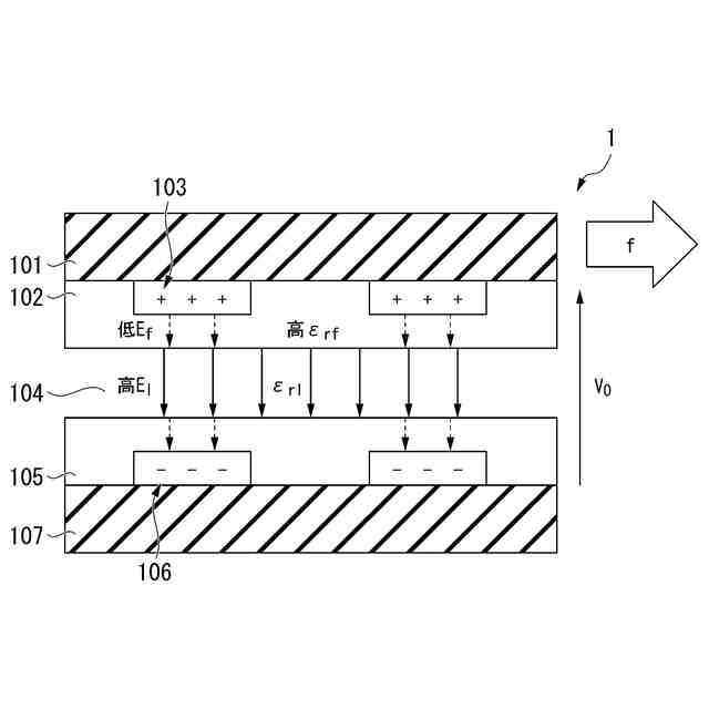
【課題】数100Vの小型軽量な既存ドライバでも実現可能な駆動電圧に下げることができる静電アクチュエータを提供することを目的とする。
【解決手段】静電アクチュエータは、一対の電極に対する電圧操作により電極の相互間で発生する静電気的力を駆動力として利用する静電アクチュエータであって、一対の電極と、一対の電極間に設けられる絶縁液の層である絶縁層と、一対の電極と絶縁層の間に設けられるカバー層と、を備え、カバー層は、ポリイミドの誘電率より高誘電率の素材であり、かつ伸縮性が小さい素材である。
【選択図】図4
特許請求の範囲
【請求項1】
一対の電極に対する電圧操作により前記電極の相互間で発生する静電気的力を駆動力として利用する静電アクチュエータであって、
前記一対の電極と、
前記一対の電極間に設けられる絶縁液の層である絶縁層と、
前記一対の電極と前記絶縁層の間に設けられるカバー層と、を備え、
前記カバー層は、ポリイミドの誘電率より高誘電率の素材であり、かつ伸縮性が小さい素材である、
静電アクチュエータ。
続きを表示(約 500 文字)
【請求項2】
前記カバー層は、少なくとも一部がシリコンと酸素によって形成されたガラス素材である、
請求項1に記載の静電アクチュエータ。
【請求項3】
前記ガラス素材は、低温焼結塗布型シリカをコーティングしたのち、加湿加熱製法により形成される、
請求項2に記載の静電アクチュエータ。
【請求項4】
前記カバー層は、前記電極と、前記絶縁層側の前記カバー層までの厚みが、1μm以下である、
請求項1に記載の静電アクチュエータ。
【請求項5】
前記絶縁層の誘電率は、前記カバー層の誘電率より低い、
請求項1に記載の静電アクチュエータ。
【請求項6】
前記電極は、
前記電極が形成される基板上に極性を付与し高極性部を形成し、
導電性材料を含有する液体を前記高極性部に付与し、
前記基板上を移動させることで前記導電性材料を含有する液体を広げるコーティングバーにより、前記高極性部上に前記導電性材料を含有する液体を塗布する、ことで形成される、
請求項1に記載の静電アクチュエータ。
発明の詳細な説明
【技術分野】
【0001】
本発明は、静電アクチュエータに関する。
続きを表示(約 1,500 文字)
【背景技術】
【0002】
近年、静電気力で発生するエネルギーを動力に変換し、物体を動かす働きをもつ静電アクチュエータの開発が進められている。静電アクチュエータは、例えば、可変焦点レンズの駆動、シャッターの駆動などの光学分野で使用されている。また、静電アクチュエータは、ロボットの人工筋肉、義手、義足などへの適用が研究されている。このような静電アクチュエータは、薄型基板が必要であり、FPC(Flexible printed circuits)を用いて作成される。例えば、ロボット等の人工筋肉に静電アクチュエータを用いる場合、静電アクチュエータは、例えばアディティブ法によって電極を作成することが検討されている(例えば、非特許文献1参照)。
【先行技術文献】
【非特許文献】
【0003】
Xuying Liu , Masayuki Kanehara , Chuan Liu,et al., “Spontaneous Patterning of High-Resolution Electronics via Parallel Vacuum Ultraviolet”, Adv. Mater. 2016, 28, 6568-6573, WILEY-VCH Verlag GmbH & Co. KGaA, Weinheim, 2016
【発明の概要】
【発明が解決しようとする課題】
【0004】
従来手法で作成した静電アクチュエータを例えばロボット等の人工筋肉として利用する場合は、駆動に例えば1kVを超えるような高電圧が必要であり、電源が大型化してしまう課題がある。
【0005】
本発明は、上記の問題点に鑑みてなされたものであって、数100Vの小型軽量な既存ドライバでも実現可能な駆動電圧に下げることができる静電アクチュエータを提供することを目的とする。
【課題を解決するための手段】
【0006】
(1)上記目的を達成するため、本発明の一態様に係る静電アクチュエータは、一対の電極に対する電圧操作により前記電極の相互間で発生する静電気的力を駆動力として利用する静電アクチュエータであって、前記一対の電極と、前記一対の電極間に設けられる絶縁液の層である絶縁層と、前記一対の電極と前記絶縁層の間に設けられるカバー層と、を備え、前記カバー層は、ポリイミドの誘電率より高誘電率の素材であり、かつ伸縮性が小さい素材である、静電アクチュエータである。
【0007】
(2)また、上記(1)に記載の一態様に係る静電アクチュエータにおいて、前記カバー層は、少なくとも一部がシリコンと酸素によって形成されたガラス素材であるようにしてもよい。
【0008】
(3)また、上記(2)に記載の一態様に係る静電アクチュエータにおいて、前記ガラス素材は、低温焼結塗布型シリカをコーティングしたのち、加湿加熱製法により形成されるようにしてもよい。
【0009】
(4)また、上記(1)から(4)のうちのいずれか1つに記載の一態様に係る静電アクチュエータにおいて、前記カバー層は、前記電極と、前記絶縁層側の前記カバー層までの厚みが、1μm以下であるようにしてもよい。
【0010】
(5)また、上記(1)から(4)のうちのいずれか1つに記載の一態様に係る静電アクチュエータにおいて、前記絶縁層の誘電率は、前記カバー層の誘電率より低いようにしてもよい。
(【0011】以降は省略されています)
この特許をJ-PlatPat(特許庁公式サイト)で参照する
関連特許
本田技研工業株式会社
車両
4日前
本田技研工業株式会社
電動無段変速装置
今日
本田技研工業株式会社
駆動装置ユニット
1日前
本田技研工業株式会社
二酸化炭素回収装置及び二酸化炭素回収方法
5日前
本田技研工業株式会社
学習装置、推定装置、学習方法、推定方法及びプログラム
4日前
ローム株式会社
半導体装置及びその製造方法
3か月前
ローム株式会社
半導体装置およびその製造方法
6か月前
株式会社村田製作所
二重層MEMSデバイスおよび製造方法
12か月前
ミツミ電機株式会社
MEMSデバイス、電気音響変換装置
13日前
ローム株式会社
センサ装置の製造方法及びセンサ装置
3か月前
株式会社村田製作所
MEMSデバイス及びMEMSデバイスの製造方法
3か月前
ローム株式会社
MEMS振動子、MEMS共振器およびそれらの製造方法
2か月前
TDK株式会社
MEMSデバイス
4日前
ローム株式会社
MEMSデバイス、液滴吐出ヘッド、インクジェットプリンタ
2か月前
本田技研工業株式会社
静電アクチュエータ
5か月前
キヤノン株式会社
液滴の処理装置、液滴の処理方法
7か月前
国立研究開発法人物質・材料研究機構
MEMS素子、MEMS素子の製造方法、およびMEMS素子の剛性を制御する方法
9か月前
パナソニックIPマネジメント株式会社
ウェハ接合構造、慣性センサ及びウェハ接合構造の製造方法
11日前
株式会社デンソー
微小振動体の製造方法
10か月前
株式会社デンソー
微小振動体およびその製造方法
8か月前
エムイーアイ・マイクロ,インコーポレーテッド
集積MEMSシステム
2か月前
ナヌセンス・ソシエダッド・リミターダ
集積回路チップ
22日前
エックス-ファブ グローバル サービシーズ ゲーエムベーハー
メンブレンデバイスの製造
5か月前
メンロ・マイクロシステムズ・インコーポレーテッド
プレーナ型貫通ガラスビア(TGV)付きのMEMSスイッチ
5か月前
ベルキン ビーブイ
フリーハンギングまたはフリースタンディングのマイクロチャネルを含む微小電気機械システム部品またはマイクロ流体部品
7か月前
株式会社ORBLET LIFE
情報処理システム、情報処理方法及びプログラム
7日前
ALL DIFFERENT株式会社
情報処理装置、情報処理方法及びプログラム
11日前
日産自動車株式会社
配車管理装置及び配車管理方法
1か月前
サノフィ・バイオテクノロジー
モノクローナル抗IL-1RAcP抗体
11か月前
株式会社ジェイテクト
PLCシステム
10か月前
他の特許を見る