TOP
|
特許
|
意匠
|
商標
特許ウォッチ
Twitter
他の特許を見る
公開番号
2025125817
公報種別
公開特許公報(A)
公開日
2025-08-28
出願番号
2024022021
出願日
2024-02-16
発明の名称
配車管理装置及び配車管理方法
出願人
日産自動車株式会社
代理人
個人
,
個人
,
個人
主分類
G08G
1/123 20060101AFI20250821BHJP(信号)
要約
【課題】 サービス対象エリアにおける車両に適切なタイミングでエネルギー補給を指示する。
【解決手段】 本発明は、サービス対象エリアにおける各車両の走行実績情報を格納する走行実績情報データベースと、前記各車両の残エネルギー量を含む車両情報を取得する車両情報取得部と、前記走行実績情報に基づいて、前記サービス対象エリアにおける特定の二点間の移動に係る予想所要時間のばらつき度を算出するばらつき度算出部と、前記ばらつき度に基づいて、前記車両に対するエネルギー補給基準値を設定するエネルギー補給基準値設定部と、前記各車両の前記残エネルギー量と設定された前記エネルギー補給基準値とに基づいて、該車両に対するエネルギーの補給が必要であるか否かを判断するエネルギー補給判断部と、エネルギー補給が必要であると判断される車両に対してエネルギー補給指示を行うエネルギー補給指示部と、を備える配車管理装置である。
【選択図】 図4
特許請求の範囲
【請求項1】
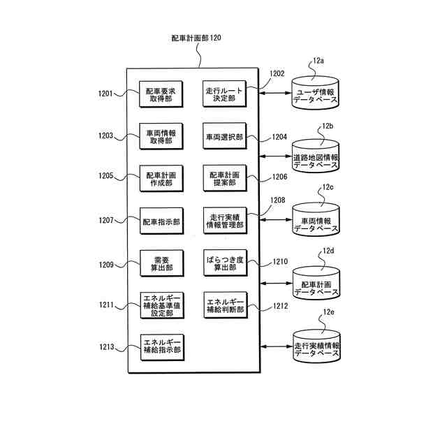
サービス対象エリアにおける車両の配車を管理する配車管理装置であって、
前記サービス対象エリアにおける各前記車両の走行実績情報を格納する走行実績情報データベースと、
前記各車両の少なくとも残エネルギー量を含む車両情報を取得する車両情報取得部と、
前記走行実績情報に基づいて、前記サービス対象エリアにおける特定の二点間の移動に係る予想所要時間のばらつき度を算出するばらつき度算出部と、
算出された前記ばらつき度に基づいて、前記車両に対するエネルギー補給基準値を設定するエネルギー補給基準値設定部と、
取得された前記各車両の前記残エネルギー量と設定された前記エネルギー補給基準値とに基づいて、該車両に対するエネルギーの補給が必要であるか否かを判断するエネルギー補給判断部と、
前記車両に対するエネルギー補給が必要であると判断される場合に、該車両に対してエネルギー補給指示を行うエネルギー補給指示部と、を備える、
配車管理装置。
続きを表示(約 940 文字)
【請求項2】
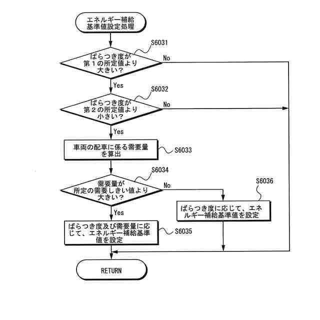
前記エネルギー補給基準値設定部は、前記ばらつき度が第1の所定値を上回る場合に、前記エネルギー補給基準値が高くなるように、前記エネルギー補給基準値を変更する、
請求項1に記載の配車管理装置。
【請求項3】
前記エネルギー補給基準値設定部は、前記ばらつき度が大きいほど前記エネルギー補給基準値が高くなるように、前記エネルギー補給基準値を変更する、
請求項2に記載の配車管理装置。
【請求項4】
前記エネルギー補給基準値設定部は、前記ばらつき度が前記第1の所定値よりも大きい第2の所定値に達するまで、前記エネルギー補給基準値が高くなるように、前記エネルギー補給基準値を変更する、
請求項3に記載の配車管理装置。
【請求項5】
前記エネルギー補給基準値設定部は、前記複数の車両のうちの一部に対する前記エネルギー補給基準値を変更する、
請求項1に記載の配車管理装置。
【請求項6】
所定の時間帯における前記車両の配車に係る需要量を算出する需要量算出部を更に備える、
請求項1に記載の配車管理装置。
【請求項7】
前記エネルギー補給基準値設定部は、前記需要量が所定の需要しきい値を上回る場合に、前記需要量に応じて、前記エネルギー補給基準値を設定する、
請求項6に記載の配車管理装置。
【請求項8】
前記エネルギー補給判断部は、前記車両の全体の前記残エネルギー量の平均値と、前記エネルギー補給基準値とに基づいて、前記各車両に対するエネルギーの補給が必要であるか否かを判断する、
請求項1に記載の配車管理装置。
【請求項9】
前記エネルギー補給指示部は、前記車両の全体のうち、前記残エネルギー量が低い車両に対して優先的にエネルギー補給指示を行う、
請求項8に記載の配車管理装置。
【請求項10】
ばらつき度算出部は、前記特定の二点間の走行ルートに対する前記予想所要時間のばらつき度を算出する、
請求項1に記載の配車管理装置。
(【請求項11】以降は省略されています)
発明の詳細な説明
【技術分野】
【0001】
本発明は、配車管理装置及び配車管理方法に関する。
続きを表示(約 1,800 文字)
【背景技術】
【0002】
モビリティサービスは、車両による乗客及び/又は荷物の輸送をスムーズに提供するサービスである。モビリティサービスでは、車両の稼働率を高めつつ、ユーザの利便性を向上させるために、車両の効率的な利用が要求される。例えば、ユーザからのリアルタイムの配車要求に対して短時間で車両を配車する、いわゆるオンデマンド型の配車サービスでは、各車両の走行残エネルギー量(SOC)や燃料残量に基づく航続可能距離に応じて、該車両に対して走行エネルギーの補給又は充填を適切に指示する必要がある。
【0003】
例えば、下記特許文献1は、利用者からの配車要求に応じて共用車両を配車する配車管理装置において、共用車両のそれぞれの航続距離を算出し、該複数の共用車両の全体の航続距離を算出し、該全体の航続距離が第1の所定値以下の場合に、該共用車両の走行エネルギーの補給の要否を判断し、該共用車両の走行エネルギーの補給の要否の判断に基づき、補給が必要と判断された共用車両に対して補給指示を行う技術を開示している。
【先行技術文献】
【特許文献】
【0004】
国際公開第2019/197854号公報https://www.j-platpat.inpit.go.jp/c1800/PU/JP-7008802/6DFF3D40AE6491F0DA66379C93AFB81FECA375F37E40DF90241917BC49BA12F4/15/ja
【発明の概要】
【発明が解決しようとする課題】
【0005】
しかしながら、上記特許文献1に開示された技術は、ユーザの配車要求に応じた共用車両の出発地から目的地までの二点間の移動に係る予想所要時間のばらつき度を考慮して、走行エネルギーの補給指示を行っていなかった。このため、共用車両に対する走行エネルギーの補給指示が適切なタイミングで行われないと、配車要求を満たす車両の配車を行うことができない恐れがある。例えば、配車時点で共用車両に対する走行エネルギーの補給が不要と判断された場合であっても、出発地から目的地までの移動に係る予想所要時間に大幅な遅延が生じると、必要な走行エネルギーが不足してしまうという事態が生じる恐れがあった。
【0006】
そこで、本発明は、サービス対象エリアにおける車両に対して、適切なタイミングで、エネルギーの補給を指示することができるようにした配車管理装置及び配車管理方法を提供することを目的とする。
【課題を解決するための手段】
【0007】
上記課題を解決するための本発明は、以下に示す発明特定事項乃至は技術的特徴を含んで構成される。
【0008】
ある観点に従う本発明は、サービス対象エリアにおける車両の配車を管理する配車管理装置である。前記配車管理装置は、前記サービス対象エリアにおける各前記車両の走行実績情報を格納する走行実績情報データベースと、前記各車両の少なくとも残エネルギー量を含む車両情報を取得する車両情報取得部と、前記走行実績情報に基づいて、前記サービス対象エリアにおける特定の二点間の移動に係る予想所要時間のばらつき度を算出するばらつき度算出部と、算出された前記ばらつき度に基づいて、前記車両に対するエネルギー補給基準値を設定するエネルギー補給基準値設定部と、取得された前記各車両の前記残エネルギー量と設定された前記エネルギー補給基準値とに基づいて、該車両に対するエネルギーの補給が必要であるか否かを判断するエネルギー補給判断部と、前記車両に対するエネルギー補給が必要であると判断される場合に、該車両に対してエネルギー補給指示を行うエネルギー補給指示部と、を備える。
【0009】
また、本発明は、配車要求に応答して車両の配車を管理する配車管理装置による配車管理方法並びに該方法を実行するためのコンピュータプログラム及びこれを非一時的に記録した記録媒体としても成立する。
【0010】
なお、本開示において、「システム」とは、複数の装置(又は特定の機能を実現する機能モジュール)が論理的に集合した物のことをいい、各装置や機能モジュールが単一の筐体内にあるか否かは問わない。
【発明の効果】
(【0011】以降は省略されています)
この特許をJ-PlatPat(特許庁公式サイト)で参照する
関連特許
日産自動車株式会社
保持機構
2日前
日産自動車株式会社
積層型電池
2日前
日産自動車株式会社
面圧付与機構
2日前
日産自動車株式会社
配車管理装置及び配車管理方法
3日前
日産自動車株式会社
車両制御装置及び車両制御方法
3日前
日産自動車株式会社
画像処理方法及び画像処理装置
9日前
日産自動車株式会社
画像表示方法及び画像表示装置
9日前
日産自動車株式会社
固体酸化物形燃料電池の製造方法
4日前
日産自動車株式会社
電池の仕分け方法及び電池の仕分け装置
3日前
日産自動車株式会社
電池品質診断方法及び電池品質診断装置
3日前
日産自動車株式会社
電池劣化診断方法及び電池劣化診断装置
3日前
日産自動車株式会社
ルート選出装置、ルート選出方法およびプログラム
3日前
日産自動車株式会社
車両制御装置及びこれによる車両周囲の空間認識処理方法
3日前
日産自動車株式会社
駐車支援方法、駐車支援装置及びコンピュータプログラム
9日前
日本精機株式会社
警報システム
1か月前
個人
自動電動車椅子
1か月前
株式会社SUBARU
車両
10日前
エムケー精工株式会社
車両誘導装置
1か月前
スズキ株式会社
運転支援装置
1か月前
ニッタン株式会社
検知器
1か月前
ニッタン株式会社
検知器
1か月前
ニッタン株式会社
発信機
2か月前
ニッタン株式会社
検知器
17日前
ニッタン株式会社
発信機
2か月前
個人
磁気路上での車両の路線離脱防御
20日前
ニッタン株式会社
検知器
1か月前
株式会社国際電気
防災システム
1か月前
トヨタ自動車株式会社
車両
2か月前
大阪瓦斯株式会社
音声出力システム
16日前
トヨタ自動車株式会社
サーバ
24日前
個人
乗り物の移動を支援する方法及び装置
3か月前
日本信号株式会社
異常走行検出装置
24日前
株式会社小糸製作所
移動体検出装置
1か月前
ダイハツ工業株式会社
移動支援装置
2日前
株式会社SUBARU
運転支援装置
18日前
株式会社CCT
通信装置及び表示方法
17日前
続きを見る
他の特許を見る