TOP
|
特許
|
意匠
|
商標
特許ウォッチ
Twitter
他の特許を見る
公開番号
2025082128
公報種別
公開特許公報(A)
公開日
2025-05-28
出願番号
2023195398
出願日
2023-11-16
発明の名称
粒子凝集促進装置及び集塵機
出願人
株式会社山本工作所
,
学校法人日本大学
代理人
個人
,
個人
,
個人
,
個人
主分類
B01D
51/08 20060101AFI20250521BHJP(物理的または化学的方法または装置一般)
要約
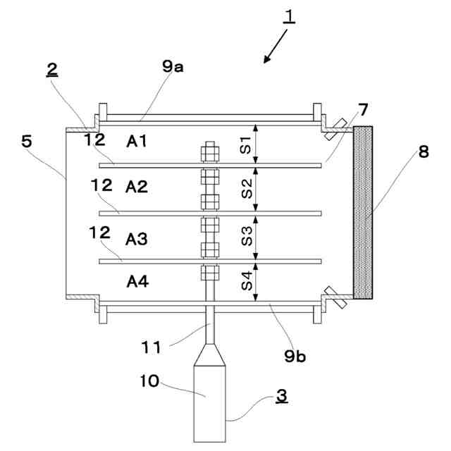
【課題】流路の断面積が大きい集塵機の内部に配置されても、十分に機能する粒子凝集促進装置を提供する。
【解決手段】粒子凝集促進装置3は、振動子10と、互いに平行に配置された複数枚の平板12と、振動子10と平板12との間にあって両者を連結する単一のねじ軸11と、ねじ軸11の任意の位置において、平板12をねじ軸11に連結するナット13と、を備える。
【選択図】図1
特許請求の範囲
【請求項1】
振動子と、
互いに平行に配置された複数枚の平板と、
前記振動子と前記平板との間ににあって両者を連結する単一の棒状部材と、
前記棒状部材の任意の位置において、前記平板を前記棒状部材に連結する連結手段と、を備える、
粒子凝集促進装置。
続きを表示(約 470 文字)
【請求項2】
前記棒状部材は雄ねじが形成されたねじ軸であって、
前記連結手段は、前記ねじ軸に螺合されて、前記平板を挟持する2個のナットである、
請求項1に記載の粒子凝集促進装置。
【請求項3】
前記ねじ軸に挿通されて、前記平板と前記ナットの間に挟持されるカラーを備えて、
2個の前記カラーの間で前記平板が挟持される、
請求項2に記載の粒子凝集促進装置。
【請求項4】
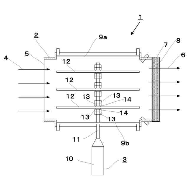
筐体と、
前記筐体の内部に配置された請求項1から請求項3のいずれか一項に記載の粒子凝集促進装置を備えるとともに、
前記筐体の一方端に処理対象空気が流入する流入口を備え、
前記筐体の他方端に前記処理対象空気が流出する流出口を備え、
前記流出口に宛がわれて、前記処理対象空気に含まれる固体粒子を捕捉するフィルタを備え、
前記粒子凝集促進装置が備える前記平板は、前記流入口から前記流出口に向かう前記処理対象空気の流れに平行に配置されている、
集塵機。
発明の詳細な説明
【技術分野】
【0001】
本発明は、処理対象空気に含まれる固体粒子の凝集を促す粒子凝集促進装置と、該粒子凝集促進装置を備える集塵機に関する。
続きを表示(約 1,600 文字)
【背景技術】
【0002】
処理対象空気をフィルタで濾過して、処理対象空気に含まれる固体粒子を除去する濾過式の集塵機の内部に、処理対象空気に含まれる固体粒子の凝集を促進する粒子凝集促進装置を備えることが知られている。集塵機に粒子凝集促進装置を備えると、固体粒子の粒径が拡大するので、フィルタにおける固体粒子の捕捉率が向上する。また、目の粗いフィルタで固体粒子を捕捉することが可能になる。フィルタの目を粗くすれば、集塵機の流路抵抗が減少するので、集塵機に処理対象空気を送給する送風機に必要な動力が小さくなる。
【0003】
例えば、特許文献1に記載の粒子分離装置は、流路に固定された反射板と、流路内にあって反射板に対向配置された振動板と、振動板に超音波振動を与える振動子を備えている。特許文献1の記載によれば、振動板を振動させることによって、振動板と反射板の間にある処理対象空気に定在波が発生する。処理対象空気に含まれる固体粒子に定在波が作用することによって、固体粒子の凝集が促進される。その結果、粒径が拡大した固体粒子は、流路の下流端に置かれたフィルタによって捕捉され除去される。
【0004】
このように、特許文献1に記載の粒子分離装置において、振動子と振動板と反射板の組は、粒子凝集促進装置として機能する。
【先行技術文献】
【特許文献】
【0005】
特開2018-134612号公報
【発明の概要】
【発明が解決しようとする課題】
【0006】
集塵機においては、単位時間当たりの処理能力を拡大することが求められている。単位時間当たりの処理能力を拡大するためには、単位時間に集塵機を通過する処理対象空気の流量を大きくする必要がある。単位時間に集塵機を通過する処理対象空気の流量を大きくするためには、集塵機を通過する処理対象空気の流速を大きくするか、あるいは、集塵機の流路の断面積を大きくする必要がある。
【0007】
しかしながら、集塵機を通過する処理対象空気の流速を大きくすると、流路抵抗が増加するので、送風に必要な動力が大きくなる。また、集塵機において発生する騒音が大きくなる。そのため、集塵機を通過する処理対象空気の流速を大きくすることは望ましくない。
【0008】
一方、集塵機の流路の断面積を大きくする場合には、上記の問題は生じない。しかしながら、特許文献1に記載の集塵機において流路の断面積を拡大すると、振動板と反射板の間の間隔が拡がる。振動板と反射板の間の間隔を拡げると、振動板から放射された音波が反射板に届く間に減衰するので、十分な音場を形成することができない。そのため、処理対象空気に含まれる固体粒子を十分に凝集させることができなくなる。その結果、固体粒子を十分に捕捉して除去することができなくなる。このように、特許文献1に記載の集塵機においては、流路の断面積を単純に拡大しても、集塵機の処理能力は向上しないと言う問題がある。
【0009】
本発明は上記の事情に鑑みてなされたものであり、流路の断面積が大きい集塵機の内部に配置されても、十分に機能する粒子凝集促進装置を提供することを目的とする。また、該粒子凝集促進装置を備える集塵機を提供することを目的とする。
【課題を解決するための手段】
【0010】
上記の目的を達成するために、本発明に係る粒子凝集促進装置は、振動子と、互いに平行に配置された複数枚の平板と、振動子と平板との間にあって両者を連結する単一の棒状部材と、棒状部材の任意の位置において、平板を棒状部材に連結する連結手段と、を備えるものである。
(【0011】以降は省略されています)
この特許をJ-PlatPat(特許庁公式サイト)で参照する
関連特許
ユニチカ株式会社
複合中空糸膜
6日前
東レ株式会社
中空糸膜モジュール
5日前
株式会社ニクニ
液体処理装置
19日前
日本化薬株式会社
メタノール改質触媒
20日前
株式会社大善
濃縮脱水機
29日前
三機工業株式会社
ろ過装置
1か月前
テルモ株式会社
ろ過デバイス
1か月前
株式会社カネカ
濃縮システム
1か月前
株式会社MRT
微細バブル発生装置
9日前
株式会社カネカ
製造システム
1か月前
株式会社笹山工業所
濁水処理システム
9日前
東京理化器械株式会社
クリップ
13日前
株式会社切川物産
撹拌混合装置
1か月前
個人
攪拌装置
9日前
株式会社Tornada
気泡発生装置
1か月前
日本ソリッド株式会社
水中懸濁物質付着素材
28日前
ノリタケ株式会社
ガス吸収シート
20日前
ヤマシンフィルタ株式会社
フィルタ装置
27日前
ヤマシンフィルタ株式会社
フィルタ装置
7日前
ダイハツ工業株式会社
二酸化炭素分解装置
28日前
大陽日酸株式会社
CO2の回収方法
1日前
本田技研工業株式会社
ガス回収装置
1日前
株式会社福島県南環境衛生センター
処理装置
1か月前
浙江漢信科技有限公司
攪拌装置
1か月前
杉山重工株式会社
回転円筒型反応装置
9日前
中外炉工業株式会社
ガス発生装置及び窒化装置
29日前
東レ株式会社
多孔中実繊維、繊維束および浄化カラム
28日前
本田技研工業株式会社
分離システム
9日前
株式会社インパクト
消臭剤又は消臭紙の製造方法
12日前
本田技研工業株式会社
二酸化炭素回収装置
5日前
本田技研工業株式会社
二酸化炭素回収装置
7日前
靜甲株式会社
高圧損発生ユニット並びに充填装置
27日前
個人
生分解性蓄熱マイクロカプセルおよびその製造方法
28日前
本田技研工業株式会社
二酸化炭素回収装置
7日前
本田技研工業株式会社
二酸化炭素回収装置
1日前
本田技研工業株式会社
二酸化炭素回収装置
7日前
続きを見る
他の特許を見る