TOP
|
特許
|
意匠
|
商標
特許ウォッチ
Twitter
他の特許を見る
公開番号
2025082864
公報種別
公開特許公報(A)
公開日
2025-05-30
出願番号
2023196353
出願日
2023-11-20
発明の名称
油圧ユニット
出願人
株式会社不二越
代理人
個人
,
個人
主分類
F04B
49/06 20060101AFI20250523BHJP(液体用容積形機械;液体または圧縮性流体用ポンプ)
要約
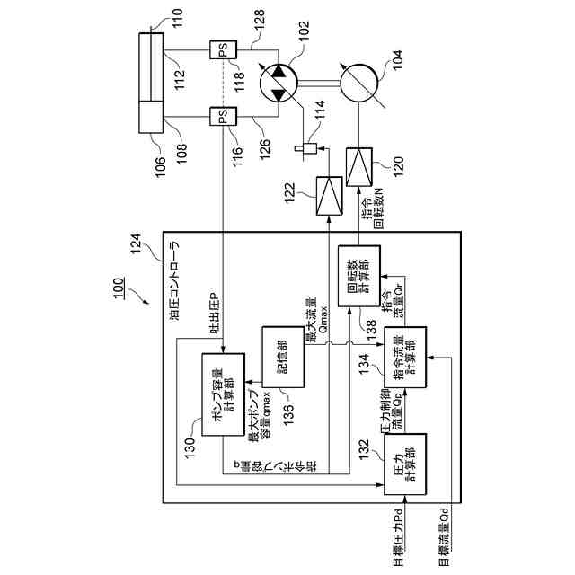
【課題】可変容量型の油圧ポンプを用いて、指令通りの圧力及び流量を発生可能な油圧ユニットを提供する。
【解決手段】油圧ユニット100の油圧コントローラ124は、モータ104の最大許容トルク及び油圧ポンプ102の最大ポンプ容量qmaxを超えないように、吐出圧Pに応じて指令ポンプ容量qを計算し、吐出圧Pに応じて目標圧力Pdを達成する圧力制御流量Qpを計算し、目標流量Qd、圧力制御流量Qp及び最大流量Qmaxのうち最も小さい流量を指令流量Qrとし、指令流量Qr及び指令ポンプ容量qに基づいてモータ104の指令回転数Nを計算する。
【選択図】図2
特許請求の範囲
【請求項1】
可変容量型の油圧ポンプと、
前記油圧ポンプのポンプ容量qτを変化させる電磁比例弁と、
前記油圧ポンプを駆動するインバータ駆動式のモータと、
前記油圧ポンプの吐出圧Pを測定可能な圧力センサと、
前記油圧ポンプにより駆動される油圧アクチュエータと、
前記電磁比例弁及び前記モータへの指令を出力し、目標圧力Pd及び目標流量Qdを入力可能な油圧コントローラとを備え、
前記油圧コントローラは、
前記モータの最大許容トルクτmax及び前記油圧ポンプの最大ポンプ容量qmaxを超えないように、前記吐出圧Pに基づいて前記油圧ポンプの指令ポンプ容量qを計算するポンプ容量計算部と、
前記目標圧力Pdを達成するための圧力制御流量Qpを前記吐出圧Pに基づいて計算する圧力計算部と、
前記目標流量Qd、前記圧力制御流量Qp、及び前記油圧ポンプが吐出可能な最大流量Qmaxのうち、最も小さい流量を指令流量Qrとして選択する指令流量計算部と、
前記指令流量Qr及び前記指令ポンプ容量qに基づいて、前記モータの指令回転数Nを計算する回転数計算部と、
を備えることを特徴とする油圧ユニット。
続きを表示(約 260 文字)
【請求項2】
前記回転数計算部は、N=Qr/qの計算式に従って前記指令回転数Nを計算することを特徴とする請求項1に記載の油圧ユニット。
【請求項3】
前記回転数計算部は、No=Qr/qよりも大きく、かつ最大回転数Nmaxを超えないように前記指令回転数Nを計算することを特徴とする請求項1に記載の油圧ユニット。
【請求項4】
前記回転数計算部は、N=min(α・No,Nmax)(ただし、α>1)の計算式に従って前記指令回転数Nを計算することを特徴とする請求項3に記載の油圧ユニット。
発明の詳細な説明
【技術分野】
【0001】
本発明は、可変容量型の油圧ポンプと、油圧ポンプを駆動するインバータ駆動式のモータとを含んで構成される油圧ユニットに関する。
続きを表示(約 1,800 文字)
【背景技術】
【0002】
油圧ユニットは、作動油の圧力調整や流量調整を行うことで各種作業を行うものであり、油圧ポンプと、油圧ポンプを駆動するインバータ駆動式のモータとを備える。油圧ポンプが可変容量型である場合には、モータによって1回転するごとの作動油の吐出量、すなわちポンプ容量を外部からの電気信号で変化させることができる。インバータ駆動式のモータは、回転数を変化させることが可能である。
【0003】
油圧ユニットは、モータによって油圧ポンプを駆動し、モータの回転数を変化させることで油圧ポンプから吐出される作動油の圧力や流量を制御することにより、油圧シリンダや油圧モータなどの油圧アクチュエータを駆動する。
【0004】
特許文献1には、可変容量型の液圧ポンプと、液圧ポンプを駆動する電動機と、液圧ポンプ及び電動機を駆動制御する電子制御回路と、を備える吐出流量制御装置が開示されている。また、特許文献1には、誘導電動機の回転速度の追従の遅れに応じて液圧ポンプの吐出流量を大きくすることにより、吐出流量の応答性の低下を防止できることが開示されている。
【0005】
特許文献2には、圧力調整機構が内蔵されているピストンポンプと、可変速モータと、インバータ制御装置と、圧力センサと、コントローラと、を備えるインバータ駆動油圧装置が開示されている。また、特許文献2には、圧力調整機構の圧力がカットオフ開始圧力より低い場合には「吐出圧力-回転数」の関係からモータの回転数を算出し、圧力調整機構の圧力がカットオフ開始圧力より高い場合には「トルク-回転数」の関係から回転数を算出することが開示されている。
【先行技術文献】
【特許文献】
【0006】
特開2002-195164号公報
特開2019-183944号公報
【発明の概要】
【発明が解決しようとする課題】
【0007】
しかし、特許文献1に開示される装置では、吐出流量を流量指令に追従させるべく誘導電動機の回転速度を最大限に上げることで、モータの出力が過剰に大きくなってしまう。また、特許文献2に開示される装置では、油圧の増加に応じてポンプ容量を減少させるので、モータの最大許容トルクを超えないように圧力調整機構を調整する必要がある。
【0008】
このように、特許文献1及び2に開示される装置によれば、最大許容トルク又は最大回転数を超えないようにモータを制御することは可能であるものの、安全性を考慮して、本来は出力可能であった圧力や流量よりも余裕を見て(つまり、マージンを大きく取って)制限する必要があった。また、指令通りの圧力又は流量を正確に出力することも困難であるという問題があった。
【0009】
本発明はこのような問題に鑑みてなされたものであり、その目的は、モータの最大許容トルク又は最大回転数を超えることなく、可変容量型の油圧ポンプを介して指令通りの圧力及び流量を発生させることができる油圧ユニットを提供することにある。
【課題を解決するための手段】
【0010】
本発明の第一態様における油圧ユニットは、可変容量型の油圧ポンプと、前記油圧ポンプのポンプ容量qτを変化させる電磁比例弁と、前記油圧ポンプを駆動するインバータ駆動式のモータと、前記油圧ポンプの吐出圧Pを測定可能な圧力センサと、前記油圧ポンプにより駆動される油圧アクチュエータと、前記電磁比例弁及び前記モータへの指令を出力し、目標圧力Pd及び目標流量Qdを入力可能な油圧コントローラとを備え、前記油圧コントローラは、前記モータの最大許容トルクτmax及び前記油圧ポンプの最大ポンプ容量qmaxを超えないように、前記吐出圧Pに基づいて前記油圧ポンプの指令ポンプ容量qを計算するポンプ容量計算部と、前記目標圧力Pdを達成するための圧力制御流量Qpを前記吐出圧Pに基づいて計算する圧力計算部と、前記目標流量Qd、前記圧力制御流量Qp、及び前記油圧ポンプが吐出可能な最大流量Qmaxのうち、最も小さい流量を指令流量Qrとして選択する指令流量計算部と、前記指令流量Qr及び前記指令ポンプ容量qに基づいて、前記モータの指令回転数Nを計算する回転数計算部と、を備える。
(【0011】以降は省略されています)
この特許をJ-PlatPat(特許庁公式サイト)で参照する
関連特許
株式会社不二越
ロボット
1か月前
株式会社不二越
噛み込み検知装置
2日前
株式会社不二越
X線測定システム
16日前
株式会社不二越
ノンリーク三方弁
1か月前
株式会社不二越
X線測定システム
17日前
株式会社不二越
複合アクチュエータ
1か月前
株式会社不二越
斜板式ピストンポンプ
24日前
株式会社不二越
移動ロボットシステム
1か月前
株式会社不二越
ロボットに用いる伝送路
15日前
株式会社不二越
固定構造および固定治具
8日前
株式会社不二越
可変容量制御ピストンポンプ
1か月前
株式会社不二越
X線回折測定装置及びプログラム
1か月前
株式会社不二越
センサシステム及びロボットシステム
15日前
株式会社不二越
超硬合金およびこれを用いた切削工具
8日前
株式会社不二越
歯車加工用合金鋼およびそれを用いた歯車
1か月前
株式会社不二越
直動軸受用合金鋼およびそれを用いた直動軸受
4日前
株式会社不二越
冷間金型用合金鋼およびそれを用いた冷間金型
8日前
個人
海流製造装置。
1か月前
株式会社スギノマシン
圧縮機
23日前
株式会社ツインバード
送風装置
1か月前
株式会社ツインバード
送風装置
1か月前
カヤバ株式会社
電動ポンプ
2か月前
日機装株式会社
遠心ポンプ
15日前
ビッグボーン株式会社
送風装置
2か月前
株式会社不二越
蓄圧装置
3か月前
株式会社ノーリツ
ロータリ圧縮機
1か月前
株式会社酉島製作所
ポンプ
4か月前
サンデン株式会社
スクロール圧縮機
29日前
株式会社不二越
ベーンポンプ
3か月前
小倉クラッチ株式会社
ルーツブロア
3か月前
株式会社坂製作所
スクロール圧縮機
4か月前
サンデン株式会社
スクロール圧縮機
29日前
樫山工業株式会社
真空ポンプ
24日前
サンデン株式会社
可変容量型圧縮機
2日前
サンデン株式会社
スクロール圧縮機
29日前
株式会社ノーリツ
ロータリー圧縮機
4か月前
続きを見る
他の特許を見る