TOP
|
特許
|
意匠
|
商標
特許ウォッチ
Twitter
他の特許を見る
10個以上の画像は省略されています。
公開番号
2025141385
公報種別
公開特許公報(A)
公開日
2025-09-29
出願番号
2024041286
出願日
2024-03-15
発明の名称
X線回折測定装置及びプログラム
出願人
株式会社不二越
代理人
個人
,
個人
主分類
G01N
23/207 20180101AFI20250919BHJP(測定;試験)
要約
【課題】測定対象物における所定の相の体積率に対する測定値の信頼性の向上を図ることができるX線回折測定装置を提供する。
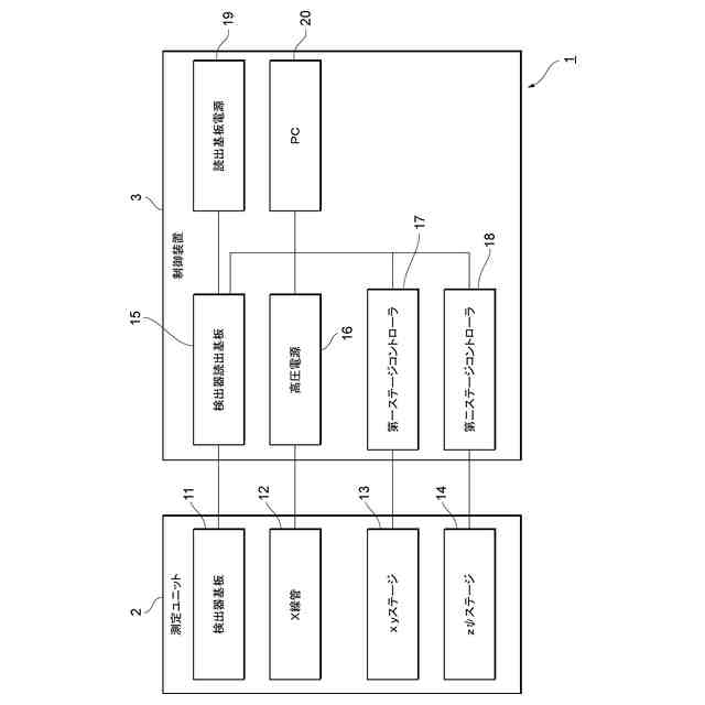
【解決手段】γ相とα相とを含む測定対象物又はγ相とα相とを含む標準試料に対してX線を照射し、当該測定対象物又は当該標準試料の回折X線を検出する測定ユニット2と、測定ユニット2による標準試料の回折X線の検出値に基づいて求めた当該標準試料のγ相の体積率を、標準試料の実際のγ相の体積率に補正する補正式を求め、測定ユニット2による測定対象物の回折X線の検出値に基づいて求めたγ相の体積率を、当該補正式に基づいて補正する制御装置3と、を備える。
【選択図】図1
特許請求の範囲
【請求項1】
第一の相と第二の相とを含む測定対象物に対してX線を照射し、当該測定対象物の回折X線を検出するとともに、当該第一の相と当該第二の相とを含む標準試料に対してX線をその照射範囲の相対位置を変更してそれぞれ照射し、各照射範囲における当該標準試料の回折X線を検出する測定ユニットと、
前記測定ユニットによる前記標準試料の各照射範囲における回折X線の各検出値に基づいて求めた当該標準試料の前記第一の相の体積率を、当該標準試料の各照射範囲における実際の当該体積率にそれぞれ補正する補正式を求め、当該測定ユニットによる前記測定対象物の回折X線の検出値に基づいて求めた前記第一の相の体積率を、当該補正式に基づいて補正する解析部と、
を備えることを特徴とするX線回折測定装置。
続きを表示(約 910 文字)
【請求項2】
前記標準試料は、前記第一の相の領域と前記第二の相の領域とが一つの境界によって分かれており、
前記標準試料に対する各照射範囲は、前記境界を含むことを特徴とする請求項1に記載のX線回折測定装置。
【請求項3】
前記照射範囲の相対位置の変更は、前記境界に対して垂直方向に為されることを特徴とする請求項2に記載のX線回折測定装置。
【請求項4】
前記照射範囲の相対位置の変更は、更に前記境界に対して平行に為されることを特徴とする請求項3に記載のX線回折測定装置。
【請求項5】
前記標準試料は、前記第一の相と前記第二の相の実際の前記体積率が互いに異なる複数であり、各標準試料は、それぞれ当該第一の相と当該第二の相とが混合された状態であり、
前記制御装置は、前記測定ユニットによる各標準試料に対する複数の前記検出値に基づいて、前記補正式を求めることを特徴とする請求項1に記載のX線回折測定装置。
【請求項6】
前記第一の相はオーステナイト相であり、前記第二の相はフェライト及びマルテンサイト相であることを特徴とする請求項1から5のいずれか1項に記載のX線回折測定装置。
【請求項7】
コンピュータを、
第一の相と第二の相とを含む測定対象物に対してX線を照射し、当該測定対象物の回折X線を検出するとともに、当該第一の相と当該第二の相とを含む標準試料に対してX線をその照射範囲の相対位置を変更してそれぞれ照射し、各照射範囲における当該標準試料の回折X線を検出する測定ユニットから、各検出値を受信する受信部、
前記受信部が受信した前記標準試料の各照射範囲における回折X線の各検出値に基づいて求めた当該標準試料の前記第一の相の体積率を、当該標準試料の各照射範囲における実際の当該体積率にそれぞれ補正する補正式を求め、当該受信部が受信した前記測定対象物の回折X線の検出値に基づいて求めた前記第一の相の体積率を、当該補正式に基づいて補正する解析部、
として機能させることを特徴とするプログラム。
発明の詳細な説明
【技術分野】
【0001】
本発明は、X線回折測定装置及びプログラムに関する。
続きを表示(約 1,100 文字)
【背景技術】
【0002】
オーステナイト相(以下、「γ相」と呼称する。)とフェライト及びマルテンサイト相(以下、「α相」と呼称する。)を有する測定対象物に対してX線を照射し、回折したX線(以下、「回折X線」と呼称する。)を検出することで、測定対象物のγ相の体積率を算出するX線回折測定装置が知られている。
【0003】
例えば下記特許文献1には、γ相の回折X線の検出値から、そのピーク値の積分強度を求めることにより、γ相の体積率を算出する技術が開示されている。
【先行技術文献】
【特許文献】
【0004】
特開平07-140094号公報
【発明の概要】
【発明が解決しようとする課題】
【0005】
しかしながら、上述のように回折X線の検出値に基づいて算出(測定)したγ相の体積率は、X線回折測定装置の仕様等によって値が変わってしまい、試料のγ相体積率の絶対値に対して、上述のように測定して得たγ相体積率の値を保証できないという問題があった。
【0006】
上記問題に鑑み、本発明は、測定対象物における所定の相の体積率に対する測定値の信頼性を向上することができる、X線回折測定装置及びプログラムを提供することを目的とする。
【課題を解決するための手段】
【0007】
上記課題を解決するために、本発明に係るX線回折測定装置は、第一の相と第二の相とを含む測定対象物に対してX線を照射し、当該測定対象物の回折X線を検出するとともに、当該第一の相と当該第二の相とを含む標準試料に対してX線をその照射範囲の相対位置を変更してそれぞれ照射し、各照射範囲における当該標準試料の回折X線を検出する測定ユニットと、前記測定ユニットによる前記標準試料の各照射範囲における回折X線の各検出値に基づいて求めた当該標準試料の前記第一の相の体積率を、当該標準試料の各照射範囲における実際の当該体積率にそれぞれ補正する補正式を求め、当該測定ユニットによる前記測定対象物の回折X線の検出値に基づいて求めた前記第一の相の体積率を、当該補正式に基づいて補正する解析部と、を備える。
【0008】
また、前記標準試料は、前記第一の相の領域と前記第二の相の領域とが一つの境界によって分かれており、前記標準試料に対する各照射範囲は、前記境界を含む。
【0009】
また、前記照射範囲の相対位置の変更は、前記境界に対して垂直方向に為される。
【0010】
また、前記照射範囲の相対位置の変更は、更に前記境界に対して平行に為される。
(【0011】以降は省略されています)
この特許をJ-PlatPat(特許庁公式サイト)で参照する
関連特許
株式会社不二越
ロボット
4日前
株式会社不二越
硬質材料
17日前
株式会社不二越
ブローチ盤
17日前
株式会社不二越
アクチュエータ
27日前
株式会社不二越
熱処理システム
27日前
株式会社不二越
ロボット操作装置
1か月前
株式会社不二越
ロボットシステム
28日前
株式会社不二越
ロボットシステム
25日前
株式会社不二越
エッジ仕上げ装置
17日前
株式会社不二越
ノンリーク三方弁
7日前
株式会社不二越
複合アクチュエータ
7日前
株式会社不二越
垂直多関節ロボット
18日前
株式会社不二越
移動ロボットシステム
7日前
株式会社不二越
可変容量制御ピストンポンプ
7日前
株式会社不二越
X線回折測定装置及びプログラム
7日前
株式会社不二越
センサ及びセンサを備えるロボット
1か月前
株式会社不二越
データ修復機能を有する回路システム
1か月前
株式会社不二越
マルテンサイト系ステンレス鋼焼結体
1か月前
株式会社不二越
歯車加工用合金鋼およびそれを用いた歯車
17日前
個人
計量スプーン
27日前
日本精機株式会社
位置検出装置
5日前
日本精機株式会社
位置検出装置
5日前
日本精機株式会社
位置検出装置
5日前
大和製衡株式会社
組合せ秤
10日前
大和製衡株式会社
組合せ秤
10日前
アズビル株式会社
圧力センサ
4日前
株式会社ユーシン
操作検出装置
7日前
エイブリック株式会社
磁気センサ回路
4日前
アンリツ株式会社
分光器
1か月前
アンリツ株式会社
分光器
1か月前
ダイハツ工業株式会社
測定用具
1か月前
トヨタ自動車株式会社
表示装置
19日前
株式会社東芝
センサ
10日前
トヨタ自動車株式会社
検査装置
7日前
株式会社東芝
センサ
10日前
株式会社ヨコオ
コンタクタ
1か月前
続きを見る
他の特許を見る