TOP
|
特許
|
意匠
|
商標
特許ウォッチ
Twitter
他の特許を見る
10個以上の画像は省略されています。
公開番号
2025157944
公報種別
公開特許公報(A)
公開日
2025-10-16
出願番号
2024060315
出願日
2024-04-03
発明の名称
画像形成装置及び画像形成方法、並びにプログラム
出願人
キヤノン株式会社
代理人
個人
主分類
B41J
29/38 20060101AFI20251008BHJP(印刷;線画機;タイプライター;スタンプ)
要約
【課題】既存の基本的な用紙種類で使用したいユーザと、種々の用途に応じて自身らの定義した用紙種類で使用したいユーザとが混在する使用環境に適合して、用紙種類の選択操作を効率化してユーザ利便性の向上を図る画像形成装置を提供する。
【解決手段】画像形成装置100は、用紙特性を取得するメディアセンサ14と、メディアセンサ14で取得された用紙特性及びユーザ属性情報を用いて用紙種類を選定する選定手段600と、を有し、ユーザ属性情報の各ユーザ属性には、ユーザごとにユーザ種別が設定されており、選定手段600は、ユーザ種別に第1用紙種類が設定されている場合には、第1用紙種類から用紙種類を選定し、ユーザ種別に第1用紙種類とは異なる第2用紙種類が設定されている場合には、第2用紙種類から用紙種類を選定する。
【選択図】図6A
特許請求の範囲
【請求項1】
用紙特性を取得するセンサ手段と、
前記センサ手段で取得された用紙特性及びユーザ属性情報を用いて用紙種類を選定する選定手段と、
を有し、
前記ユーザ属性情報の各ユーザ属性には、ユーザごとにユーザ種別が設定されており、
前記選定手段は、
前記ユーザ種別に第1用紙種類が設定されている場合には、前記第1用紙種類から用紙種類を選定し、
前記ユーザ種別に前記第1用紙種類とは異なる第2用紙種類が設定されている場合には、前記第2用紙種類から用紙種類を選定する、
画像形成装置。
続きを表示(約 870 文字)
【請求項2】
前記選定手段は、
登録されている複数の用紙種類を、前記センサ手段で取得された前記用紙特性を用いて一次フィルタし、
前記一次フィルタされた前記複数の用紙種類を、認証中ユーザの前記ユーザ種別に設定された前記第1用紙種類または前記第2用紙種類を用いて二次フィルタして、
用紙種類を選定する、
請求項1に記載の画像形成装置。
【請求項3】
用紙種類の選定の優先度が設定可能な優先度設定手段を更に有しており、
前記選定手段は、前記優先度設定手段によって設定された優先度情報に基づいて、用紙種類を選定する、
請求項1に記載の画像形成装置。
【請求項4】
前記優先度設定手段は、前記各ユーザ属性、認証中ユーザによって登録された用紙種類、前記第1用紙種類、及び前記第2用紙種類のうちから選ばれた1つ以上にそれぞれ前記優先度を設定可能としている、
請求項3に記載の画像形成装置。
【請求項5】
前記第1用紙種類は、予め設定されている用紙種類であり、
前記第2用紙種類は、前記第1用紙種類に追加してユーザが設定可能な用紙種類である、
請求項1に記載の画像形成装置。
【請求項6】
前記ユーザ属性はユーザロールである、
請求項1に記載の画像形成装置。
【請求項7】
前記ユーザ種別はオフィスユーザである、
請求項6に記載の画像形成装置。
【請求項8】
前記ユーザ種別はプロダクションユーザである、
請求項6に記載の画像形成装置。
【請求項9】
前記ユーザ属性はユーザ部門である、
請求項1に記載の画像形成装置。
【請求項10】
前記選定手段が用紙種類を一意に特定できない場合には、選択可能な用紙種類として選定された用紙種類を表示させる、
請求項1に記載の画像形成装置。
(【請求項11】以降は省略されています)
発明の詳細な説明
【技術分野】
【0001】
本開示は、画像形成装置及び画像形成方法、並びにプログラムに関するものである。
続きを表示(約 2,400 文字)
【背景技術】
【0002】
レーザービーム光により感光体上に形成された静電潜像をトナーで現像し、そのトナー像を用紙に転写して熱定着する画像形成装置は、普通紙や厚紙等の用紙種類毎に最適な搬送速度や定着温度を設定することで、良好な印刷物の取得を可能としている。例えば、画像形成装置は、予め記憶している用紙種類毎の印刷制御パラメータ群に従って制御を切り替えることで、良好な画像形成動作を実現している。用紙種類は、画像形成装置に設けられた操作部や画像形成装置に接続されたPC(パーソナルコンピュータ)等の画面上から、ユーザ操作により手動設定される方法が知られている。近年では、用紙の表面性や厚みを検知する紙種検知センサ(メディアセンサ)を画像形成装置内部に設け、その紙種検知センサの検知結果を基に用紙種類を自動設定することが可能な装置が登場してきている。例えば、印刷時に、メディアセンサを用いることによって、適切な用紙種類を自動決定する方法が提案されている。(特許文献1を参照)。
【先行技術文献】
【特許文献】
【0003】
特開2005-70877号公報
【発明の概要】
【発明が解決しようとする課題】
【0004】
近年、例えばオフィス用途とプロダクション用途との両方を想定した画像形成装置に対しても、メディアセンサが搭載されるようになった。オフィス用途のユーザ(オフィスユーザ)は、用紙種類は特に意識しないがために自動設定を選択する。これに対して、プロダクション用途のユーザ(プロダクションユーザ)は、厳密に用紙登録を行って用紙を使い分けるために自動設定を用いて用紙種類を登録する。このような画像形成装置の使用環境では、上記のようなオフィスユーザとプロダクションユーザとが混在することになる。この場合、利用用途の異なるユーザと、登録された用紙種類の増加との影響で、メディアセンサと用紙種類の使用履歴情報による用紙種類の自動決定では、精度が十分に向上されず、用紙種類の誤判定が生じることが懸念される。
【0005】
本開示は、既存の基本的な用紙種類で使用したいユーザと、種々の用途に応じて自身らの定義した用紙種類で使用したいユーザとが混在する使用環境に適合して、用紙種類の選択操作を効率化して、いずれのユーザについてもユーザ利便性の向上を図る画像形成装置及び方法を提供することを目的とする。
【課題を解決するための手段】
【0006】
本開示の画像形成装置は、用紙特性を取得するセンサ手段と、前記センサ手段で取得された用紙特性及びユーザ属性情報を用いて用紙種類を選定する選定手段と、を有し、前記ユーザ属性情報の各ユーザ属性には、ユーザごとにユーザ種別が設定されており、前記選定手段は、前記ユーザ種別に第1用紙種類が設定されている場合には、前記第1用紙種類から用紙種類を選定し、前記ユーザ種別に前記第1用紙種類とは異なる第2用紙種類が設定されている場合には、前記第2用紙種類から用紙種類を選定する。
【0007】
本開示の画像形成方法は、センサ手段により用紙特性を取得するステップと、登録されている複数の用紙種類を、センサ手段で取得された前記用紙特性を用いてフィルタするステップと、各ユーザ属性にユーザごとにユーザ種別が設定されているユーザ属性情報を用いて、前記ユーザ種別に第1用紙種類が設定されている場合には、前記第1用紙種類から用紙種類を選定し、前記ユーザ種別に前記第1用紙種類とは異なる第2用紙種類が設定されている場合には、前記第2用紙種類から用紙種類を選定するステップと、を有する。
【発明の効果】
【0008】
本開示によれば、既存の基本的な用紙種類で使用したいユーザと、種々の用途に応じて自身らの定義した用紙種類で使用したいユーザとが混在する使用環境に適合して、用紙種類の選択操作を効率化していずれのユーザについてユーザ利便性の向上を図る画像形成装置及び方法が実現する。
【図面の簡単な説明】
【0009】
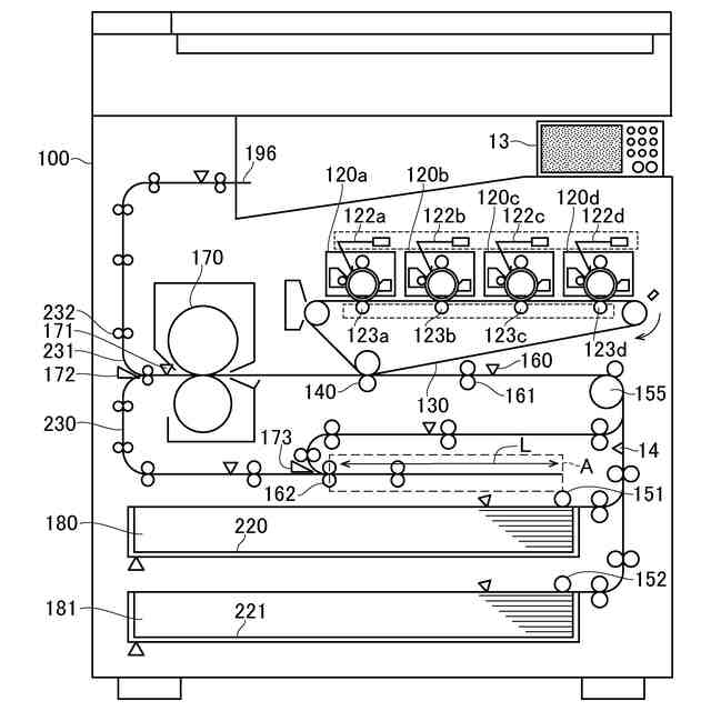
本実施形態による画像形成装置の全体的構成について概略的に示す断面図である。
本実施形態による画像形成装置のCPUにより制御される主要な構成を示す模式図である。
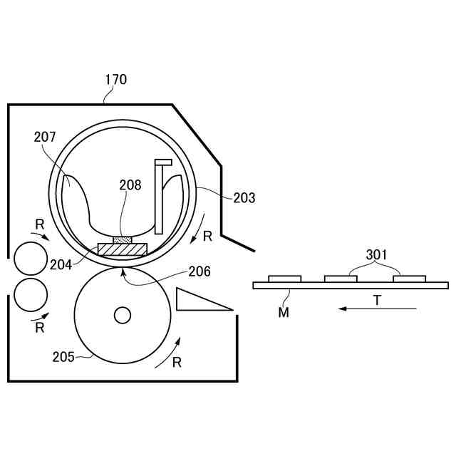
定着器の構成及び定着の説明に用いる模式図である。
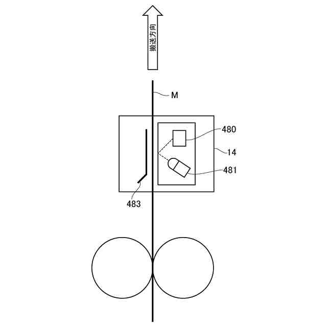
メディアセンサについて説明するための模式図である。
ユーザ定義用紙の作成方法について説明するための模式図である。
本実施形態における用紙情報選定機能を説明するための機能構成図である。
本実施形態において、画像形成態様1における用紙情報選定機能を説明するための機能構成図である。
画像形成装置による印刷及び用紙種類の選択処理までの一連の画面遷移について説明するための機能構成図である。
用紙種類の優先度設定を説明するための模式図である。
ユーザ属性情報のテーブルの一例を示す模式図である。
用紙情報管理データの一例を示す模式図である。
画像形成態様1において、印刷ジョブの受信から印刷実行までの方法を示すフローチャートである。
画像形成態様2において、印刷ジョブの受信から印刷実行までの方法を示すフローチャートである。
図11BのS1106を詳細化した用紙種類のフィルタリングに関するフローチャートである。
【発明を実施するための形態】
【0010】
-実施形態における画像形成装置の基本的構成-
具体的に実施形態を開示するにあたり、実施形態における画像形成装置の基本的構成について説明する。
(【0011】以降は省略されています)
この特許をJ-PlatPat(特許庁公式サイト)で参照する
関連特許
キヤノン株式会社
トナー
11日前
キヤノン株式会社
トナー
11日前
キヤノン株式会社
トナー
11日前
キヤノン株式会社
トナー
16日前
キヤノン株式会社
定着装置
24日前
キヤノン株式会社
定着装置
10日前
キヤノン株式会社
電子機器
18日前
キヤノン株式会社
現像装置
9日前
キヤノン株式会社
現像容器
9日前
キヤノン株式会社
現像装置
9日前
キヤノン株式会社
現像容器
9日前
キヤノン株式会社
記録装置
16日前
キヤノン株式会社
記録装置
9日前
キヤノン株式会社
電子機器
20日前
キヤノン株式会社
撮像装置
16日前
キヤノン株式会社
撮影装置
9日前
キヤノン株式会社
測距装置
4日前
キヤノン株式会社
収容装置
24日前
キヤノン株式会社
撮像装置
12日前
キヤノン株式会社
現像装置
2日前
キヤノン株式会社
発光装置
23日前
キヤノン株式会社
表示装置
23日前
キヤノン株式会社
半導体装置
18日前
キヤノン株式会社
光学センサ
11日前
キヤノン株式会社
現像剤容器
17日前
キヤノン株式会社
モジュール
11日前
キヤノン株式会社
画像形成装置
17日前
キヤノン株式会社
画像形成装置
17日前
キヤノン株式会社
画像形成装置
17日前
キヤノン株式会社
画像形成装置
12日前
キヤノン株式会社
表示システム
17日前
キヤノン株式会社
画像形成装置
12日前
キヤノン株式会社
カートリッジ
9日前
キヤノン株式会社
画像形成装置
12日前
キヤノン株式会社
画像形成装置
5日前
キヤノン株式会社
画像処理装置
17日前
続きを見る
他の特許を見る