TOP
|
特許
|
意匠
|
商標
特許ウォッチ
Twitter
他の特許を見る
10個以上の画像は省略されています。
公開番号
2025158006
公報種別
公開特許公報(A)
公開日
2025-10-16
出願番号
2024060425
出願日
2024-04-03
発明の名称
撮影システムに含まれる装置、及び撮影システム
出願人
キヤノン株式会社
代理人
個人
,
個人
,
個人
,
個人
主分類
H04N
23/66 20230101AFI20251008BHJP(電気通信技術)
要約
【課題】時刻情報を外部から取得し、ログデータに時刻情報を付与して処理することを可能とし、メンテナンス性を向上させた、撮影システムに含まれる装置を提供することを目的とする。
【解決手段】撮影システムに含まれる装置であって、前記装置のログデータを処理する処理手段と、前記ログデータに時刻情報を付与する設定手段と、前記ログデータに付与する前記時刻情報を外部に対して要求する要求手段とを有することを特徴とする。
【選択図】図1
特許請求の範囲
【請求項1】
撮影システムに含まれる装置であって、
前記装置のログデータを処理する処理手段と、
前記ログデータに時刻情報を付与する設定手段と、
前記ログデータに付与する前記時刻情報を外部に対して要求する要求手段とを有することを特徴とする装置。
続きを表示(約 1,000 文字)
【請求項2】
ユーザが入力可能な入力手段と、情報を表示する表示部とを有し、
前記設定手段は、前記入力手段への入力に基づいて前記時刻情報を付与し、
前記要求手段は、前記時刻情報の入力を促す情報を前記表示部に表示させることを特徴とする請求項1に記載の装置。
【請求項3】
前記撮影システムに含まれる第1装置と通信する通信部を備え、
前記設定手段は、前記通信部を介して前記第1装置から取得した第1時刻情報を前記時刻情報として前記ログデータに付与し、
前記要求手段は、前記通信部を介して前記第1装置に時刻情報の要求を送信することを特徴とする請求項1に記載の装置。
【請求項4】
前記ログデータに付与する前記時刻情報として選択する選択手段を備え、
前記要求手段は、前記第1装置に対して前記第1時刻情報の精度である第1時刻精度情報を要求し、
前記選択手段は、取得した前記第1時刻精度情報と、前記装置の保持している前記時刻情報の精度である時刻精度情報とに基づき、前記第1時刻情報か前記時刻情報の何れかを前記ログデータに付与する前記時刻情報として選択することを特徴とする請求項3に記載の装置。
【請求項5】
前記選択手段は、精度の高い時刻情報を選択することを特徴とする請求項4に記載の装置。
【請求項6】
前記選択手段は、前記時刻情報を付与する前記ログデータに適合した精度を選択することを特徴とする請求項4に記載の装置。
【請求項7】
前記装置の異常を検出する異常検出手段を有し、
前記要求手段は、前記異常検出手段により異常が検出された場合、所定の条件が満たされたときに前記時刻情報の要求を行うことを特徴とする請求項1に記載の装置。
【請求項8】
前記所定の条件は、前記撮影システムで撮影されている画像の録画の開始であることを特徴とする請求項7に記載の装置。
【請求項9】
前記所定の条件は、前記撮影システムで撮影されている映像の放送での使用開始であることを特徴とする請求項7に記載の装置。
【請求項10】
前記ログデータを記憶する記憶手段を有し、
前記処理手段は、前記ログデータを前記記憶手段に記憶することを特徴とする請求項1に記載の装置。
(【請求項11】以降は省略されています)
発明の詳細な説明
【技術分野】
【0001】
本発明は、撮影システムに含まれる装置、及び撮影システムに関する。
続きを表示(約 1,700 文字)
【背景技術】
【0002】
テレビカメラ等の撮影システムに含まれるカメラ装置の多くは、時刻情報(日付や時刻)を保持しており、ビューファインダー上の映像に時刻情報を重畳して表示したり、写真に時刻情報を重畳して出力することが可能である。
【0003】
特許文献1は、実際とは異なる時刻データで記録した場合に、後から時刻情報を訂正可能な撮像装置を開示している。特許文献2は、レンズ装置の診断結果を日付情報と共に診断履歴データとして記憶する診断システムを開示している。このようなレンズ装置に接続可能な情報処理システムにより、記録データに時刻情報を付与した履歴情報を記憶可能とし、後から診断結果などのデータ履歴を容易に取り出すことが可能となっている。
【先行技術文献】
【特許文献】
【0004】
特開2006-054864号公報
特開2003-298906号公報
【発明の概要】
【発明が解決しようとする課題】
【0005】
しかしながら、上述の先行技術においては、レンズ装置は、相対的な時間の情報を有するが絶対的な時刻情報を保持していないものが多い。またレンズ装置は、接続されるカメラ装置等の他の装置から時刻情報を取得する構成がない。また、レンズ装置は、ネットワークに接続しない構成の場合が多い。そのため、この様な交換式レンズ装置を含む撮影システムでは、レンズ装置が時刻情報を取得することができないという課題がある。
【0006】
そこで、本発明は、時刻情報を外部から取得し、ログデータに時刻情報を付与して処理することを可能とし、メンテナンス性を向上させた、撮影システムに含まれる装置を提供することを目的とする。
【課題を解決するための手段】
【0007】
上記目的を達成するために、本発明の装置は、撮影システムに含まれる装置であって、前記装置のログデータを処理する処理手段と、前記ログデータに時刻情報を付与する設定手段と、前記ログデータに付与する前記時刻情報を外部に対して要求する要求手段とを有することを特徴とする。
【発明の効果】
【0008】
本発明によれば、時刻情報を外部から取得し、ログデータに時刻情報を付与して処理することを可能とし、メンテナンス性を向上させた、撮影システムに含まれる装置を提供することができる。
【図面の簡単な説明】
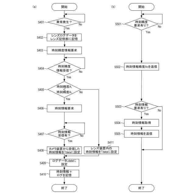
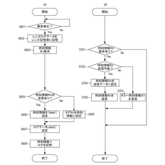
【0009】
実施例1に係るレンズ装置の構成を示すブロック図である。
実施例1に係る時刻情報取得処理を示すフローチャートである。
実施例1に係る時刻情報を入力するためのユーザーインターフェース画面の一例である。
実施例2に係る撮影システムの構成を示すブロック図である。
実施例2に係る時刻情報取得処理を示すフローチャートである。
実施例2に係る時刻情報取得処理を示すフローチャートである。
実施例2に係る時刻補正を説明するための模式図である。
実施例3に係る撮影システムの構成を示すブロック図である。
実施例3に係る時刻情報取得処理を示すフローチャートである。
実施例3に係る時刻情報補正処理を示すフローチャートである。
実施例4に係る時刻情報取得処理を示すフローチャートである。
【発明を実施するための形態】
【0010】
以下、本発明の好ましい実施の形態を、添付の図面に基づいて詳細に説明する。
テレビカメラ等の撮影システムにおいては、レンズ装置(以下、レンズとも記載する)、カメラ装置(以下、カメラとも記載する)、操作装置など、様々な装置が互いに接続されて構成されている。カメラの多くは、時刻情報(日付や時刻)を保持しており、撮影した画像や映像に対し時刻情報を重畳し、ビューファインダー上に表示したり、写真として印刷するために画像を出力することが可能である。
(【0011】以降は省略されています)
この特許をJ-PlatPat(特許庁公式サイト)で参照する
関連特許
キヤノン株式会社
トナー
今日
キヤノン株式会社
現像装置
11日前
キヤノン株式会社
測距装置
6日前
キヤノン株式会社
現像装置
11日前
キヤノン株式会社
現像容器
11日前
キヤノン株式会社
現像装置
4日前
キヤノン株式会社
現像容器
11日前
キヤノン株式会社
画像形成装置
今日
キヤノン株式会社
画像形成装置
今日
キヤノン株式会社
カートリッジ
11日前
キヤノン株式会社
電子写真装置
4日前
キヤノン株式会社
画像形成装置
7日前
キヤノン株式会社
画像形成装置
今日
キヤノン株式会社
画像形成装置
5日前
キヤノン株式会社
画像形成装置
5日前
キヤノン株式会社
画像形成装置
5日前
キヤノン株式会社
画像形成装置
4日前
キヤノン株式会社
画像形成装置
4日前
キヤノン株式会社
画像形成装置
4日前
キヤノン株式会社
画像形成装置
7日前
キヤノン株式会社
レンズキャップ
5日前
キヤノン株式会社
振動型駆動装置
11日前
キヤノン株式会社
画像形成システム
6日前
キヤノン株式会社
画像形成システム
6日前
キヤノン株式会社
多層プリント基板
7日前
キヤノン株式会社
検知装置、画像形成装置
4日前
キヤノン株式会社
インクジェット記録装置
4日前
キヤノン株式会社
光学系及び画像読取装置
4日前
キヤノン株式会社
検知装置、画像形成装置
4日前
キヤノン株式会社
現像装置、及びカートリッジ
11日前
キヤノン株式会社
通信装置およびその制御方法
6日前
キヤノン株式会社
光学機器、及びカメラシステム
今日
キヤノン株式会社
読取装置及び情報提供システム
11日前
キヤノン株式会社
カートリッジ及び画像形成装置
11日前
キヤノン株式会社
撮影装置、撮影装置の制御方法
7日前
キヤノン株式会社
走査光学装置及び画像形成装置
今日
続きを見る
他の特許を見る