TOP
|
特許
|
意匠
|
商標
特許ウォッチ
Twitter
他の特許を見る
10個以上の画像は省略されています。
公開番号
2025157989
公報種別
公開特許公報(A)
公開日
2025-10-16
出願番号
2024060397
出願日
2024-04-03
発明の名称
画像形成装置、画像形成システム、および情報処理装置
出願人
キヤノン株式会社
代理人
弁理士法人大塚国際特許事務所
主分類
G03G
21/00 20060101AFI20251008BHJP(写真;映画;光波以外の波を使用する類似技術;電子写真;ホログラフイ)
要約
【課題】シートの種類に応じた箔の接着に不具合が発生する可能性を低減する。
【手段】選択手段はトナー像を介してシート上に箔を接着するためのトナー像を形成する所定の印刷モードを選択する。画像形成手段はシートにトナー像を形成する。受付手段はシートの種類に関する情報を受け付ける。選択手段により所定の印刷モードが選択されている場合、表示手段は、シートの種類に関する情報に応じて警告を表示する。
【選択図】図7
特許請求の範囲
【請求項1】
トナー像を介してシート上に箔を接着するためのトナー像を形成する所定の印刷モードを選択する選択手段と、
前記シートに前記トナー像を形成する画像形成手段と、
前記シートの種類に関する情報を受け付ける受付手段と、
前記選択手段により前記所定の印刷モードが選択されている場合、前記シートの前記種類に関する前記情報に応じて警告を表示する表示手段と、
を有する、画像形成装置。
続きを表示(約 970 文字)
【請求項2】
前記表示手段は、前記種類が、前記トナー像を介して前記シート上に前記箔を接着する箔印刷装置において推奨されない種類である場合に、前記警告を出力する、請求項1に記載の画像形成装置。
【請求項3】
前記種類が、前記箔印刷装置において推奨されない種類である場合に、前記受付手段は、さらに、前記画像形成装置により前記シートへの前記トナー像の形成を続行するかどうかに関する指示情報の入力を受け付ける、請求項2に記載の画像形成装置。
【請求項4】
前記画像形成装置は、前記シートへの前記トナー像の形成を続行することを示す前記指示情報が入力されると、前記箔印刷装置において推奨されない前記種類の前記シートへの前記トナー像の形成を続行する、請求項3に記載の画像形成装置。
【請求項5】
前記種類が、前記箔印刷装置において推奨されない種類である場合に、前記受付手段は、前記シートの種類を変更するかどうかに関する指示情報の入力を受け付ける、請求項2に記載の画像形成装置。
【請求項6】
前記表示手段は、前記シートの種類を変更することを示す前記指示情報が入力されると、前記シートの種類を変更または再設定するための画面を表示する、請求項5に記載の画像形成装置。
【請求項7】
前記受付手段は、前記シートの種類を設定するための画面を通じて、前記画像形成装置により接着剤として前記トナー像を形成される前記シートの種類に関する情報を受け付ける、請求項2に記載の画像形成装置。
【請求項8】
前記画面は、前記箔印刷装置において推奨されない種類と、前記箔印刷装置において推奨される種類とを視覚的に区別して表示する、請求項6に記載の画像形成装置。
【請求項9】
前記箔印刷装置において推奨されない種類のシートは、前記箔印刷装置による前記トナー像の加熱温度よりも低い耐熱温度の成分を主成分とするシートである、請求項2に記載の画像形成装置。
【請求項10】
前記箔印刷装置において推奨されない種類のシートは、当該シートの表面に樹脂層を有するシートである、請求項2に記載の画像形成装置。
(【請求項11】以降は省略されています)
発明の詳細な説明
【技術分野】
【0001】
本発明は、画像形成装置、画像形成システム、および情報処理装置に関する。
続きを表示(約 1,700 文字)
【背景技術】
【0002】
製本分野、商業印刷分野、カードビジネス分野、または化粧品容器等のプラスチック成形分野では、箔印刷技術が利用されている。箔でできた文字または絵柄は、プリントで表現が困難な金属感を実現し、光沢をもたらすことができる。箔印刷は、クレジットカードのホログラム等にも利用される。特許文献1、2によれば、予めトナー像をシート上に形成し、そのトナー像を接着剤として利用して箔をシート上に転写する箔印刷装置が提案されている。
【先行技術文献】
【特許文献】
【0003】
特開2017-156723号公報
特開2021-116185号公報
【発明の概要】
【発明が解決しようとする課題】
【0004】
しかしながら、トナーを介してシートに箔を接着する場合、シートの種類によっては、箔の接着に不具合が発生してしまう虞があった。そこで、本発明は、シートの種類に応じた箔の接着に不具合が発生する可能性を低減することを目的とする。
【課題を解決するための手段】
【0005】
本発明は、たとえば、
トナー像を介してシート上に箔を接着するためのトナー像を形成する所定の印刷モードを選択する選択手段と、
前記シートに前記トナー像を形成する画像形成手段と、
前記シートの種類に関する情報を受け付ける受付手段と、
前記選択手段により前記所定の印刷モードが選択されている場合、前記シートの前記種類に関する前記情報に応じて警告を表示する表示手段と、
を有する、画像形成装置を提供する。
【発明の効果】
【0006】
本発明によれば、シートの種類に応じた箔の接着に不具合が発生する可能性を低減できる。
【図面の簡単な説明】
【0007】
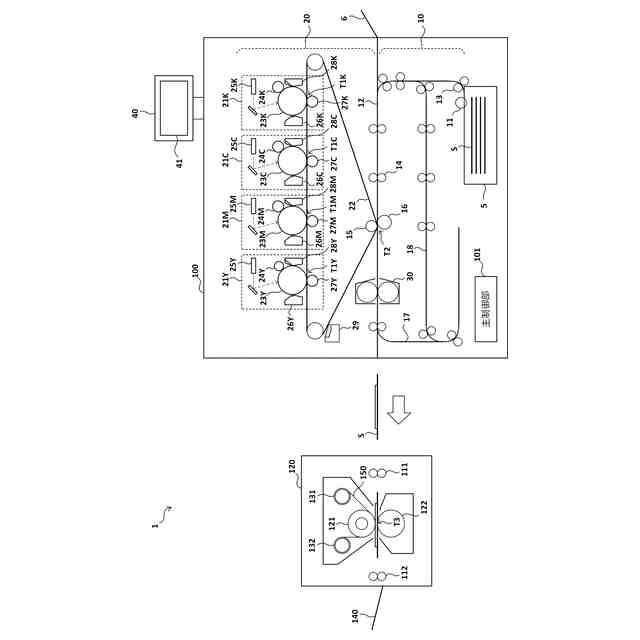
画像形成システムを説明する図
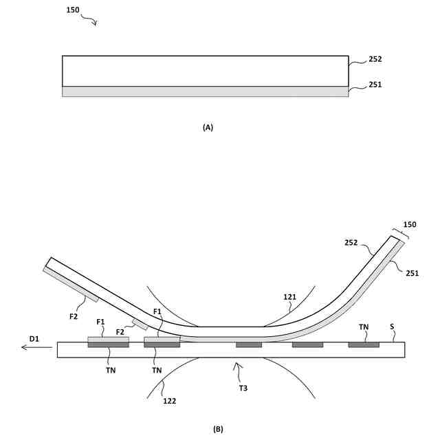
箔加工を説明する図
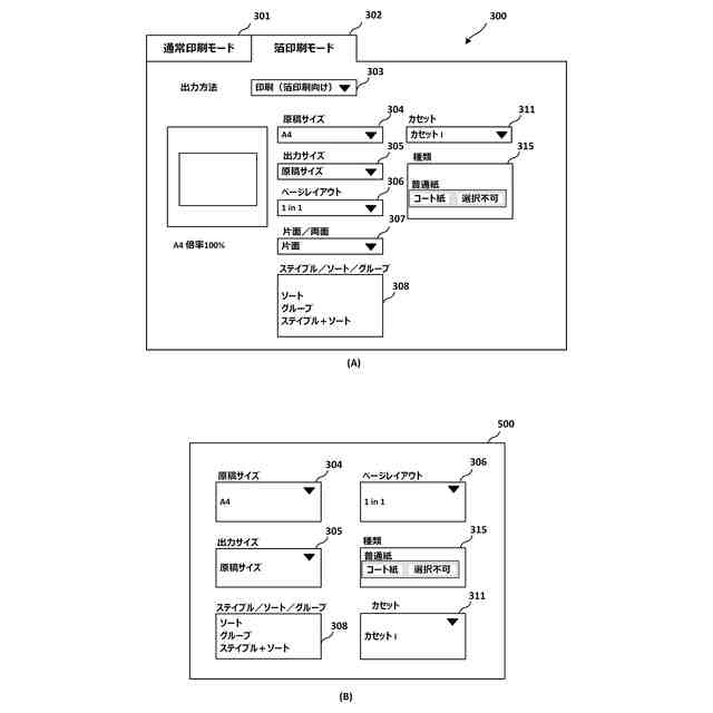
ユーザインタフェースを説明する図
ユーザインタフェースを説明する図
ユーザインタフェースを説明する図
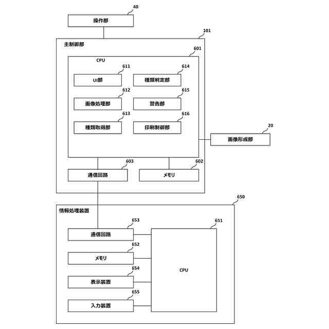
コントローラを説明する図
制御方法を示すフローチャート
ユーザインタフェースを説明する図
ユーザインタフェースを説明する図
制御方法を示すフローチャート
画像形成システムを説明する図
画像形成システムを説明する図
コントローラを説明する図
【発明を実施するための形態】
【0008】
以下、添付図面を参照して実施形態を詳しく説明する。なお、以下の実施形態は特許請求の範囲に係る発明を限定するものではない。実施形態には複数の特徴が記載されているが、これらの複数の特徴の全てが発明に必須のものとは限らず、また、複数の特徴は任意に組み合わせられてもよい。さらに、添付図面においては、同一若しくは同様の構成に同一の参照番号を付し、重複した説明は省略する。
【0009】
<第一実施形態>
1.画像形成システム(箔印刷システム)
図1が示すように、画像形成システム1は、画像形成装置100および箔印刷装置120を含む。画像形成装置100は、シート(記録材ともいう)Sにトナー像を形成する。箔印刷装置120は、トナー像のトナーを糊として用いて、シートSに箔を印刷する。
【0010】
画像形成システム1は、箔印刷装置120が画像形成装置100へ機械的に連結されていない、所謂オフライン型のシステムである。この場合、トナー像が形成されたシートSは、画像形成装置100から排出された後、ユーザーにより手動で箔印刷装置120へ投入される(図中矢印参照)。他の実施形態において、箔印刷装置120が画像形成装置100へ連結されるインライン型のシステムが提供されてもよい。この場合、シートSは、画像形成装置100から箔印刷装置120へ自動的に受け渡される。また別の実施形態において、箔印刷装置120の箔印刷機能を画像形成装置100の内部に組み込んだ一体型の印刷装置が提供されてもよい。
(【0011】以降は省略されています)
この特許をJ-PlatPat(特許庁公式サイト)で参照する
関連特許
個人
表示装置
6日前
個人
雨用レンズカバー
4日前
株式会社シグマ
絞りユニット
1か月前
日本精機株式会社
車両用投射装置
12日前
キヤノン株式会社
撮像装置
26日前
キヤノン株式会社
撮像装置
1か月前
株式会社リコー
画像形成装置
22日前
キヤノン株式会社
トナー
18日前
キヤノン株式会社
トナー
13日前
キヤノン株式会社
画像形成装置
7日前
株式会社オプトル
プロジェクタ
25日前
沖電気工業株式会社
画像形成装置
4日前
スタンレー電気株式会社
照明装置
14日前
キヤノン株式会社
現像装置
11日前
アイホン株式会社
カメラシステム
12日前
キヤノン株式会社
レンズキャップ
5日前
株式会社リコー
画像形成装置
22日前
株式会社電気印刷研究所
静電印刷用積層体
18日前
ブラザー工業株式会社
画像形成装置
11日前
ブラザー工業株式会社
画像形成装置
11日前
古野電気株式会社
装置
4日前
キヤノン株式会社
画像形成装置
22日前
キヤノン株式会社
画像形成装置
19日前
キヤノン株式会社
画像形成装置
19日前
コニカミノルタ株式会社
画像形成装置
4日前
キヤノン株式会社
画像形成装置
1か月前
沖電気工業株式会社
画像形成装置
22日前
古野電気株式会社
監視装置
4日前
アイホン株式会社
カメラ装置の保持構造
12日前
ブラザー工業株式会社
画像形成装置
13日前
ブラザー工業株式会社
画像形成装置
13日前
ブラザー工業株式会社
画像形成装置
12日前
ブラザー工業株式会社
画像形成装置
12日前
Astemo株式会社
撮像装置
6日前
株式会社リコー
定着装置及び画像形成装置
1か月前
三洋化成工業株式会社
画像形成材料用バインダー
4日前
続きを見る
他の特許を見る