TOP
|
特許
|
意匠
|
商標
特許ウォッチ
Twitter
他の特許を見る
10個以上の画像は省略されています。
公開番号
2025157991
公報種別
公開特許公報(A)
公開日
2025-10-16
出願番号
2024060399
出願日
2024-04-03
発明の名称
画像形成装置及び箔印刷システム
出願人
キヤノン株式会社
代理人
弁理士法人大塚国際特許事務所
主分類
G03G
15/24 20060101AFI20251008BHJP(写真;映画;光波以外の波を使用する類似技術;電子写真;ホログラフイ)
要約
【課題】箔画像の品質が低下してしまう可能性を低減すること。
【解決手段】画像データに基づいて、シートにトナー像を形成する画像形成手段と、上記トナー像を介して箔を上記シート上に接着するために上記トナー像を形成する第1モードを設定する設定手段と、上記設定手段により上記第1モードが設定されている場合に、上記画像形成手段により形成される上記トナー像の形状に応じて、警告を表示するように表示手段を制御する制御手段と、を備える画像形成装置が提供される。上記画像形成装置と、上記トナー像を介して上記箔を上記シート上に接着することにより、上記シートに箔画像を印刷する箔印刷装置と、を含む箔印刷システムもまた提供される。
【選択図】図14
特許請求の範囲
【請求項1】
画像データに基づいて、シートにトナー像を形成する画像形成手段と、
前記トナー像を介して箔を前記シート上に接着するために前記トナー像を形成する第1モードを設定する設定手段と、
前記設定手段により前記第1モードが設定されている場合に、前記画像形成手段により形成される前記トナー像の形状に応じて、警告を表示するように表示手段を制御する制御手段と、
を備える画像形成装置。
続きを表示(約 830 文字)
【請求項2】
前記設定手段は、前記トナー像の形成に関連する複数の動作モードのうち前記第1モードがユーザにより選択された場合に、前記第1モードを設定する、請求項1に記載の画像形成装置。
【請求項3】
前記制御手段は、前記第1モードが設定されている場合において、前記トナー像が細線に関連する警告条件を満たすと判定されるときに、前記警告を表示するように前記表示手段を制御する、請求項1に記載の画像形成装置。
【請求項4】
前記制御手段は、前記画像形成手段が前記トナー像を形成する前に、前記画像データを解析することにより、前記トナー像が前記警告条件を満たすかを判定する、請求項3に記載の画像形成装置。
【請求項5】
前記制御手段は、前記トナー像の特定の部分について前記警告条件が満たされる場合に、前記特定の部分が判別可能な態様で前記トナー像のプレビューを表示するように、前記表示手段を制御する、請求項4に記載の画像形成装置。
【請求項6】
前記警告条件は、細線の幅に影響する前記画像データの特徴量が閾値よりも小さいことを含む、請求項3に記載の画像形成装置。
【請求項7】
前記制御手段は、ページ記述言語形式で記述された前記画像データから画像の構成要素の属性を抽出することにより、前記特徴量を取得する、請求項6に記載の画像形成装置。
【請求項8】
前記特徴量は、前記画像内の文字のサイズを含む、請求項7に記載の画像形成装置。
【請求項9】
前記特徴量は、前記画像内の線の幅を含む、請求項7に記載の画像形成装置。
【請求項10】
前記制御手段は、ビットマップ形式で表現される画像内の細線領域の幅方向に並ぶ画素の個数を判定することにより、前記特徴量を取得する、請求項6に記載の画像形成装置。
(【請求項11】以降は省略されています)
発明の詳細な説明
【技術分野】
【0001】
本発明は、画像形成装置及び箔印刷システムに関する。
続きを表示(約 2,100 文字)
【背景技術】
【0002】
従来、一般的なプリンタで表現することが困難な金属感又は光沢を印刷物に付与するために、金属箔からなる文字又は絵柄をシートに転写することが行われている。シートへ箔を転写する方法としては、例えば、型を用いた箔押し、マスキング、及び、紫外線(UV)硬化型の接着剤へのUV照射による選択的な箔の接着が知られている。
【0003】
特許文献1及び2は、シートに形成されるトナー像のトナーを、シートに箔を接着させるための糊として用いる方法を開示している。こうした方法によれば、一般的な電子写真方式のプリンタの構成を応用してトナー像を形成できることから、自由度の高い箔画像の印刷物を比較的容易に作製することができる。特許文献1の箔印刷装置は、箔フィルムからの箔画像の剥離性を高めるために、シートと箔フィルムとの間の接着位置へ送風するファンを有する。特許文献2の箔印刷装置は、通常のフルカラーのトナー像を形成する画像形成装置と一体化されており、特定の色のトナーのみを箔を接着させるための糊として用いることができる。
【先行技術文献】
【特許文献】
【0004】
特開2017-156723号公報
特開2021-116185号公報
【発明の概要】
【発明が解決しようとする課題】
【0005】
しかしながら、トナー像を介してシート上に箔を接着させようとする場合、シートに形成されるトナー像によっては箔画像の品質が低下してしまう虞があった。
【0006】
本発明は、上述した点に鑑み、箔画像の品質が低下してしまう可能性を低減する仕組みを提供しようとするものである。
【課題を解決するための手段】
【0007】
ある観点によれば、画像データに基づいて、シートにトナー像を形成する画像形成手段と、上記トナー像を介して箔を上記シート上に接着するために上記トナー像を形成する第1モードを設定する設定手段と、上記設定手段により上記第1モードが設定されている場合に、上記画像形成手段により形成される上記トナー像の形状に応じて、警告を表示するように表示手段を制御する制御手段と、を備える画像形成装置が提供される。他の観点によれば、上記画像形成装置と、上記トナー像を介して上記箔を上記シート上に接着することにより、上記シートに箔画像を印刷する箔印刷装置と、を含む箔印刷システムが提供される。
【発明の効果】
【0008】
本発明によれば、箔画像の品質が低下してしまう可能性を低減することができる。
【図面の簡単な説明】
【0009】
一実施形態に係る箔印刷システムの構成の一例を示す概略構成図。
箔の構成の一例を示す説明図。
シートへの箔の印刷の様子を示す説明図。
箔の接着部分が非接着部分から分離する様子を示す第1の説明図。
箔の接着部分が非接着部分から分離する様子を示す第2の説明図。
糊幅の不足に起因する箔画像の品質の低下についての説明図。
ギャップ幅の不足に起因する箔画像の品質の低下についての説明図。
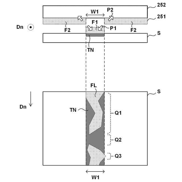
トナー像の細線に関連する品質の低下についてのさらなる説明図。
一実施形態に係る画像形成装置の機能面の構成の一例を示すブロック図。
一実施形態に係る箔印刷装置の機能面の構成の一例を示すブロック図。
第1実施例において細線に関連する警告のために実行され得る処理の詳細な構成の一例を示すブロック図。
第1実施例に係る印刷設定画面の構成の一例を示す第1の説明図。
第1実施例に係る印刷設定画面の構成の一例を示す第2の説明図。
第1実施例に係る警告設定画面の構成の一例を示す説明図。
第1実施例に係る警告画面の構成の一例を示す説明図。
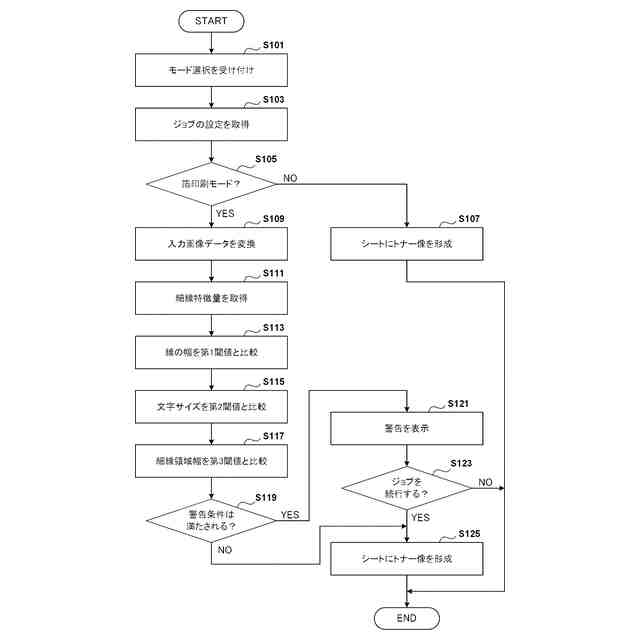
第1実施例に係る印刷制御処理の流れの一例を示すフローチャート。
細線領域の両側の画素が間引かれる様子の一例を示す説明図。
第2実施例に係る印刷設定画面の構成の一例を示す説明図。
第2実施例に係る補正設定画面の構成の一例を示す説明図。
第2実施例に係る警告画面の構成の一例を示す説明図。
第2実施例に係る印刷制御処理の流れの一例を示すフローチャート。
【発明を実施するための形態】
【0010】
以下、添付図面を参照して実施形態を詳しく説明する。なお、以下の実施形態は特許請求の範囲に係る発明を限定するものではない。実施形態には複数の特徴が記載されているが、これらの複数の特徴の全てが発明に必須のものとは限らず、また、複数の特徴は任意に組み合わせられてもよい。さらに、添付図面においては、同一若しくは同様の構成に同一の参照番号を付し、重複した説明は省略する。
(【0011】以降は省略されています)
この特許をJ-PlatPat(特許庁公式サイト)で参照する
関連特許
キヤノン株式会社
容器
今日
キヤノン株式会社
トナー
16日前
キヤノン株式会社
トナー
21日前
キヤノン株式会社
トナー
3日前
キヤノン株式会社
トナー
16日前
キヤノン株式会社
トナー
16日前
キヤノン株式会社
現像容器
14日前
キヤノン株式会社
撮像装置
今日
キヤノン株式会社
記録装置
今日
キヤノン株式会社
記録装置
21日前
キヤノン株式会社
撮像装置
今日
キヤノン株式会社
撮像装置
今日
キヤノン株式会社
現像容器
14日前
キヤノン株式会社
電子機器
23日前
キヤノン株式会社
現像装置
14日前
キヤノン株式会社
記録装置
14日前
キヤノン株式会社
測距装置
9日前
キヤノン株式会社
撮像装置
17日前
キヤノン株式会社
撮像装置
21日前
キヤノン株式会社
現像装置
7日前
キヤノン株式会社
撮影装置
14日前
キヤノン株式会社
現像装置
14日前
キヤノン株式会社
定着装置
15日前
キヤノン株式会社
半導体装置
23日前
キヤノン株式会社
モジュール
16日前
キヤノン株式会社
光学センサ
16日前
キヤノン株式会社
現像剤容器
22日前
キヤノン株式会社
映像表示装置
16日前
キヤノン株式会社
画像形成装置
1日前
キヤノン株式会社
画像形成装置
21日前
キヤノン株式会社
表示システム
22日前
キヤノン株式会社
画像形成装置
23日前
キヤノン株式会社
画像形成装置
15日前
キヤノン株式会社
吐出素子基板
21日前
キヤノン株式会社
電子写真装置
1日前
キヤノン株式会社
画像処理装置
22日前
続きを見る
他の特許を見る