TOP
|
特許
|
意匠
|
商標
特許ウォッチ
Twitter
他の特許を見る
10個以上の画像は省略されています。
公開番号
2025157990
公報種別
公開特許公報(A)
公開日
2025-10-16
出願番号
2024060398
出願日
2024-04-03
発明の名称
画像形成装置、画像形成システム、および情報処理装置
出願人
キヤノン株式会社
代理人
弁理士法人大塚国際特許事務所
主分類
G03G
21/00 20060101AFI20251008BHJP(写真;映画;光波以外の波を使用する類似技術;電子写真;ホログラフイ)
要約
【課題】箔を形成する場合に不具合が発生してしまう可能性を低減する。
【手段】選択手段はトナー像を介してシート上に箔を接着するためのトナー像を形成する第一モードを選択する。画像形成手段は、シートにトナー像を形成する。受付手段は後処理に関する情報を受け付ける。表示手段は、第一モードが選択されている場合、後処理に関する情報に応じて警告を表示する。
【選択図】図7
特許請求の範囲
【請求項1】
トナー像を介してシート上に箔を接着するための前記トナー像を形成する第一モードを選択する選択手段と、
前記シートに前記トナー像を形成する画像形成手段と、
後処理に関する情報を受け付ける受付手段と、
前記選択手段により前記第一モードが選択されている場合、前記後処理に関する情報に応じて警告を表示する表示手段と、
を有する、画像形成装置。
続きを表示(約 1,400 文字)
【請求項2】
前記警告の対象となる後処理は、箔印刷装置による前記シートへの前記箔の接着を阻害する後処理を含む、請求項1に記載の画像形成装置。
【請求項3】
前記警告の対象となる後処理は、ステイプル加工、製本、または折り曲げを含む、請求項2に記載の画像形成装置。
【請求項4】
前記選択手段は、前記第一モードと、前記箔の接着剤として利用されないトナー像を形成する第二モードとのうちのいずれかのモードの選択を受け付け、
前記画像形成装置は、さらに、
前記第一モードが選択されると、前記シートに対する後処理装置による前記警告の対象となる後処理の適用を制限し、前記第二モードが選択されると、前記シートに対する前記後処理装置による前記後処理の適用を許容する、請求項1に記載の画像形成装置。
【請求項5】
操作者による前記警告の対象となる後処理の選択を制限することで、前記シートに対する前記後処理装置による前記警告の対象となる後処理の適用を制限する制御手段をさらに有する、請求項4に記載の画像形成装置。
【請求項6】
前記シートへの接着剤としての前記トナー像の形成と、前記警告の対象となる後処理の適用とが選択されると、前記警告の対象となる後処理の適用を無効化する制御手段をさらに有する、請求項1に記載の画像形成装置。
【請求項7】
前記制御手段は、前記シートへの前記接着剤としての前記トナー像の形成が完了すると、前記警告の対象となる後処理の適用を有効化する、請求項6に記載の画像形成装置。
【請求項8】
トナー像を介してシート上に箔を接着するための前記トナー像を形成する第一モードを選択する選択手段と、
前記シートに前記トナー像を形成する画像形成手段と、
後処理に関する情報を受け付ける受付手段と、
前記選択手段により前記第一モードが選択されている場合、前記受付手段により、後処理としての第一の後処理は選択でき、前記第一の後処理とは異なる第二の後処理は選択できないように制御する制御手段と、
を有する、画像形成装置。
【請求項9】
選択肢として複数の後処理を表示する表示手段をさらに有し、
前記制御手段は、
前記表示手段において前記第二の後処理を選択できないように表示するか、または、
前記複数の後処理から前記第二の後処理を削除するか、または、
前記表示手段に表示された前記複数の後処理から前記第二の後処理の選択を無視する、
ことで、操作者による前記第二の後処理の選択を制限する、請求項8に記載の画像形成装置。
【請求項10】
トナー像を介してシート上に箔を接着するための前記トナー像を形成する第一モードを選択する選択手段と、
前記シートに前記トナー像を形成する画像形成手段と、
後処理に関する情報を受け付ける受付手段と、
前記選択手段により前記第一モードが選択されている場合、前記受付手段により選択されている後処理としての第一の後処理は選択解除せず、前記第一の後処理とは異なる第二の後処理は選択解除するように制御する制御手段と、
を有する、画像形成装置。
(【請求項11】以降は省略されています)
発明の詳細な説明
【技術分野】
【0001】
本発明は、画像形成装置、画像形成システム、および情報処理装置に関する。
続きを表示(約 1,700 文字)
【背景技術】
【0002】
製本分野、商業印刷分野、カードビジネス分野、または化粧品容器等のプラスチック成形分野では、箔印刷技術が利用されている。箔でできた文字または絵柄は、プリントで表現が困難な金属感を実現し、光沢をもたらすことができる。箔印刷は、クレジットカードのホログラム等にも利用される。特許文献1、2によれば、予めトナー像をシート上に形成し、そのトナー像を接着剤として利用して箔をシート上に転写する箔印刷装置が提案されている。
【先行技術文献】
【特許文献】
【0003】
特開2017-156723号公報
特開2021-116185号公報
【発明の概要】
【発明が解決しようとする課題】
【0004】
しかしながら、トナーを介してシートに箔を接着する場合、シートに施された後処理(例:ステイプル、製本、折り曲げ)によっては、箔を形成する場合に不具合が発生してしまう虞があった。そこで、本発明は、箔を形成する場合に不具合が発生してしまう可能性を低減することを目的とする。
【課題を解決するための手段】
【0005】
本発明は、たとえば、
トナー像を介してシート上に箔を接着するための前記トナー像を形成する第一モードを選択する選択手段と、
前記シートに前記トナー像を形成する画像形成手段と、
後処理に関する情報を受け付ける受付手段と、
前記選択手段により前記第一モードが選択されている場合、前記後処理に関する情報に応じて警告を表示する表示手段と、
を有する、画像形成装置を提供する。
【発明の効果】
【0006】
本発明によれば、箔を形成する場合に不具合が発生してしまう可能性が低減される。
【図面の簡単な説明】
【0007】
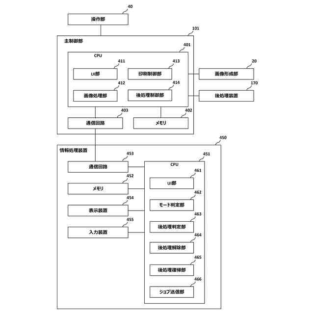
画像形成システムを説明する図
箔加工を説明する図
後処理装置を説明する図
コントローラを説明する図
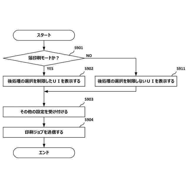
制御方法を示すフローチャート
コントローラを説明する図
制御方法を示すフローチャート
コントローラを説明する図
制御方法を示すフローチャート
ユーザインタフェースを説明する図
コントローラを説明する図
制御方法を示すフローチャート
ユーザインタフェースを説明する図
ユーザインタフェースを説明する図
【発明を実施するための形態】
【0008】
以下、添付図面を参照して実施形態を詳しく説明する。なお、以下の実施形態は特許請求の範囲に係る発明を限定するものではない。実施形態には複数の特徴が記載されているが、これらの複数の特徴の全てが発明に必須のものとは限らず、また、複数の特徴は任意に組み合わせられてもよい。さらに、添付図面においては、同一若しくは同様の構成に同一の参照番号を付し、重複した説明は省略する。
【0009】
<第一実施形態>
1.画像形成システム(箔印刷システム)
図1が示すように、画像形成システム1は、画像形成装置100および箔印刷装置120を含む。画像形成装置100は、シート(記録材ともいう)Sにトナー像を形成する。箔印刷装置120は、トナー像のトナーを糊として用いて、シートSに箔を印刷する。
【0010】
画像形成システム1は、箔印刷装置120が画像形成装置100へ機械的に連結されていない、所謂オフライン型のシステムである。この場合、トナー像が形成されたシートSは、画像形成装置100から排出された後、ユーザーにより手動で箔印刷装置120へ投入される(図中矢印参照)。他の実施形態において、箔印刷装置120が画像形成装置100へ連結されるインライン型のシステムが提供されてもよい。この場合、シートSは、画像形成装置100から箔印刷装置120へ自動的に受け渡される。また別の実施形態において、箔印刷装置120の箔印刷機能を画像形成装置100の内部に組み込んだ一体型の印刷装置が提供されてもよい。
(【0011】以降は省略されています)
この特許をJ-PlatPat(特許庁公式サイト)で参照する
関連特許
キヤノン株式会社
トナー
11日前
キヤノン株式会社
トナー
11日前
キヤノン株式会社
トナー
16日前
キヤノン株式会社
トナー
11日前
キヤノン株式会社
現像装置
9日前
キヤノン株式会社
定着装置
10日前
キヤノン株式会社
測距装置
4日前
キヤノン株式会社
撮像装置
12日前
キヤノン株式会社
記録装置
9日前
キヤノン株式会社
撮影装置
9日前
キヤノン株式会社
現像容器
9日前
キヤノン株式会社
撮像装置
16日前
キヤノン株式会社
記録装置
16日前
キヤノン株式会社
電子機器
20日前
キヤノン株式会社
現像装置
9日前
キヤノン株式会社
現像装置
2日前
キヤノン株式会社
表示装置
23日前
キヤノン株式会社
現像容器
9日前
キヤノン株式会社
電子機器
18日前
キヤノン株式会社
発光装置
23日前
キヤノン株式会社
モジュール
11日前
キヤノン株式会社
半導体装置
18日前
キヤノン株式会社
現像剤容器
17日前
キヤノン株式会社
光学センサ
11日前
キヤノン株式会社
画像形成装置
20日前
キヤノン株式会社
画像形成装置
12日前
キヤノン株式会社
画像形成装置
20日前
キヤノン株式会社
画像形成装置
12日前
キヤノン株式会社
画像形成装置
20日前
キヤノン株式会社
画像形成装置
5日前
キヤノン株式会社
画像形成装置
12日前
キヤノン株式会社
画像形成装置
12日前
キヤノン株式会社
画像形成装置
20日前
キヤノン株式会社
画像形成装置
12日前
キヤノン株式会社
画像形成装置
2日前
キヤノン株式会社
画像形成装置
10日前
続きを見る
他の特許を見る