TOP
|
特許
|
意匠
|
商標
特許ウォッチ
Twitter
他の特許を見る
公開番号
2025086401
公報種別
公開特許公報(A)
公開日
2025-06-09
出願番号
2023200329
出願日
2023-11-28
発明の名称
多重衝突パルス噴流圧縮方式のエンジン
出願人
学校法人早稲田大学
代理人
個人
主分類
F01L
7/04 20060101AFI20250602BHJP(機械または機関一般;機関設備一般;蒸気機関)
要約
【課題】吸気時のロータリーバルブの開閉速度を更に向上させるとともに、ロータリーバルブと燃焼室との間の隙間からの燃焼室内の気体の漏れを低減すること。
【解決手段】本発明のエンジン10は、軸対称となる複数の周方向位置からの気体噴流を燃焼室19の中央部でパルス状に衝突させて圧縮することにより、燃焼室19内の燃料を燃焼爆発させるシリンダユニット12を含んでいる。シリンダユニット12は、燃焼室19が形成されたシリンダ本体15と、シリンダ本体15に対して回転可能に取り付けられるとともに、燃焼室19の外周に沿う複数箇所に配置される吸気ロータリーバルブ16とを備える。吸気ロータリーバルブ16は、各周方向位置の外側でそれぞれ単独回転可能に配置される円柱状の外形をなし、当該回転により吸気開放状態と吸気閉塞状態との間で開閉動作する。
【選択図】 図1
特許請求の範囲
【請求項1】
軸対称に配置された複数の吸気ポートからの気体噴流を燃焼室の中央部でパルス状に衝突させて圧縮することにより、前記燃焼室内の燃料を燃焼爆発させる多重衝突パルス噴流圧縮方式のエンジンにおいて、
前記各吸気ポートから前記燃焼室内への前記気体噴流をパルス状にする開閉動作を可能に設けられた吸気ロータリーバルブを備え、
前記吸気ロータリーバルブは、前記各吸気ポートの周方向位置にそれぞれ対応した複数の周方向位置でそれぞれ単独回転可能に配置される円柱状の外形をなし、当該回転により前記各吸気ポートを開閉可能に構成されることを特徴とするエンジン。
続きを表示(約 1,400 文字)
【請求項2】
軸対称となる複数の周方向位置からの気体噴流を燃焼室の中央部でパルス状に衝突させて圧縮することにより、前記燃焼室内の燃料を燃焼爆発させるシリンダユニットを含む多重衝突パルス噴流圧縮方式のエンジンにおいて、
前記シリンダユニットは、前記燃焼室が形成されたシリンダ本体と、当該シリンダ本体に対して回転可能に取り付けられるとともに、前記燃焼室の外周に沿う複数箇所に配置される吸気ロータリーバルブとを備え、
前記シリンダ本体は、前記各周方向位置に形成されて前記気体噴流を前記燃焼室内に噴出する噴出口と、外部から前記気体噴流を取り込む取込口とを備え、
前記吸気ロータリーバルブは、前記各周方向位置の外側でそれぞれ単独回転可能に配置される円柱状の外形をなし、当該回転により、前記噴出口と前記取込口が連通する吸気開放状態と、前記噴出口と前記取込口が連通しない吸気閉塞状態との間で開閉動作することを特徴とするエンジン。
【請求項3】
前記吸気ロータリーバルブは、内部を貫通する接続流路が形成され、所定の回転位置のときに接続流路を介して前記噴出口と前記取込口が繋がり、前記吸気開放状態となるように構成されることを特徴とする請求項2記載のエンジン。
【請求項4】
前記吸気ロータリーバルブを回転駆動させる駆動機構を更に備え、
前記駆動機構は、前記各吸気ロータリーバルブにそれぞれ固定された小歯車と、当該各小歯車に噛み合う1個の大歯車と、当該大歯車を回転させるアクチュエータとを備え、
前記アクチュエータは、前記大歯車を回転させることで、前記各吸気ロータリーバルブの開閉動作を同一タイミングで行うことを特徴とする請求項1又は2記載のエンジン。
【請求項5】
前記アクチュエータは、前記大歯車の外周側に接続されるロッドを軸方向に往復運動させるリニアアクチュエータからなり、当該往復運動により、前記各吸気ロータリーバルブの開閉動作を繰り返し行うことを特徴とする請求項4記載のエンジン。
【請求項6】
前記燃焼爆発に伴って前記燃焼室内の体積を増減させるように並進動作可能なピストンユニットを更に含み、
前記ピストンユニットは、前記燃焼室を閉塞するように配置されたピストン本体と、当該ピストン本体に設けられた排気ロータリーバルブを備え、
前記ピストン本体には、前記燃焼室内で発生した排気ガスを外部に排出するための第1の排気穴が形成され、
前記排気ロータリーバルブは、前記ピストン本体に相対回転可能に配置され、前記排気ガスを外部に排出するために貫通する第2の排気穴が形成され、前記相対回転により、前記第1及び第2の排気穴が連通して前記排気ガスを外部に排出する排気開放位置と、前記第1及び第2の排気穴が連通せずに前記燃焼室からの気体の流出を阻止する排気閉塞位置との間で変化可能に開閉動作することを特徴とする請求項1又は2記載のエンジン。
【請求項7】
前記ピストン本体は、前記排気開放位置のときに、前記並進動作を許容する状態と前記並進動作を停止する状態との間で切り替え可能とされ、当該切り替えにより、異なるモードでの前記燃焼爆発による動力抽出を可能に構成されることを特徴とする請求項6記載のエンジン。
発明の詳細な説明
【技術分野】
【0001】
本発明は、軸対称となる複数の周方向位置からの気体噴流を燃焼室の中央部でパルス状に衝突させて圧縮する多重衝突パルス噴流圧縮方式を利用したエンジンに関する。
続きを表示(約 1,900 文字)
【背景技術】
【0002】
本発明者は、軸対称となる多数の周方向位置から燃焼室の中央部に向けて集中的に噴出された気体噴流をパルス状に一点衝突させて高圧縮する原理を見出し、当該原理に基づく多重衝突パルス噴流圧縮方式のエンジンを既に提案している(特許文献1参照)。この方式では、多数の周方向位置からの噴流が一点で衝突し、当該衝突点付近の微小領域で気体を封鎖しながら自己圧縮することにより、高圧縮化が可能になるとともに、放出熱の低減により熱効率が向上する。また、放射状に拡散しようとする燃焼騒音を噴流群によって燃焼室の中央部に封鎖し、高圧縮にも拘らず低騒音化が可能となる。更に、噴流群が燃焼後の高温ガスをも包み込むことで、当該高温ガスを燃焼室の壁面に近づき難くし、当該壁面での冷却損失が他の構造よりも大幅に低減され、この点も熱効率の向上に資することになる。
【0003】
前記エンジンには、燃焼室の周面に沿う複数箇所から中央部に向かう気体噴流を発生させる複数の吸気ポートが設けられる。これら各吸気ポートには、特許文献2にて本発明者が既に提案しているように、燃焼室への気体噴流をパルス状(間欠的)にするためのロータリーバルブが併設される。このロータリーバルブは、円筒状の燃焼室の外側から全周を囲む一つの筒状体からなり、その周面には吸気穴が周方向の所定間隔で形成されるとともに、燃焼室の中心軸回りに回転可能となっている。この筒状体の回転により、吸気穴を通じて各吸気ポートと燃焼室との間で連通する吸気開放状態と、各吸気ポートと燃焼室の連通が遮断される吸気閉塞状態とが繰り返し変化することで、各吸気ポートが間欠的に開閉する。
【先行技術文献】
【特許文献】
【0004】
特許第5737632号公報
特許第6601866号公報
【発明の概要】
【発明が解決しようとする課題】
【0005】
前記多重衝突パルス噴流圧縮方式での気体の衝突圧縮効果を更に高めるには、吸気時のロータリーバルブによる吸気ポートの開閉速度を更に向上させることや、各吸気ポートと燃焼室との間に介装されるロータリーバルブの隙間からの燃焼室内の気体の漏れを極力低減する必要がある。
【0006】
本発明は、このような課題に着目して案出されたものであり、その目的は、従前の構造に対し、吸気時のロータリーバルブの開閉速度を更に向上させるとともに、ロータリーバルブと燃焼室との間の隙間からの燃焼室内の気体の漏れを低減することができるエンジンを提供することにある。
【課題を解決するための手段】
【0007】
前記目的を達成するため、本発明は、主として、軸対称に配置された複数の吸気ポートからの気体噴流を燃焼室の中央部でパルス状に衝突させて圧縮することにより、前記燃焼室内の燃料を燃焼爆発させる多重衝突パルス噴流圧縮方式のエンジンにおいて、前記各吸気ポートから前記燃焼室内への前記気体噴流をパルス状にする開閉動作を可能に設けられた吸気ロータリーバルブを備え、前記吸気ロータリーバルブは、前記各吸気ポートの周方向位置にそれぞれ対応した複数の周方向位置でそれぞれ単独回転可能に配置される円柱状の外形をなし、当該回転により前記各吸気ポートを開閉可能にする、という構成を採っている。
【発明の効果】
【0008】
本発明によれば、吸気ロータリーバルブは、複数の周方向位置でそれぞれ単独で回転し、分割しながら各吸気ポートを開閉動作する構造であるため、当該開閉動作に際する各吸気ロータリーバルブの回転量を従前よりも少量とすることができ、より少ない動力で吸気ポートの開閉動作をより高速にすることができる。また、周方向位置の吸気ポート毎に単独で吸気ロータリーバルブが設けられる構造のため、各吸気ロータリーバルブの間のシリンダの部位を閉塞することができ、従前の構造よりも燃焼室の気密性を向上させることができる。
【図面の簡単な説明】
【0009】
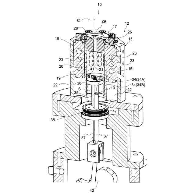
本実施形態に係るエンジン要部の概略断面斜視図である。
シリンダユニットの概略斜視図である。
一部を切断した状態のシリンダユニットにおける要部の概略斜視図である。
シリンダユニットの概略断面図である。
ピストン本体の内部空間から排気ロータリーバルブを取り外した状態を表す概略分解斜視図である。
【発明を実施するための形態】
【0010】
以下、本発明の実施形態について図面を参照しながら説明する。
(【0011】以降は省略されています)
この特許をJ-PlatPat(特許庁公式サイト)で参照する
関連特許
個人
ジェットエンジンタービン羽根
25日前
トヨタ自動車株式会社
車両
25日前
ダイハツ工業株式会社
内燃機関
27日前
スズキ株式会社
排気装置
26日前
スズキ株式会社
排気装置
26日前
トヨタ自動車株式会社
エンジンシステム
2日前
トヨタ自動車株式会社
エンジンシステム
24日前
株式会社SUBARU
ピストン冷却構造
16日前
トヨタ自動車株式会社
異音診断プログラム
18日前
トヨタ自動車株式会社
内燃機関の制御装置
16日前
フタバ産業株式会社
消音器
16日前
トヨタ自動車株式会社
制御装置
16日前
三浦工業株式会社
船舶用発電システム
2日前
トヨタ自動車株式会社
制御装置
16日前
フタバ産業株式会社
消音器
4日前
トヨタ自動車株式会社
内燃機関の制御装置
17日前
トヨタ自動車株式会社
内燃機関の制御装置
6日前
株式会社SUBARU
車両
6日前
トヨタ自動車株式会社
内燃機関の制御装置
25日前
フタバ産業株式会社
排気系部品
4日前
三菱重工業株式会社
主蒸気管洗浄方法
2日前
トヨタ自動車株式会社
過給エンジンの制御装置
6日前
三菱重工業株式会社
排熱回収システム
25日前
トヨタ自動車株式会社
内燃機関の異常検出装置
2日前
帝人エンジニアリング株式会社
排ガス処理装置
2日前
本田技研工業株式会社
ウォータポンプ診断装置
16日前
マレリ株式会社
排気ガス処理装置
26日前
株式会社豊田自動織機
排気管
2日前
ヤンマーホールディングス株式会社
エンジン装置
4日前
トヨタ自動車株式会社
水素エンジンの排気浄化装置
6日前
株式会社SUBARU
硫黄除去方法
6日前
トヨタ自動車株式会社
車両診断装置
2日前
三菱重工業株式会社
蒸気タービン翼及び蒸気タービン
2日前
株式会社オティックス
ラッシュアジャスタ
4日前
いすゞ自動車株式会社
内燃機関ユニット及び車両
6日前
株式会社豊田自動織機
内燃機関の排気浄化システム
17日前
続きを見る
他の特許を見る