TOP
|
特許
|
意匠
|
商標
特許ウォッチ
Twitter
他の特許を見る
公開番号
2025132620
公報種別
公開特許公報(A)
公開日
2025-09-10
出願番号
2024030298
出願日
2024-02-29
発明の名称
回転弁のグランド回転規制プレート構造とボールバルブ
出願人
株式会社キッツ
代理人
個人
主分類
F16K
5/06 20060101AFI20250903BHJP(機械要素または単位;機械または装置の効果的機能を生じ維持するための一般的手段)
要約
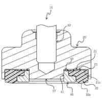
【課題】回転弁に加工を施すことなくグランドの緩みやステムの飛び出しを防止し、パッキンを最適なトルクで締め込んだ状態のグランドの回転を規制し、締め付け後のグランドの緩みも最小限に抑えることが可能な回転弁のグランド回転規制プレート構造を提供する。
【解決手段】回転弁1のボデー2に形成した軸装筒部11の上部開口13にグランド5を螺子込み固定し、グランドに装着してその回転を規制する回転規制プレート10を備える。ボデーはストッパ部15を有し、回転規制プレートは、少なくともベース部30とステム孔31と回り止め部32とグランド係止部33とを有し、回転規制プレートをグランドに装着するに際し、回り止め部がストッパ部に対する回転方向への位置固定がなされず、グランドが緩む回転方向にてストッパ部に接触するまでの回転動作が許容されるようにグランド係止部がグランドに係止されている。
【選択図】図4
特許請求の範囲
【請求項1】
回転弁のボデーに形成した軸装筒部の上部開口にグランドを螺子込み固定し、かつ前記グランドに装着してその回転を規制する回転規制プレートを備えた構造であって、前記ボデーは、ステムを回転するハンドルの回転動作範囲を規制するストッパ部を有し、前記回転規制プレートは、少なくとも前記グランド上に載置されるベース部と、前記ベース部の中央位置に通されるステム孔と、前記ベース部から外周方向に突出して前記ストッパ部に当接可能な回り止め部と、前記回転規制プレートを前記グランドと供回り可能となるようにグランドに係止するグランド係止部とを有し、前記回転規制プレートを前記グランドに装着するに際し、前記回り止め部が、前記ストッパ部に対する回転方向への位置固定がなされず、前記グランドが緩む回転方向にて前記ストッパ部に接触するまでの回転動作が許容されるように、前記グランド係止部が前記グランドに係止されていることを特徴とする回転弁のグランド回転規制プレート構造。
続きを表示(約 1,000 文字)
【請求項2】
回転弁のボデーに形成した軸装筒部の上部開口にグランドを螺子込み固定し、かつ前記グランドに装着してその回転を規制する回転規制プレートを備えた構造であって、前記グランドは、前記ボデー上部に露出する部位に正多角形部を有し、前記ボデーは、ステムを回転するハンドルの回転動作範囲を規制するストッパ部を有し、前記回転規制プレートは、少なくとも前記グランド上に載置されるベース部と、前記ベース部の中央位置に通されるステム孔と、前記ベース部から外周方向に突出して前記ストッパ部に当接可能な回り止め部と、前記ベース部から外周方向に突出させて前記グランドの正多角形部の一つの角又は辺を保持するグランド係止部とからなり、前記回転規制プレートを前記グランドに装着するに際し、前記回り止め部が、前記ストッパ部に対し前記グランドが締まる回転方向の側で前記ストッパ部に最も近くなる位置となり、かつ、前記回り止め部が、前記グランドが緩む回転方向にて前記ストッパ部に接触するまでの回転角度が、前記正多角形部の中心角の1/2以下となるように、前記グランド係止部に係止させる前記正多角形部の角又は辺を選択するようにしたことを特徴とする回転弁のグランド回転規制プレート構造。
【請求項3】
前記回転規制プレートは、前記回り止め部を2つ有しており、一方の前記回り止め部が前記ストッパ部に当接してから他方の前記回り止め部が前記ストッパ部に当接するまでの回転動作が可能となる角度が、前記正多角形部の中心角と同角度の1/2以下となる位置関係である請求項2に記載の回転弁のグランド回転規制プレート構造。
【請求項4】
前記グランド係止部は、互いに略平行に前記ベース部から外周方向に突出し、かつ前記グランド方向に垂下された2つの突出部片により形成され、これらの突出部片が前記正多角形部の角を挟み込むか、或は一辺を係止するようにして保持させた請求項2又は3に記載の回転弁のグランド回転規制プレート構造。
【請求項5】
前記ステム孔は、前記ステムの径よりもやや大径に設けられた請求項1又は2に記載の回転弁のグランド回転規制プレート構造。
【請求項6】
請求項1又は2に記載の前記回転弁は、前記ボデー内に回転可能に設けた貫通孔を有するボールを備え、このボールを回転動作させる前記ステムを前記軸装筒部に設け、前記ステムの上部を前記ハンドルで回転させるようにしたボールバルブ。
発明の詳細な説明
【技術分野】
【0001】
本発明は、ボールバルブ等の回転弁に用いられるグランドの緩みを防ぎ、その回転を規制する回転弁のグランド回転規制プレートとボールバルブに関する。
続きを表示(約 2,200 文字)
【背景技術】
【0002】
従来、ボールバルブ等の回転弁において、その軸装部内に軸装シール用のパッキンが収納され、このパッキンをグランドの螺子込みによって押圧シールして軸装部内の密封性を確保する構造が一般に用いられている。
このような軸装構造の回転弁では、操作部の開閉操作によりステムからの回転トルクが繰り返し加わることでグランドが徐々に緩みやすくなり、このグランドの緩みによってパッキンによるシール性能が次第に低下する可能性がある。
これに対し、パッキンによるシール性を維持するために、グランドの回転を強制的に規制して不要な回転を阻止することで、その緩み止めを図るようにしたバルブが知られている。
【0003】
この種のグランドの回転を規制する構造を備えたバルブとして、例えば、特許文献1のバルブが開示されている。このバルブは、弁棒と弁本体との間に嵌着されるグランドであるパッキン押えと、このパッキン押えを被覆する廻り止め金具とを有し、パッキン押えの上部に形成された六角形状の頭部と廻り止め金具との間に弛み止め輪が設けられている。弛み止め輪の下部には切欠きが形成され、この切欠きは、弁本体の凸部に係合可能に設けられ、かつ、弛み止め輪の内周には六角形状の内孔が形成され、この内孔にパッキン押えの上部に設けられた頭部が嵌合可能に設けられている。
【0004】
上記バルブにおいて、パッキン押えは、ボデー内に螺子込まれ、このパッキン押えによって軸装部内に収納されたパッキンが押圧される。この状態で、弛み止め輪の上部の内孔にパッキン押えの頭部が嵌め込まれ、弛み止め輪の下部の切欠きには弁本体の凸部が係合された状態で、弛み止め輪がボデーに装着される。これにより、パッキン押えは、弛み止め輪を通して、軸装部に対して回転不能な状態でボデーに位置決め固定される。
【0005】
さらに、特許文献1のような弛み止め輪の代わりに、回転規制用のプレートを使用してグランドの回転防止を図るようにした構造が知られている。この場合、規制用プレートには、例えば、軸装部への装着時にステムを貫通させるための貫通穴と、グランドの六角形状の頭部に係止する係止片と、ボデーの軸装部側に係止する突出部位が設けられる。突出部位は、例えば、軸装部に一体に形成されたハンドルの回転規制用のストッパ片を両側から挟み込んで係止可能な2つの突出片により設けられる。
【0006】
上記規制用プレートは、貫通穴にステムが貫通されつつ、突出片がボデーのストッパ片に係止され、かつ係止片がグランドの頭部に係止された状態で、ボデーとグランドとの間に装着される。これによって、グランドは、規制用プレートを通してボデーに位置決め固定され、軸装部に対して回転不能な状態となる。これに加えて、規制用プレートを軸装部の芯出し方向に維持保持するために、この規制用プレートの外周側には、保持片が垂下するように設けられ、この保持片が、軸装部の外周側に当接されることで、規制用プレートが軸装部に対して位置決めされる。
【先行技術文献】
【特許文献】
【0007】
実開昭50-68929号公報
【発明の概要】
【発明が解決しようとする課題】
【0008】
前者の特許文献1のバルブにおいては、予めボデー側に弛み止め輪の切欠きを係止するための凸部を設ける必要があり、仮に、既成のバルブに対し、同文献1の弛み止め輪を使用してグランドの回転を規制しようとする場合には、ボデーに対してあらたに凸部を加工して形成する必要がある。何れの場合にも、凸部に弛み止め輪の切欠きを確実に嵌合させ、弛み止め輪を回転不能の状態でボデーに装着するためには、凸部を高い寸法精度で形成する必要がある。
【0009】
さらに、凸部と切欠き、六角形状の内孔とパッキン押えの頭部において、何れかの間に隙間が生じた状態で、弛み止め輪によりパッキン押えが固定されていると、ステムの繰り返しの回転動作等によって、グランドが緩んだり、このグランドの緩みによりステムが抜け出し方向に移動してボデーから飛び出したりするおそれがある。そのため、弛み止め輪についても、ボデー側の凸部と同様に、切欠き、及び六角形状の内孔を高精度に形成する必要がある。
【0010】
これに加えて、弛み止め輪は、切欠きと凸部との位置合わせつつボデーに嵌め込んだときに、その六角形状の内孔が特定の向きに設定されるため、この内孔の向きを調整することはできない。このことから、パッキン押えをボデーに螺子込むときに、このパッキン押えの弛み止め輪に対する回転を阻止するために、その六角形状の頭部を弛み止め輪の内筒に確実に嵌まり込ませて、パッキン押えの頭部を特定の向きに合わせる必要がある。そのため、パッキン押えは、螺子込み具合を調節しながら螺子込むことになる。
しかし、パッキン押えの螺子込み具合を変えると、パッキンの締め過ぎや締め込み不足が生じてその最適な押圧状態を発揮できなくなり、十分なシール性が得られないばかりか、締め過ぎによりパッキン押えとボデーとの螺合部分が破損したり、締め込み不足によりパッキン押えが緩みやすくなったりするおそれもある。
(【0011】以降は省略されています)
この特許をJ-PlatPat(特許庁公式サイト)で参照する
関連特許
株式会社キッツ
酸素濃縮装置
2か月前
株式会社キッツエスシーティー
ダイヤフラムバルブおよび弁体
1か月前
株式会社キッツ
回転弁のグランド回転規制プレート構造とボールバルブ
24日前
国立大学法人京都工芸繊維大学
二酸化炭素分離膜、二酸化炭素分離膜の製造方法、二酸化炭素分離方法及び二酸化炭素分離膜モジュール
1日前
個人
流路体
8か月前
個人
鍋虫ねじ
1か月前
個人
回転伝達機構
1か月前
個人
ホース保持具
5か月前
個人
紛体用仕切弁
1か月前
個人
クラッチ装置
8か月前
個人
差動歯車用歯形
3か月前
個人
トーションバー
6か月前
個人
ジョイント
15日前
個人
ナット
16日前
個人
回転式配管用支持具
7か月前
個人
地震の揺れ回避装置
2か月前
株式会社不二工機
電磁弁
3か月前
株式会社不二工機
電磁弁
4か月前
個人
固着具と成形品部材
8か月前
個人
ボルトナットセット
6か月前
個人
吐出量監視装置
1か月前
株式会社アイシン
駆動装置
8か月前
株式会社オンダ製作所
継手
7か月前
柿沼金属精機株式会社
分岐管
1か月前
株式会社ミクニ
弁装置
8か月前
株式会社ミクニ
弁装置
8か月前
個人
ベルトテンショナ
7か月前
カヤバ株式会社
緩衝器
2か月前
株式会社三協丸筒
枠体
6か月前
カヤバ株式会社
緩衝器
2か月前
カヤバ株式会社
緩衝器
6か月前
カヤバ株式会社
ダンパ
3か月前
カヤバ株式会社
ダンパ
3か月前
株式会社タカギ
水栓装置
1か月前
個人
固着具と固着具の固定方法
5か月前
日東精工株式会社
樹脂被覆ねじ
6か月前
続きを見る
他の特許を見る