TOP
|
特許
|
意匠
|
商標
特許ウォッチ
Twitter
他の特許を見る
10個以上の画像は省略されています。
公開番号
2025093164
公報種別
公開特許公報(A)
公開日
2025-06-23
出願番号
2023208738
出願日
2023-12-11
発明の名称
管継手
出願人
株式会社ブリヂストン
代理人
個人
主分類
F16L
19/06 20060101AFI20250616BHJP(機械要素または単位;機械または装置の効果的機能を生じ維持するための一般的手段)
要約
【課題】専用の設備を必要とせず、組み付けが簡単かつ適切にできるとともに、ナット部材の締め付けおよび流体の圧力変動に際して、流体の漏出を防止できる管継手を供する。
【解決手段】芯金具10;60の芯金具円筒部11に同軸上に平坦内周面23;73を嵌合したナット部材20;70が、芯金具10;60に対して軸方向の所定の相対位置関係にあるときに、芯金具側外周溝11v;61vとナット側内周溝23v;73vが合致してリング嵌入孔Vが形成され、リング嵌入孔Vに係止リング30;80を嵌入することで、芯金具10;60に対してナット部材20;70が軸方向の前記芯金具10;60と離反する方向への相対移動を規制されかつ相対回転可能に係止されて取り付けられ、芯金具側外周溝11v;61vはナット側内周溝23v;73vより溝深さが深いことを特徴とする。
【選択図】図2
特許請求の範囲
【請求項1】
管体(18;68)に接続される芯金具(10;60)の流出入口をなす芯金具円筒部(11;61)に、ナット筒状本体(21;71)の内周面に雌ねじ(22;72)と平坦内周面(23;73)が軸方向両側に形成されたナット部材(20;70)が、同軸上で前記雌ねじ(22;72)を前記芯金具円筒部(11;61)より軸方向外側にして前記平坦内周面(23;73)を嵌合し、前記芯金具(10;60)に対して前記ナット部材(20;70)が軸方向の前記芯金具(10;60)と離反する方向への相対移動を規制されかつ相対回転可能に係止されて取り付けられる管継手であって、
前記ナット部材(20;70)の前記雌ねじ(22;72)が継手金具(40;90)の流出入口をなす継手金具円筒部(41;91)に形成された雄ねじ(42;92)に螺合して緊締することで、前記ナット部材(20;70)を介して前記芯金具円筒部(11;61)に前記継手金具円筒部(41;91)を連結する管継手において、
前記芯金具円筒部(11;61)の外周面に芯金具側外周溝(11v;61v)が円環状に形成され、
前記ナット部材(20;70)の前記平坦内周面(23;73)にナット側内周溝(23v;73v)が円環状に形成され、
前記芯金具(10;60)の前記芯金具円筒部(11;61)に同軸上に前記平坦内周面(23;73)を嵌合した前記ナット部材(20;70)が、前記芯金具(10;60)に対して軸方向の所定の相対位置関係にあるときに、前記芯金具側外周溝(11v;61v)と前記ナット側内周溝(23v;73v)が合致してリング嵌入孔(V)が形成され、
前記リング嵌入孔(V)に係止リング(30;80)を嵌入することで、前記芯金具(10;60)に対して前記ナット部材(20;70)が軸方向の前記芯金具(10;60)と離反する方向への相対移動を規制されかつ相対回転可能に係止されて取り付けられ、
前記芯金具側外周溝(11v;61v)は前記ナット側内周溝(23v;73v)より溝深さが深いことを特徴とする管継手。
続きを表示(約 910 文字)
【請求項2】
前記ナット部材(20;70)の前記雌ねじ(22;72)が前記継手金具円筒部(41;91)の前記雄ねじ(42;92)に螺合して緊締すると、前記芯金具円筒部(11;61)の端面と前記継手金具円筒部(41;91)の端面が圧接して連結することを特徴とする請求項1に記載の管継手。
【請求項3】
前記芯金具円筒部(11;61)と前記継手金具円筒部(41;91)が互いに圧接する端面(11t,41t;61t,91t)は、軸方向に対して傾きを持つ円錐面であることを特徴とする請求項2に記載の管継手。
【請求項4】
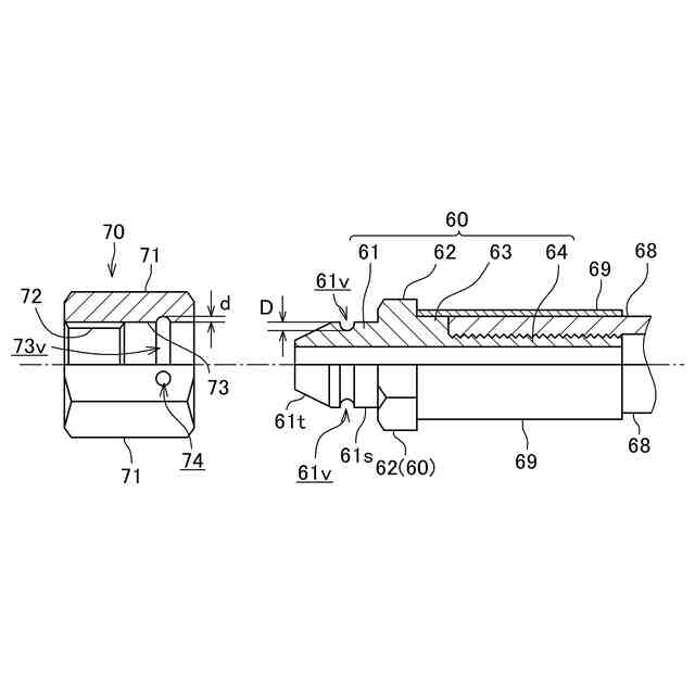
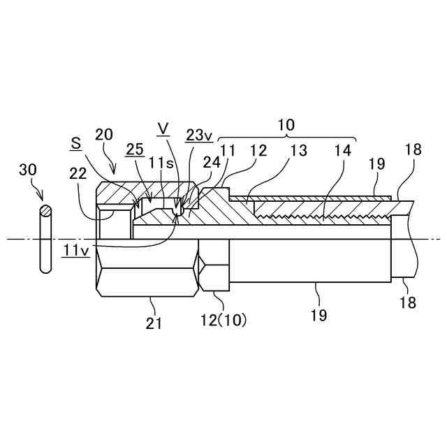
前記係止リング(30)は、C字円弧状に成形された弾性を有するリングであり、
前記ナット部材(20)は、前記ナット筒状本体(21)の前記雌ねじ(22)とは反対側端部に内径が縮径して前記芯金具円筒部(11)の外径に等しい内径の前記平坦内周面(23)を有する環状縮径部(24)が形成され、
前記環状縮径部(24)の前記平坦内周面(23)の前記雌ねじ側開口縁部に、前記ナット側内周溝(23v)が形成され、
前記ナット部材(20)が前記芯金具(10)に対して、前記芯金具側外周溝(11v)と前記ナット側内周溝(23v)が合致する軸方向の所定の相対位置関係にあるときに、前記ナット筒状本体(21)の内周面の前記雌ねじ(22)と前記環状縮径部(24)との間に形成される環状凹部(25)により、前記ナット部材(20)の内側で前記芯金具円筒部(11)との間に空隙(S)が形成されることを特徴とする請求項1ないし請求項3のいずれか1項に記載の管継手。
【請求項5】
前記ナット部材(70)には、前記ナット側内周溝(73v)の内周円の接線方向に延びるピン挿入孔(74)が、前記ナット側内周溝(73v)から接線方向外側に貫通して形成され、
可撓性を有するピン(80)を、前記ピン挿入孔(74)に挿入し、さらに前記リング嵌入孔(V)に嵌入することで、前記係止リング(80)とすることを特徴とする請求項1ないし請求項3のいずれか1項に記載の管継手。
発明の詳細な説明
【技術分野】
【0001】
本発明は、ナット部材を介して芯金具を継手金具に連結する管継手に関する。
続きを表示(約 1,400 文字)
【背景技術】
【0002】
本発明に係る管継手は、管体に接続される芯金具に嵌合したナット部材の雌ねじが継手金具の流出入口をなす継手金具円筒部に形成された雄ねじに螺合して緊締することで、継手金具を芯金具に連結する構造の管継手である。
【0003】
この種の管継手においては、芯金具にナット部材を嵌合するに際して、芯金具に対してナット部材が軸方向の芯金具と離反する方向の相対移動が規制されかつ相対回転可能に係止されて取り付けられる必要がある。
このような管継手として、加締めナットを用いた例(例えば、特許文献1)がある。
【先行技術文献】
【特許文献】
【0004】
特開2020-90991号公報
【0005】
特許文献1に開示された管継手は、ホースの端部に固着された継手本体(芯金具に相当)と、筒部の一端にナット部、他端に内周側に突出した突起部が形成された加締めナットとからなる。
【0006】
加締めナットは、同軸上で継手本体の流出口のある継手本体円筒部に、ナット部を継手本体円筒部より軸方向外側にして被せ、筒部の突起部のある端部を径方向内側に加締めて筒部を塑性変形して、加締めナットの突起部を継手本体円筒部の外周面に形成された凹溝に相対回転可能に収容することで、継手本体に対して加締めナットが軸方向の継手本体と離反する方向の相対移動が規制され、かつ相対回転可能に係止されて取り付けられる。
【0007】
このように継手本体に取り付けられた加締めナットを、継手金具の流出入口をなす円筒部に形成された雄ねじに螺合して緊締することで、継手本体と継手金具が圧接して連結される。
【発明の概要】
【発明が解決しようとする課題】
【0008】
このように、加締めナットの加締めにより筒部が塑性変形して突起部が継手本体の凹溝に収容された状態として、ナット部の締め付けにより継手本体と継手金具が圧接して連結している。
【0009】
継手本体と継手金具を流通する流体の圧力は、継手本体と継手金具を離反する方向に作用するので、継手本体とともに加締めナットが継手金具から離反する方向に力を受け、
閉じる方向に塑性変形した加締めナットの筒部には開く方向に力が働く。
度々、高圧の流体が流れて圧力変動が繰り返されると、加締めナットの筒部に繰り返し開く方向に応力が働くことになり、また加締めナットの締め付けが過大であると、筒部が塑性変形とは逆変形を起こし、継手本体と継手金具との圧接が弱くなり、隙間が生じて流体が漏れるおそれがある。
【0010】
また、継手本体に加締めナットを取り付けるのに、加締めナットの筒部の突起部のある端部を径方向内側に加締めて筒部を塑性変形させるのであるが、変形が足りないと、突起部の引っ掛かりが不十分で外れることがあり、また、変形が過ぎると、継手本体の凹溝の底面や側面に圧接して加締めナットの回転が困難となる。
そのため、加締めナットを適度に精度よく加締めるのが難しく、かつ加締めナットの筒部の突起部のある端部を全周に亘って均等に径方向内側に加締める必要があることから、加締めるための専用の設備が必要とされる。
(【0011】以降は省略されています)
この特許をJ-PlatPat(特許庁公式サイト)で参照する
関連特許
株式会社ブリヂストン
タイヤ
1日前
株式会社ブリヂストン
情報処理装置、情報処理方法、及び情報処理プログラム
3日前
個人
鍋虫ねじ
1か月前
個人
ホース保持具
5か月前
個人
回転伝達機構
1か月前
個人
紛体用仕切弁
1か月前
個人
差動歯車用歯形
3か月前
個人
トーションバー
6か月前
個人
ジョイント
15日前
個人
回転式配管用支持具
7か月前
個人
ボルトナットセット
6か月前
個人
ナット
16日前
株式会社不二工機
電磁弁
3か月前
個人
地震の揺れ回避装置
2か月前
株式会社不二工機
電磁弁
4か月前
個人
吐出量監視装置
1か月前
株式会社三協丸筒
枠体
6か月前
カヤバ株式会社
緩衝器
2か月前
カヤバ株式会社
緩衝器
2か月前
柿沼金属精機株式会社
分岐管
1か月前
カヤバ株式会社
緩衝器
6か月前
カヤバ株式会社
ダンパ
3か月前
個人
ベルトテンショナ
7か月前
カヤバ株式会社
ダンパ
3か月前
個人
固着具と固着具の固定方法
5か月前
個人
固着具と固着具の固定方法
4か月前
株式会社ニフコ
クリップ
1日前
アズビル株式会社
回転弁
9日前
株式会社奥村組
制振機構
5日前
株式会社奥村組
制振機構
5日前
株式会社不二工機
電動弁
6か月前
株式会社不二工機
電磁弁
1か月前
日東精工株式会社
樹脂被覆ねじ
6か月前
株式会社フジキン
ボールバルブ
3か月前
株式会社ノーリツ
分配弁
1日前
個人
固着具と固着具の固定方法
7か月前
続きを見る
他の特許を見る