TOP
|
特許
|
意匠
|
商標
特許ウォッチ
Twitter
他の特許を見る
10個以上の画像は省略されています。
公開番号
2025144868
公報種別
公開特許公報(A)
公開日
2025-10-03
出願番号
2024044765
出願日
2024-03-21
発明の名称
クリップ
出願人
株式会社ニフコ
代理人
個人
主分類
F16B
19/00 20060101AFI20250926BHJP(機械要素または単位;機械または装置の効果的機能を生じ維持するための一般的手段)
要約
【課題】クリップにこじり方向に大きな荷重が加わってもがたつきの虞をなくし、安定性や係合特性に優れたクリップを提供する。
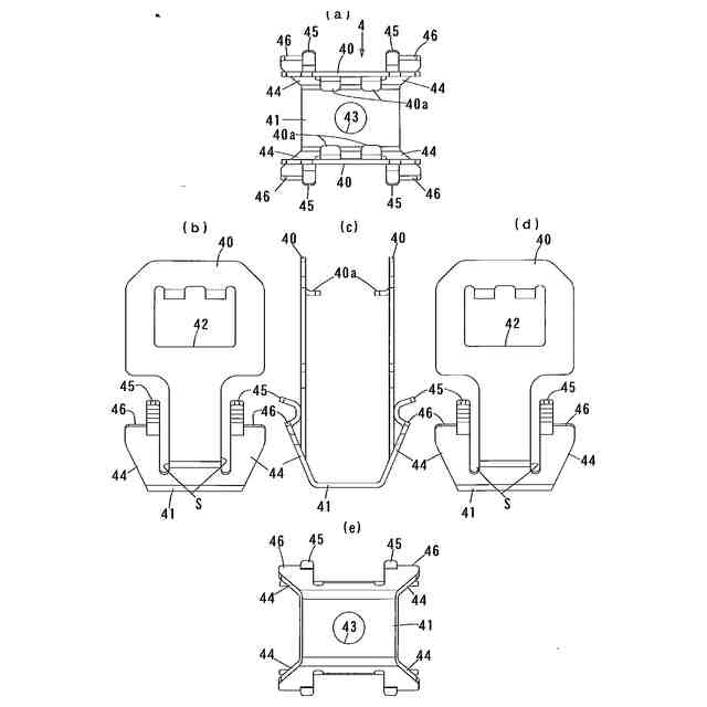
【解決手段】装飾品や機能部品等の車室内装品1を車体パネル10に設けられた矩形孔11に取り付けるために用いられるクリップ4であって、クリップ4は、車室内装品1側に取り付けられる本体40、及び本体40と一体に形成されて矩形孔11に圧接する複数の係止部44を備え、複数の係止部として、本体40の幅方向の両側面に隙間Sを介し突設されて、矩形孔11の二組の左右の角部のうち、少なくとも一組の左右の各角部と隣接する位置に配置されると共に、上端部に矩形孔11の孔縁を挟持可能な落ち込み防止爪45と係止爪46を形成している2以上の係止部44を有していることを特徴としている。
【選択図】図7
特許請求の範囲
【請求項1】
装飾品や機能部品等の車室内装品を車体パネルに設けられた矩形孔に取り付けるために用いられるクリップであって、
前記クリップは、前記車室内装品側に取り付けられる本体、及び前記本体と一体に形成されて前記矩形孔に圧接する複数の係止部を備え、
前記複数の係止部として、前記本体の両側面に隙間を介し突設されて、前記矩形孔の二組の左右の角部のうち、少なくとも一組の左右の各角部と隣接する位置に配置されると共に、上端部に前記矩形孔の孔縁を挟持可能な落ち込み防止爪と係止爪を形成している2以上の係止部を有していることを特徴とするクリップ。
続きを表示(約 410 文字)
【請求項2】
前記2以上の係止部は、前記落ち込み防止爪を前記本体の側面に接近させ、前記係止爪を前記落ち込み防止爪より前記本体の側面から離れるよう設けていることを特徴とする請求項1に記載のクリップ。
【請求項3】
前記本体が略U字形に形成され、前記複数の係止部が前記本体のU字形の対向している両片部の幅方向両側に設けられていることを特徴とする請求項1又は2に記載のクリップ。
【請求項4】
前記本体及び複数の係止部が板材で一体に形成されていると共に、前記各係止部が前記本体のU字形の中間部の両側に連結されていることを特徴とする請求項3に記載のクリップ。
【請求項5】
前記車室内装品は、保持部材を介して収納位置と使用位置に切り換えられるアシストグリップであり、前記クリップが前記保持部材に設けられた立壁に組み付けられていることを特徴とする請求項1又は2に記載のクリップ。
発明の詳細な説明
【技術分野】
【0001】
本発明は、車両分野に用いられるクリップで、特に装飾部材や機能部品等の車室内装品を車体パネルに対して押操作により取付可能にする場合に好適なクリップに関する。
続きを表示(約 1,900 文字)
【背景技術】
【0002】
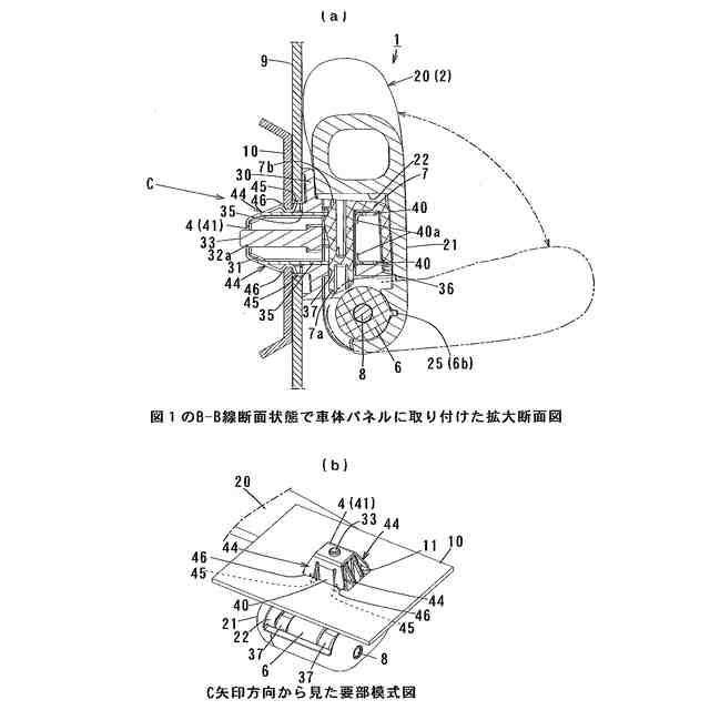
図10は特許文献1に開示のクリップを示し、(a)はクリップの単品図、(b)はアシストグリップに装着されたクリップを車体パネルの矩形孔に係合した取付状態を示す断面図である。このクリップ11は、車室内装品であるアシストグリップ1に取り付けられた状態で、両側の係止部13が車体パネル23の矩形孔(嵌合孔)24に対し押入操作により取り付けられる。すなわち、クリップ11は、U字形の本体12、及び本体12のU字形の両壁部34の端部から屈曲部14を介し折り曲げられて矩形孔24に圧接する係止部13,13を備えている。
【0003】
ここで、各係止部13の突出端には、矩形孔24の孔縁を挟持可能な係止爪(抜止部)19と落ち込み防止爪(防止部)21が設けられている。また、各係止部13の突出端側は、2本の縦スリット15により区画され、左右に配された係止片16と、両スリット15の間に配されたストッパー17を有している。各係止片16の上側には、上端側を壁部34側へ曲げた傾斜部18と、傾斜部18の基部に位置して切り起こしにより上向きに突出された係止爪19とが設けられている。また、ストッパー17の上端には、落ち込み防止爪21が壁部34から離れる方向へ突設されている。
【0004】
以上のクリップ11は、図10(b)のごとく本体12がアシストグリップ1に取り付けられた後、車体パネルの矩形孔24に対し押操作により係合される。この過程では、クリップ11が矩形孔24に差し込まれて、両側の係止部13が矩形孔24の孔縁に圧接される。また、クリップ11は、パネル23に対し同図のごとく傾斜部18がパネル裏側孔縁に圧接された状態で、落ち込み防止爪21と係止爪19によりパネルを表裏から挟持した状態で取り付けられる。
【先行技術文献】
【特許文献】
【0005】
特開2001-65524号公報
【発明の概要】
【発明が解決しようとする課題】
【0006】
しかし、上記クリップは、アシストグリップ等の車室内装品の取付構造に用いられた場合、アシストグリップにパネルから離れる抜け方向の過重に対し合計4カ所の係止爪により取付強度を維持可能であるが、回転ないしはこじり方向の過重に対しズレやがたつきが生じる虞がある。この原因は、特に、落ち込み防止爪が係止爪同士の間の1カ所しかないため係止爪との間の挟持力を増大し難いことにある。
【0007】
本発明の目的は、以上のような問題を解消して、クリップに回転ないしはこじり方向に大きな荷重や負荷が加わっても、ズレやがたつきなどが生じなく安定性や係合特性に優れたクリップを提供することにある。他の目的は以下の説明のなかで明らかにする。
【課題を解決するための手段】
【0008】
上記目的を達成するため請求項1の発明は、図面を参照して特定すると、装飾品や機能部品等の車室内装品1を車体パネル10に設けられた矩形孔11に取り付けるために用いられるクリップ4であって、前記クリップは、前記車室内装品側に取り付けられる本体40、及び前記本体40に一体に形成されて前記矩形孔11に圧接する複数の係止部44を備え、前記複数の係止部として、前記本体の幅方向の両側面に隙間Sを介し突設されて、前記矩形孔11の二組の左右の角部のうち、少なくとも一組の左右の各角部と隣接する位置に配置されると共に、上端部に前記矩形孔11の孔縁を挟持可能な落ち込み防止爪45と係止爪46とを形成している2以上の係止部44を有していることを特徴としている。
【0009】
また、本発明は次のように具体化されることがより好ましい。
(1)、前記2以上の係止部は、前記落ち込み防止爪を前記本体の側面に接近させ、前記係止爪を前記落ち込み防止爪より前記本体の側面から離れるよう設けている構成である(請求項2)。
(2)、前記本体が略U字形に形成され、前記複数の係止部が前記本体のU字形の対向している両片部の幅方向両側に設けられている構成である(請求項3)。
【0010】
(3)、前記本体及び複数の係止部が板材で一体に形成されていると共に、前記各係止部が前記本体のU字形の中間部の両側に連結されている構成である(請求項4)。
(4)、前記車室内装品は、保持部材を介して収納位置と使用位置に切り換えられるアシストグリップであり、前記クリップが前記保持部材に設けられた立壁に組み付け支持される構成である(請求項5)。
【発明の効果】
(【0011】以降は省略されています)
この特許をJ-PlatPat(特許庁公式サイト)で参照する
関連特許
株式会社ニフコ
クリップ
2日前
株式会社ニフコ
風防装置
3日前
株式会社ニフコ
収納装置
26日前
株式会社ニフコ
照明装置
1か月前
株式会社ニフコ
保持装置
3か月前
株式会社ニフコ
リテーナ固定構造
6日前
株式会社ニフコ
施設管理システム
3か月前
個人
鍋虫ねじ
1か月前
個人
ホース保持具
5か月前
個人
回転伝達機構
2か月前
個人
紛体用仕切弁
1か月前
個人
トーションバー
6か月前
個人
差動歯車用歯形
3か月前
個人
ジョイント
16日前
個人
回転式配管用支持具
7か月前
株式会社不二工機
電磁弁
3か月前
株式会社不二工機
電磁弁
4か月前
個人
ボルトナットセット
6か月前
個人
ナット
17日前
個人
地震の揺れ回避装置
2か月前
個人
吐出量監視装置
1か月前
個人
ベルトテンショナ
7か月前
カヤバ株式会社
ダンパ
3か月前
株式会社三協丸筒
枠体
6か月前
カヤバ株式会社
緩衝器
3か月前
柿沼金属精機株式会社
分岐管
1か月前
カヤバ株式会社
ダンパ
3か月前
カヤバ株式会社
緩衝器
6か月前
カヤバ株式会社
緩衝器
3か月前
個人
角型菅の連結構造及び工法
7か月前
株式会社ノーリツ
分配弁
5か月前
株式会社ノーリツ
分配弁
5か月前
日東電工株式会社
断熱材
5か月前
株式会社不二工機
電動弁
6か月前
株式会社ニフコ
クリップ
2日前
株式会社フジキン
ボールバルブ
3か月前
続きを見る
他の特許を見る