TOP
|
特許
|
意匠
|
商標
特許ウォッチ
Twitter
他の特許を見る
10個以上の画像は省略されています。
公開番号
2025104491
公報種別
公開特許公報(A)
公開日
2025-07-10
出願番号
2023222330
出願日
2023-12-28
発明の名称
四塩化炭素の製造方法
出願人
株式会社トクヤマ
代理人
主分類
C07C
17/158 20060101AFI20250703BHJP(有機化学)
要約
【課題】 塩化メチルを塩素と反応させて、塩素化することにより、塩化メチレン、クロロホルム、及び四塩化炭素からなる高次塩素化メタン類を生成するに際して、四塩化炭素の生成割合を効率的に増加させること。
【解決手段】 前記高次塩素化メタン類を生成させる方法において、該高次塩素化メタン類に含まれるクロロホルムの少なくとも一部を分離して前記高次塩素化メタン類の反応系に循環供給させ、他方で、前記高次塩素化メタン類に含まれる塩化メチレンは、上記反応系に循環供給するクロロホルムに対して0~100質量%しか循環供給させない態様で、塩素化反応を実施する。
【選択図】 図1
特許請求の範囲
【請求項1】
塩化メチルと塩素とを反応させて、塩化メチレン、クロロホルム、及び四塩化炭素からなる高次塩素化メタン類を生成させる方法であって、
該高次塩素化メタン類に含まれるクロロホルムの少なくとも一部を分離して前記高次塩素化メタン類の反応系に循環供給させ、他方で、
前記高次塩素化メタン類に含まれる塩化メチレンは、上記反応系に循環供給するクロロホルムに対して0~100質量%しか循環供給させないことにより、前記高次塩素化メタン類に含まれる四塩化炭素の生成割合を増加させる、
ことを特徴とする四塩化炭素の製造方法。
続きを表示(約 930 文字)
【請求項2】
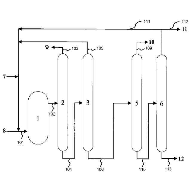
高次塩素化メタン類からのクロロホルムの少なくとも一部の分離が、以下の精製工程
1)前記高次塩素化メタン類から、塩化水素及び塩化メチルを留去させる工程
2)前記1)工程で得られた塩化水素及び塩化メチルの留去残液を、必要に応じて脱水した後、塩化メチレン精留塔に供給し、その留出液として塩化メチレンを分離する工程
3)前記2)工程で得られた塩化メチレン精留塔塔底液を、クロロホルム精留塔に供給し、その留出液としてクロロホルムを分離する工程
を経ることで実施され、上記3)工程においてクロロホルム精留塔の留出液として分離されたクロロホルムを、前記高次塩素化メタン類の反応系に循環供給する、請求項1記載の四塩化炭素の製造方法。
【請求項3】
前記2)工程において、塩化メチレン精留塔の留出液として分離された塩化メチレンを、高次塩素化メタン類の反応系に循環供給する、請求項2記載の四塩化炭素の製造方法。
【請求項4】
前記1)工程で得られた、塩化水素及び塩化メチルの留去残液を、前記2)工程における塩化メチレン精留塔に供給する前に、前記高次塩素化メタン類に含まれる塩化メチレンの粗方を先分離するための塩化メチレン粗分離塔に供給し、該塩化メチレン粗分離塔塔底液を、上記塩化メチレン精留塔に供給する、請求項2または請求項3に記載の四塩化炭素の製造方法。
【請求項5】
前記塩化メチレン粗分離塔の留出液として先分離された塩化メチレンを、前記高次塩素化メタン類の反応系に循環供給する、請求項4記載の四塩化炭素の製造方法。
【請求項6】
高次塩素化メタン類の反応系において、クロロホルムの循環供給量が、塩化メチル1モルに対して0.02~0.50モルになる量である、請求項1記載の四塩化炭素の製造方法。
【請求項7】
高次塩素化メタン類の反応系において、塩化メチル及び循環供給する塩化メチレン及びクロロホルムの合計量(X)に対する塩素のモル比(Cl
2
/X)が0.3~1.5の範囲になる量である、請求項1記載の四塩化炭素の製造方法。
発明の詳細な説明
【技術分野】
【0001】
本発明は、四塩化炭素を製造方法に関し、具体的には、塩化メチルと塩素とを反応させて、塩化メチレン、クロロホルム、及び四塩化炭素からなる高次塩素化メタン類を生成させる方法により、上記四塩化炭素を製造する方法に関する。
続きを表示(約 2,400 文字)
【背景技術】
【0002】
塩化メチルを塩素と反応させて、塩素化することにより、塩化メチレン、クロロホルム、及び四塩化炭素からなる高次塩素化メタン類を製造する方法が実施されている。これまで、上記塩素化メタン類の中でも、塩化メチレン及びクロロホルムが、溶剤やフルオロカーボン、フッ素樹脂の製造原料等として、特に有用であった。そのため、前記高次塩素化メタン類の製造では、これら塩化メチレンやクロロホルムの収量ができるだけ多くなる運転条件、言い換えれば、最終塩素化物である四塩化炭素の生成量は低く抑えられる運転条件で実施することが多かった。この目的から例えば、特許文献1では、クロロホルムの収量を高めるために、前記塩素化反応により得た高次塩素化メタン類から塩化メチレンの一部を分離し、該塩化メチレンを前記塩素化反応に供給して反応させ、該塩化メチレンのクロロホルムへの塩素化を増強する方法が提案されている。この方法では、生成割合が増大するのは、専ら、前記クロロホルムであり、四塩化炭素の生成割合は大きく増加するものではない。
【0003】
ところが近年、上記高次塩素化メタンのなかでも四塩化炭素に対して、その有用性が急速に高まっている。詳述すれば、四塩化炭素は、ハイドロフルオロカーボン(HFC)系発泡剤(例えば、HFC-245fa、HFC-236fa、HFC-365mfc等)、ハイドロクロロフルオロオレフィン(HCFO)系発泡剤(例えば、HCFO-1233zd等)及びハイドロフルオロオレフィン(HFO)系発泡剤(例えば、HFO-1336mzz等)の原材料として着目度が増している。HCFO-1233zdやHFO-1336mzzといった新しい発泡剤は、国際的規模での地球温暖化防止対策が議論されている中で、硬質ウレタンフォームの製造において待ち望まれていたオゾン層破壊と地球温暖化の二大問題を解決可能なものだからである。
【0004】
これらの発泡剤の特徴として、炭素の主鎖に二重結合を含んでいる事から大気中での寿命が短く、地球温暖化への影響が非常に小さいことと、ガスの熱伝導率が旧来のフロン類並みに低い為、これを用いた断熱材の断熱性能の向上が期待できる。更に、これらの発泡剤以外に、従来フロン類が使用されてきた冷媒やエアゾール用噴射剤に関しても、HFO-1234yfやHFO-1234ze等といった主鎖に二重結合を持つ物質が同様に開発、実用化されており、これらの物質の原料としても四塩化炭素の使用量が増えており、その需要が増してきている。また、四塩化炭素は、医薬用中間体や農薬用中間体としての用途の増加も見込まれる。従って、こうした動向を反映し、高次塩素化メタン類の製造では、上記四塩化炭素の生成量が、より高まるような条件で運転する要求が高まっている。
【0005】
この要求から例えば、特許文献2では、前記塩化メチルの塩素化反応において、塩素化反応器から排出された塔頂流に含まれる塩化メチル及び塩化メチレンを前記塩素化反応器に供給する一方で、反応生成物からも、目的物である四塩化炭素以外の部分塩素化物、即ち、塩化メチル、塩化メチレン、及びクロロホルムを分離し、これを上記塩素化反応器にそのまま供給して運転を継続し、四塩化炭素の生成量を増加することが試みられている(〔0033〕及び〔図1〕)。
【先行技術文献】
【特許文献】
【0006】
特開2002-138059号公報
特表2015-503523号公報
【発明の概要】
【発明が解決しようとする課題】
【0007】
上記特許文献2の方法によれば、塩素化反応器には、四塩化炭素の塩素化前駆体に当たるクロロホルムが循環供給され、これが更なる塩素化に供されるため、四塩化炭素の生成割合を増加させるには一応は有利な反応条件になる。しかし、前記循環供給される部分塩素化物中には塩化メチレンも多量に含有されており、これにより反応系に該塩化メチレンが増量すると、次塩素化物であるクロロホルムの生成量も有意に増加することになる。このため四塩化炭素の生成割合は十分には増加せず、更なる改良が望まれていた。
【課題を解決するための手段】
【0008】
上記課題に鑑み、本発明者らは、高次塩素化メタン類の製造において、四塩化炭素の収量を増加させる効率的方法を開発するべく、鋭意検討を続けてきた。その結果、高次塩素化メタン類に含まれる塩化メチレンの、反応系への循環供給は抑えた態様で、該高次塩素化メタン類に含まれるクロロホルムを少なくとも一部循環供給させることにより、上記の課題が解決することを見出し、本発明を完成させるに至った。
【0009】
即ち、本発明は、塩化メチルと塩素とを反応させて、塩化メチレン、クロロホルム、及び四塩化炭素からなる高次塩素化メタン類を生成させる方法であって、
該高次塩素化メタン類に含まれるクロロホルムの少なくとも一部を分離して前記高次塩素化メタン類の反応系に循環供給させ、他方で、
前記高次塩素化メタン類に含まれる塩化メチレンは、上記反応系に循環供給するクロロホルムに対して0~100質量%しか循環供給させないことにより、前記高次塩素化メタン類に含まれる四塩化炭素の生成割合を増加させる、
ことを特徴とする四塩化炭素の製造方法である。
【発明の効果】
【0010】
本発明によれば、塩化メチルと塩素とを反応させての高次塩素化メタン類の製造において、四塩化炭素の収量を良好に増加させることができる。
【図面の簡単な説明】
(【0011】以降は省略されています)
この特許をJ-PlatPat(特許庁公式サイト)で参照する
関連特許
株式会社トクヤマ
組成物
2日前
株式会社トクヤマ
水硬性組成物
16日前
株式会社トクヤマ
窒化ケイ素基板
9日前
株式会社トクヤマ
窒化ケイ素基板
1か月前
株式会社トクヤマ
改質フライアッシュの製造方法
2日前
株式会社トクヤマ
チオラクトン誘導体の製造方法
12日前
株式会社トクヤマデンタル
歯科用硬化性組成物およびその製造方法
12日前
株式会社トクヤマ
廃石膏粒体の貯蔵方法および貯蔵システム
1か月前
株式会社トクヤマ
ジオポリマー組成物及びジオポリマー組成物の製造方法
2日前
株式会社トクヤマ
高純度水酸化テトラアルキルアンモニウム水溶液の製造方法
24日前
株式会社トクヤマ
縞状流体の形成方法、化学物質の製造方法、及び縞状流体の形成装置
2日前
株式会社トクヤマ
縞状流体の形成方法、化学物質の製造方法、及び縞状流体の形成装置
2日前
株式会社トクヤマ
デリバリー用複合粒子、ならびにその製造方法およびその製造キット
8日前
株式会社トクヤマ
窒化アルミニウム焼結基板、その製造方法および電子回路用絶縁基板
8日前
株式会社トクヤマ
シリコンエッチング抑制剤、エッチング液、基板の処理方法及び半導体素子の製造方法
1日前
東ソー株式会社
タンパク質の発現方法
22日前
東ソー株式会社
炭素-窒素結合形成方法
3か月前
株式会社トクヤマ
四塩化炭素の製造方法
3か月前
株式会社トクヤマ
シロキサン類の回収方法
3か月前
株式会社半導体エネルギー研究所
有機化合物
1か月前
株式会社トクヤマ
ビオチン誘導体の製造方法
2か月前
栗田工業株式会社
ギ酸の回収方法
4日前
株式会社トクヤマ
ホルムアミド化合物の製造方法
1か月前
株式会社コスモス
液状炭化水素の増産方法
2か月前
株式会社コスモス
液状炭化水素の増産方法
2か月前
東ソー株式会社
イソシアネート化合物の製造方法
1か月前
株式会社トクヤマ
チオラクトン誘導体の製造方法
12日前
株式会社トクヤマ
ベンザゼピン化合物の製造方法
2か月前
日産化学株式会社
ピラゾール化合物及び有害生物防除剤
2か月前
国立大学法人東京農工大学
深共晶溶媒
1か月前
大阪瓦斯株式会社
メタン製造システム
8日前
三菱ケミカル株式会社
アルコールの製造方法
1か月前
本田技研工業株式会社
CO2変換方法
8日前
JNC株式会社
有機ケイ素化合物およびこれを用いた重合体
2か月前
東ソー株式会社
免疫グロブリン結合性タンパク質の製造方法
22日前
キヤノン株式会社
有機化合物及び有機発光素子
12日前
続きを見る
他の特許を見る