TOP
|
特許
|
意匠
|
商標
特許ウォッチ
Twitter
他の特許を見る
公開番号
2025144627
公報種別
公開特許公報(A)
公開日
2025-10-03
出願番号
2024044366
出願日
2024-03-21
発明の名称
窒化アルミニウム焼結基板、その製造方法および電子回路用絶縁基板
出願人
株式会社トクヤマ
,
DOWAメタルテック株式会社
代理人
個人
主分類
C04B
35/581 20060101AFI20250926BHJP(セメント;コンクリート;人造石;セラミックス;耐火物)
要約
【課題】窒化アルミニウム焼結基板を用いた電子回路用絶縁基板の耐部分放電性を向上させる。
【解決手段】ジルコニウム含有粒子を内部に含む窒化アルミニウム焼結基板であって、Zr/Alモル比が0.0017以上0.0665以下である組成を有し、厚さ方向端部表面から少なくとも深さ10.0μmまでの領域は、厚さ方向に平行な断面における前記ジルコニウム含有粒子の個数密度が6.0個/540μm
2
以下のジルコニウム欠乏表層である、窒化アルミニウム焼結基板。
【選択図】図2
特許請求の範囲
【請求項1】
ジルコニウム含有粒子を内部に含む窒化アルミニウム焼結基板であって、Zr/Alモル比が0.0017以上0.0665以下である組成を有し、厚さ方向端部表面から少なくとも深さ10.0μmまでの領域は、厚さ方向に平行な断面における前記ジルコニウム含有粒子の個数密度が6.0個/540μm
2
以下のジルコニウム欠乏表層である、窒化アルミニウム焼結基板。
続きを表示(約 610 文字)
【請求項2】
前記ジルコニウム含有粒子に加えて更にイットリウム含有粒子を内部に含む、請求項1に記載の窒化アルミニウム焼結基板。
【請求項3】
窒化アルミニウム粉末100質量部、酸化ジルコニウム粉末0.5質量部以上20.0質量部以下、焼結助剤1.0質量部以上10.0質量部以下を含み、レーザー回折・散乱法による体積基準の粒度分布における累積50%粒子径(μm)をD50、累積90%粒子径(μm)をD90と表記するとき、D50が0.7μm以上3.0μm以下、かつD90/D50比が2.20以上である混合粉末と、バインダー成分とを含む混合組成物からなる板状成形体を得る成形工程、
前記板状成形体中のバインダー成分を除去する脱脂工程、
前記脱脂工程を終えた板状成形体を、窒素含有雰囲気中で1700℃以上1900℃以下の温度に加熱保持することにより焼結させる焼結工程、
を有する、窒化アルミニウム焼結基板の製造方法。
【請求項4】
請求項1または2に記載の窒化アルミニウム焼結基板を用いた電子回路用絶縁基板であって、前記窒化アルミニウム焼結基板の少なくとも一方の面に銅または銅合金の導電層が形成された構造を有する電子回路用絶縁基板。
【請求項5】
前記窒化アルミニウム焼結基板の厚さが0.1~3.0mmである、請求項4に記載の電子回路用絶縁基板。
発明の詳細な説明
【技術分野】
【0001】
本発明は、半導体素子を搭載する電子回路用絶縁基板として有用な窒化アルミニウム焼結基板、およびその製造方法に関する。また、その焼結基板を用いた電子回路用絶縁基板に関する。
続きを表示(約 2,500 文字)
【背景技術】
【0002】
窒化アルミニウム焼結基板は熱伝導性が良好であり、電子回路用絶縁基板として広く利用されている。窒化アルミニウム焼結基板の製造過程では、製造性向上や絶縁基板の特性向上などを意図して、添加物質を混合することがある。
【0003】
例えば、特許文献1には、機械的強度を向上させる目的で窒化アルミニウム粉末に酸化ジルコニウム粉末と酸化イットリウム粉末を添加して焼結体を作製した例が示されている(表4)。その窒化アルミニウム粉末として平均粒径2.0μmの市販品が使用されている(段落0032)。
【先行技術文献】
【特許文献】
【0004】
特開平11-199324号公報
【発明の概要】
【発明が解決しようとする課題】
【0005】
高電圧機器では、電極と絶縁体の境界部分や絶縁体内部の欠陥部分など、電界が集中する箇所で部分放電が生じやすい。部分放電の発生を長期間放置すると、部分放電の強度と頻度が徐々に増加して部材の損傷や絶縁破壊に繋がる恐れがある。一般に部分放電は発電機、電力変圧器、送電線、電力ケーブルなどの高電圧コンポーネントで問題となりやすいが、高耐圧のパワーモジュールでも対策が必要である。パワーモジュールでは、半導体素子を搭載する電子回路用絶縁基板として、所定以上の高い電荷移動を伴う部分放電の発生頻度を低く抑えることができる特性(以下この特性を「耐部分放電性」という。)に優れるものを適用することが望まれる。
【0006】
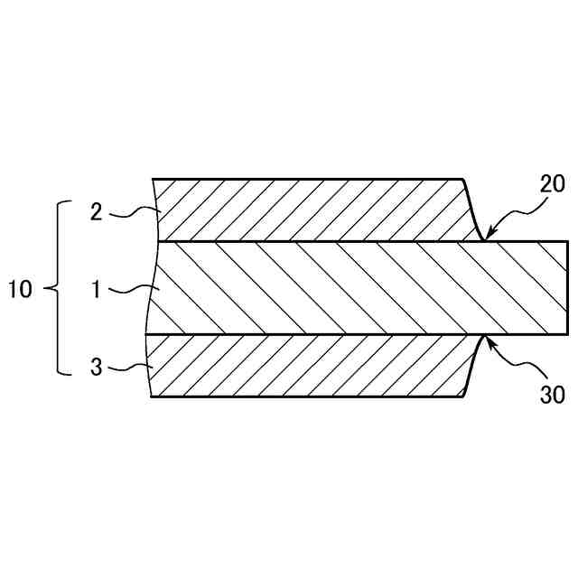
図1に、半導体素子を搭載する電子回路用絶縁基板の端部付近の断面構造を模式的に例示する。窒化アルミニウム焼結体などからなるセラミックス基板1の一方の面に、銅系あるいはアルミニウム系材料からなる回路用金属部材2が接合されている。セラミックス基板1の他方の面には、必要に応じて銅系あるいはアルミニウム系材料からなる放熱用金属部材3が接合されている。この例では、セラミックス基板1、回路用金属部材2、放熱用金属部材3によって電子回路用絶縁基板10が構成されている。このような積層構造の場合、セラミックス基板1と回路用金属部材2の接合界面端部20の部位、およびセラミックス基板1と放熱用金属部材3の接合界面端部30の部位に電界が集中しやすい。主としてこれらの電界集中部位を起点としてコロナ放電による部分放電が発生する。
【0007】
窒化アルミニウム焼結基板は、優れた絶縁性と熱伝導性が要求されるパワーモジュール等の絶縁基板として有用である。今後は電子機器の性能向上に対応すべく、電子回路用絶縁基板にとっては、耐部分放電性の向上も重要となってくる。特許文献1には、焼結体を得るための原料粉として窒化アルミニウム粉末に酸化ジルコニウム粉末と酸化イットリウム粉末を添加している例が示されているが(前述)、その技術は、特殊な粒度分布を呈する窒化アルミニウム粉末を使用するものではない。このような従来の技術では、耐部分放電性を改善することはできない。本発明の課題は、窒化アルミニウム焼結基板を用いた電子回路用絶縁基板の耐部分放電性を向上させることにある。
【課題を解決するための手段】
【0008】
発明者らは研究の結果、ジルコニウム含有粒子を内部に含む窒化アルミニウム焼結基板において、ジルコニウム含有粒子の存在量が非常に少ない表層部を設けることにより、その窒化アルミニウム焼結基板を用いた電子回路用絶縁基板の耐部分放電性を顕著に向上させることができることを見出した。そのような、ジルコニウム含有粒子の特異な分散形態を呈する焼結構造体は、焼結に供するための混合粉末の粒度分布を工夫することにより実現できる。
上記課題は以下の発明によって達成される。
【0009】
上記の知見に基づき、本明細書では以下の発明を開示する。
[1]ジルコニウム含有粒子を内部に含む窒化アルミニウム焼結基板であって、Zr/Alモル比が0.0017以上0.0665以下である組成を有し、厚さ方向端部表面から少なくとも深さ10.0μmまでの領域は、厚さ方向に平行な断面における前記ジルコニウム含有粒子の個数密度が6.0個/540μm
2
以下のジルコニウム欠乏表層である、窒化アルミニウム焼結基板。
[2]前記ジルコニウム含有粒子に加えて更にイットリウム含有粒子を内部に含む、上記[1]に記載の窒化アルミニウム焼結基板。
[3]窒化アルミニウム粉末100質量部、酸化ジルコニウム粉末0.5質量部以上20.0質量部以下、焼結助剤1.0質量部以上10.0質量部以下を含み、レーザー回折・散乱法による体積基準の粒度分布における累積50%粒子径(μm)をD50、累積90%粒子径(μm)をD90と表記するとき、D50が0.7μm以上3.0μm以下、かつD90/D50比が2.20以上である混合粉末と、バインダー成分とを含む混合組成物からなる板状成形体を得る成形工程、
前記板状成形体中のバインダー成分を除去する脱脂工程、
前記脱脂工程を終えた板状成形体を、窒素含有雰囲気中で1700℃以上1900℃以下の温度に加熱保持することにより焼結させる焼結工程、
を有する、窒化アルミニウム焼結基板の製造方法。
[4]上記[1]または[2]に記載の窒化アルミニウム焼結基板を用いた電子回路用絶縁基板であって、前記窒化アルミニウム焼結基板の少なくとも一方の面に銅または銅合金の導電層が形成された構造を有する電子回路用絶縁基板。
[5]前記窒化アルミニウム焼結基板の厚さが0.1~3.0mmである、上記[4]に記載の電子回路用絶縁基板。
【発明の効果】
【0010】
本発明によれば、窒化アルミニウム焼結基板を用いた電子回路用絶縁基板において、従来よりも耐部分放電性に優れるものを提供することが可能となった。
【図面の簡単な説明】
(【0011】以降は省略されています)
この特許をJ-PlatPat(特許庁公式サイト)で参照する
関連特許
株式会社トクヤマ
水硬性組成物
10日前
株式会社トクヤマ
窒化ケイ素基板
3日前
株式会社トクヤマ
窒化ケイ素基板
1か月前
株式会社トクヤマ
窒化ケイ素基板
24日前
株式会社トクヤマ
石膏粒体のか焼方法
1か月前
株式会社トクヤマ
イオン交換膜捲回体
1か月前
株式会社トクヤマ
ケトン誘導体の製造方法
2か月前
株式会社トクヤマ
ビオチン誘導体の製造方法
2か月前
株式会社トクヤマ
有機ケイ素化合物の製造方法
1か月前
株式会社トクヤマ
ホルムアミド化合物の製造方法
1か月前
株式会社トクヤマ
ベンザゼピン化合物の製造方法
1か月前
株式会社トクヤマ
チオラクトン誘導体の製造方法
6日前
株式会社トクヤマデンタル
歯科用硬化性組成物およびその製造方法
6日前
株式会社トクヤマ
廃石膏粒体の貯蔵方法および貯蔵システム
1か月前
株式会社トクヤマ
アシル化ベンゼン誘導体の酸塩の製造方法
1か月前
株式会社トクヤマ
廃石膏ボードから紙片と石膏粒体を回収する方法
1か月前
株式会社トクヤマ
垂直循環バケットコンベヤによる粉粒体の搬送方法
1か月前
株式会社トクヤマ
タイヤ用ゴム組成物、タイヤ用ゴム材料およびタイヤ
2か月前
株式会社トクヤマ
高純度水酸化テトラアルキルアンモニウム水溶液の製造方法
18日前
株式会社トクヤマ
シリカ粉体の測定方法、ならびに、シリカ粉体およびその製造方法
2か月前
株式会社トクヤマデンタル
多成分系液状組成物調整キットの製造方法、及びこれに用いる治具
1か月前
株式会社トクヤマ
窒化アルミニウム焼結基板、その製造方法および電子回路用絶縁基板
2日前
株式会社トクヤマ
縞状流体の形成方法、化学物質の製造方法、及び縞状流体の形成装置
1か月前
株式会社トクヤマ
デリバリー用複合粒子、ならびにその製造方法およびその製造キット
2日前
株式会社トクヤマ
ゴミ焼却灰の処理方法
2か月前
個人
構築素材又は原材
5か月前
株式会社トクヤマ
水硬性組成物
10日前
株式会社トクヤマ
水硬性組成物
4か月前
株式会社トクヤマ
水硬性組成物
3か月前
東ソー株式会社
焼結体の製造方法
4か月前
株式会社トクヤマ
窒化ケイ素基板
1か月前
太平洋マテリアル株式会社
膨張材
2日前
株式会社トクヤマ
窒化ケイ素基板
24日前
株式会社トクヤマ
窒化ケイ素基板
4か月前
株式会社トクヤマ
窒化ケイ素基板
3日前
東ソー株式会社
焼結体の製造方法
4か月前
続きを見る
他の特許を見る