TOP
|
特許
|
意匠
|
商標
特許ウォッチ
Twitter
他の特許を見る
公開番号
2025112352
公報種別
公開特許公報(A)
公開日
2025-08-01
出願番号
2024006517
出願日
2024-01-19
発明の名称
エネルギー貯蔵システム
出願人
JFEエンジニアリング株式会社
代理人
個人
主分類
F17C
6/00 20060101AFI20250725BHJP(ガスまたは液体の貯蔵または分配)
要約
【課題】空気を液化して電力に変換可能なエネルギーとして貯蔵するシステムにおいて、系内のエネルギーで発電効率を効率的に高めるとともに、排ガスからの二酸化炭素の回収を容易にするエネルギー貯蔵システムを提供する。
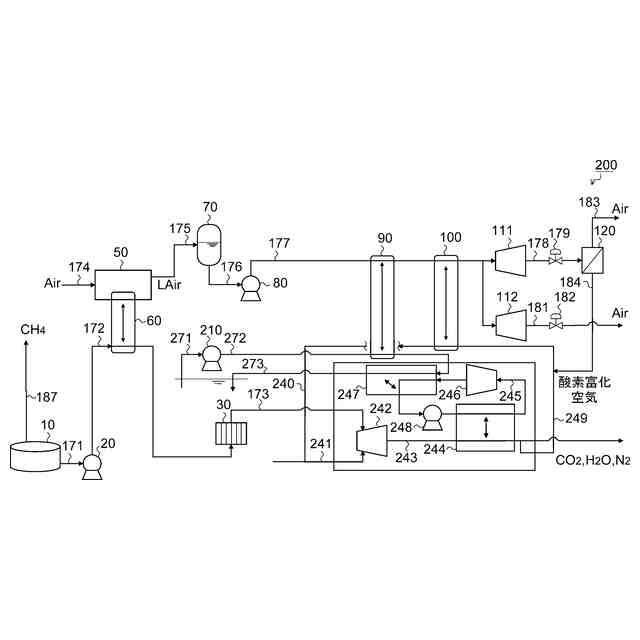
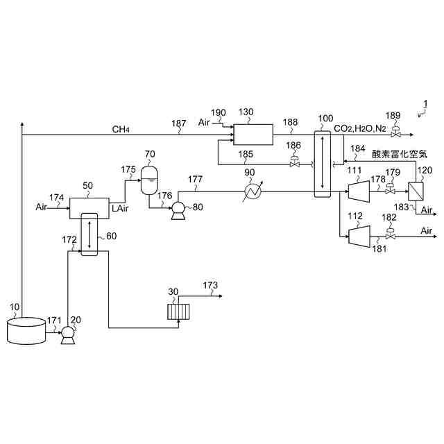
【解決手段】本発明に係るエネルギー貯蔵システム1は、LNGの蒸発ガスを燃料として発電する発電装置130と、空気を液化する空気液化装置50と、液化空気加熱用熱交換器90、100と、酸素富化用空気膨張タービン111と、酸素富化用空気膨張タービン出口の空気を透過させて酸素濃度が濃縮された酸素富化空気を取り出す酸素富化装置120と、発電装置130の排ガスを排出する排ガス排出ライン188を流れる排ガスの一部を分流させ、発電装置の入口に還流させる排ガス循環ライン185と、酸素富化装置120によって生成された酸素富化空気を排ガス循環ライン185に供給する酸素富化空気供給ライン184と、を有する。
【選択図】 図1
特許請求の範囲
【請求項1】
LNGを貯留するLNG貯槽と、
前記LNG貯槽に貯留されているLNGを昇圧して払い出すLNGポンプと、
前記LNGポンプによって払い出されたLNGを流すLNG払出ラインと、
前記LNG貯槽において発生したLNGの蒸発ガスを燃料として発電する発電装置及び/又は前記LNGポンプによって払い出されたLNGの気化ガスを燃料として発電する発電装置と、
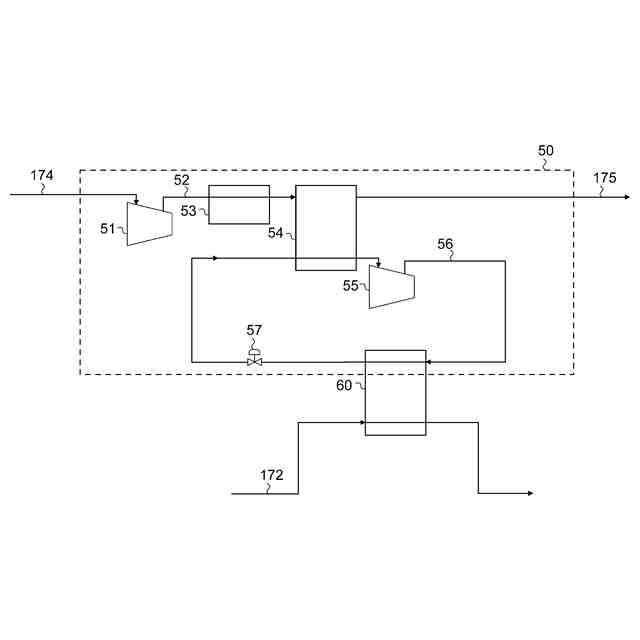
前記LNGポンプによって払い出されたLNGの冷熱を利用して空気を液化する空気液化装置と、
前記空気液化装置によって液化された空気を貯留する液化空気貯槽と、
前記液化空気貯槽に貯留されている液化空気を昇圧して払い出す液化空気ポンプと、
前記液化空気ポンプによって払い出された液化空気を流す液化空気ポンプ吐出ラインと、
前記液化空気ポンプ吐出ラインを流れる液化空気を加熱する液化空気加熱用熱交換器と、
前記液化空気ポンプ吐出ラインにおいて前記液化空気加熱用熱交換器よりも後流に配設され、前記液化空気ポンプ吐出ラインを流れる気体の空気を膨張させてタービンの回転力によって発電する酸素富化用空気膨張タービンと、
前記酸素富化用空気膨張タービンの出口に配設され、前記酸素富化用空気膨張タービン出口の空気を透過させて酸素濃度が濃縮された酸素富化空気を取り出す酸素富化装置と、
前記発電装置の排ガスを排出する排ガス排出ラインと、
前記排ガス排出ラインを流れる排ガスの一部を分流させ、前記発電装置の入口に還流させる排ガス循環ラインと、
前記酸素富化装置によって生成された酸素富化空気を前記排ガス循環ラインに供給する酸素富化空気供給ラインと、を有することを特徴とするエネルギー貯蔵システム。
続きを表示(約 380 文字)
【請求項2】
前記液化空気ポンプ吐出ラインにおいて前記液化空気加熱用熱交換器よりも後流に配設され、前記液化空気ポンプ吐出ラインを流れる気体の空気を膨張させてタービンの回転力によって発電するものであって、出口空気の圧力を大気圧まで低下させる発電用膨張タービンをさらに備えたことを特徴とする請求項1に記載のエネルギー貯蔵システム。
【請求項3】
前記液化空気加熱用熱交換器は、
常温の水及び又は海水との熱交換によって前記液化空気ポンプ吐出ラインを流れる液化空気を蒸発させる液化空気蒸発用熱交換器と、
前記排ガス循環ラインを流れて前記発電装置の入口に還流する排ガスとの熱交換によって、前記液化空気蒸発用熱交換器によって蒸発した空気を加温する空気加温用熱交換器と、を有することを特徴とする請求項1又は2に記載のエネルギー貯蔵システム。
発明の詳細な説明
【技術分野】
【0001】
本発明は、液化空気を媒体としてエネルギーを貯蔵するエネルギー貯蔵システムに関し、酸素富化空気を生成し活用することができるエネルギー貯蔵システムに関する。
続きを表示(約 2,100 文字)
【背景技術】
【0002】
再生可能エネルギーの普及に伴い、エネルギー貯蔵システムのニーズが高まっており、液化空気によるエネルギー貯蔵もその方法の一つとして提案されている。
しかしながら、空気を液化する際の圧縮動力が極めて大きいために充放電効率が低いというデメリットが存在していた。
【0003】
この点、特許文献1には、空気をLNG及び液体水素(LH
2
)で段階的に冷やすことで低圧で液化し、冷熱が使われたLNG及びLH
2
を発電設備の燃料に、液化空気を酸化剤として発電設備に供給する技術が開示されている。
【先行技術文献】
【特許文献】
【0004】
特開2020-8132号公報
【発明の概要】
【発明が解決しようとする課題】
【0005】
しかしながら、特許文献1の技術は入手難度の高いLH
2
を前提としているため設備の実現性が乏しく、仮に入手できたとしてもLH
2
の高いコストが設備運用コストに反映されるため、事業性を損なう可能性が高い。
また、液化空気を膨張タービンで膨張させて発電させる前に水や空気で気化させるとの記載があるが、水や空気では常温程度の温度にしかならず、膨張タービンによる発電効率が低くなってしまう。
【0006】
さらに、LH
2
をLNGと混焼させたとしても、排ガスの二酸化炭素が大気に放散されてしまう。分離回収を行う場合でも、排ガスの低濃度二酸化炭素を回収することには膨大なエネルギーを必要とするため、やはり事業性を損なう可能性が高い。
【0007】
本発明はかかる課題を解決するためになされたものであり、空気を液化して電力に変換可能なエネルギーとして貯蔵するシステムにおいて、系内のエネルギーで発電効率を効率的に高めるとともに、排ガスからの二酸化炭素の回収を容易にするエネルギー貯蔵システムを提供することを目的としている。
【課題を解決するための手段】
【0008】
(1)本発明に係るエネルギー貯蔵システムは、LNGを貯留するLNG貯槽と、
前記LNG貯槽に貯留されているLNGを昇圧して払い出すLNGポンプと、
前記LNGポンプによって払い出されたLNGを流すLNG払出ラインと、
前記LNG貯槽において発生したLNGの蒸発ガスを燃料として発電する発電装置及び/又は前記LNGポンプによって払い出されたLNGの気化ガスを燃料として発電する発電装置と、
前記LNGポンプによって払い出されたLNGの冷熱を利用して空気を液化する空気液化装置と、
前記空気液化装置によって液化された空気を貯留する液化空気貯槽と、
前記液化空気貯槽に貯留されている液化空気を昇圧して払い出す液化空気ポンプと、
前記液化空気ポンプによって払い出された液化空気を流す液化空気ポンプ吐出ラインと、
前記液化空気ポンプ吐出ラインを流れる液化空気を加熱する液化空気加熱用熱交換器と、
前記液化空気ポンプ吐出ラインにおいて前記液化空気加熱用熱交換器よりも後流に配設され、前記液化空気ポンプ吐出ラインを流れる気体の空気を膨張させてタービンの回転力によって発電する酸素富化用空気膨張タービンと、
前記酸素富化用空気膨張タービンの出口に配設され、前記酸素富化用空気膨張タービン出口の空気を透過させて酸素濃度が濃縮された酸素富化空気を取り出す酸素富化装置と、
前記発電装置の排ガスを排出する排ガス排出ラインと、
前記排ガス排出ラインを流れる排ガスの一部を分流させ、前記発電装置の入口に還流させる排ガス循環ラインと、
前記酸素富化装置によって生成された酸素富化空気を前記排ガス循環ラインに供給する酸素富化空気供給ラインと、を有することを特徴とするものである。
【0009】
(2)また、上記(1)に記載のものにおいて、前記液化空気ポンプ吐出ラインにおいて前記液化空気加熱用熱交換器よりも後流に配設され、前記液化空気ポンプ吐出ラインを流れる気体の空気を膨張させてタービンの回転力によって発電するものであって、出口空気の圧力を大気圧まで低下させる発電用膨張タービンをさらに備えたことを特徴とするものである。
【0010】
(3)また、上記(1)又は(2)に記載のものにおいて、前記液化空気加熱用熱交換器は、
常温の水及び又は海水との熱交換によって前記液化空気ポンプ吐出ラインを流れる液化空気を蒸発させる液化空気蒸発用熱交換器と、
前記排ガス循環ラインを流れて前記発電装置の入口に還流する排ガスとの熱交換によって、前記液化空気蒸発用熱交換器によって蒸発した空気を加温する空気加温用熱交換器と、を有することを特徴とするものである。
【発明の効果】
(【0011】以降は省略されています)
この特許をJ-PlatPat(特許庁公式サイト)で参照する
関連特許
株式会社石井鐵工所
低温タンクの揚液装置
3か月前
株式会社石井鐵工所
低温タンクの揚液装置
5か月前
川崎重工業株式会社
竪型タンク
4か月前
有限会社 両国設備
液体容器の加熱器
10か月前
川崎重工業株式会社
三重殻タンク
7か月前
川崎重工業株式会社
三重殻タンク
7か月前
川崎重工業株式会社
極低温流体用配管設備
今日
株式会社神戸製鋼所
ガス供給システム
10か月前
大日本印刷株式会社
ガス充填容器
8か月前
川崎重工業株式会社
液化水素貯蔵タンク
8か月前
川崎重工業株式会社
液化水素貯蔵タンク
8か月前
川崎重工業株式会社
液化ガス貯蔵タンク
8か月前
トヨタ自動車株式会社
高圧タンク
10か月前
株式会社三井E&S
燃料供給装置
11か月前
トヨタ自動車株式会社
水素タンク
3か月前
岩谷産業株式会社
燃料ガス充填設備
9日前
トヨタ自動車株式会社
水素充填装置
4か月前
株式会社タツノ
充填ノズル
1か月前
帝人株式会社
繊維補強圧力容器及びその製造方法
2か月前
那須電機鉄工株式会社
水素吸蔵合金タンク
8か月前
株式会社タツノ
充填ノズル
10か月前
株式会社タツノ
充填ノズル
19日前
株式会社神戸製鋼所
水素吸蔵合金容器
2か月前
豊田合成株式会社
圧力容器
6か月前
川崎重工業株式会社
低温流体の移送システム
4か月前
トヨタ自動車株式会社
水素消費システム
4か月前
清水建設株式会社
水素貯蔵供給システム
7か月前
川崎重工業株式会社
再液化装置
8か月前
トヨタ自動車株式会社
水素消費システム
3か月前
トヨタ自動車株式会社
ガス供給システム
11か月前
トヨタ自動車株式会社
タンクモジュール
6か月前
川崎重工業株式会社
三重殻タンクのパージ方法
7か月前
オリオン機械株式会社
燃料供給装置および発電システム
4か月前
トヨタ自動車株式会社
水素タンクシステム
4か月前
オリオン機械株式会社
燃料供給装置および発電システム
5か月前
トヨタ自動車株式会社
カートリッジタンク
4か月前
続きを見る
他の特許を見る