TOP
|
特許
|
意匠
|
商標
特許ウォッチ
Twitter
他の特許を見る
10個以上の画像は省略されています。
公開番号
2025140513
公報種別
公開特許公報(A)
公開日
2025-09-29
出願番号
2024039956
出願日
2024-03-14
発明の名称
燃料ガス充填設備
出願人
岩谷産業株式会社
代理人
個人
,
個人
,
個人
主分類
F17C
5/06 20060101AFI20250919BHJP(ガスまたは液体の貯蔵または分配)
要約
【課題】離れているうえに高さも異なる充填先に充填ノズルを接続しやすくするとともに安全性を確保する。
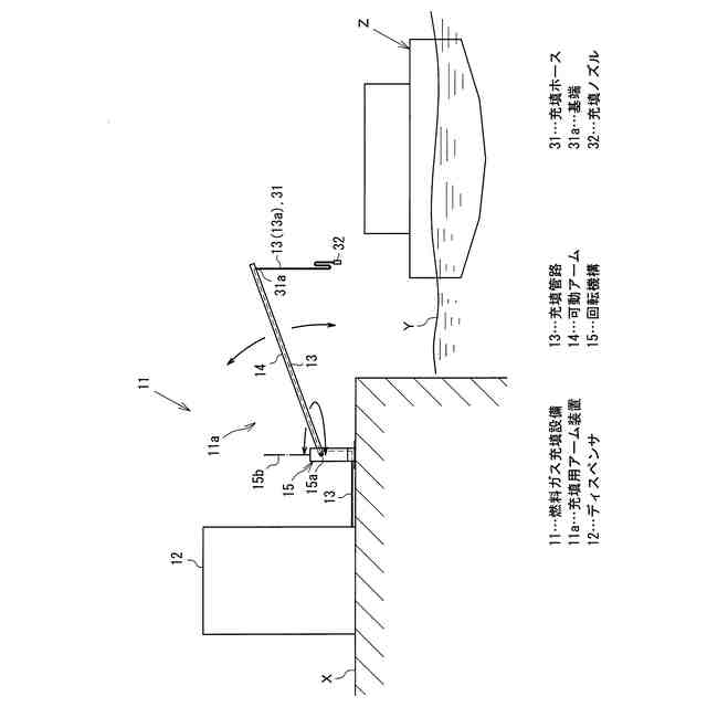
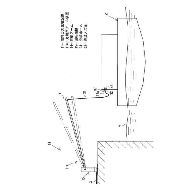
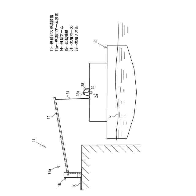
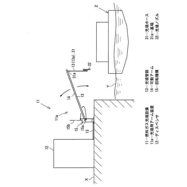
【解決手段】燃料ガス充填設備11は、ディスペンサ12から延びて燃料ガスを送り出す充填管路13に、その充填管路13の長手方向の中間部分を移動する可動アーム14を備える。可動アーム14は、その可動アーム14を充填先から退避した退避位置と充填先に向けて差し出した充填位置に移動する回転機構15で支持する。そして、充填管路13における可動アーム14よりも先の部分を柔軟な充填ホース31で構成し、充填ホース31を可動アーム14の先端部から吊下げるとともに、充填ホース31の先端の充填ノズル32を可動アーム14の先端部に対して昇降させる昇降手段を備える。
【選択図】図1
特許請求の範囲
【請求項1】
燃料ガスを充填先へ充填するディスペンサを備えた燃料ガス充填設備であって、
前記ディスペンサから延びて燃料ガスを送り出す充填管路に、前記充填管路の長手方向の中間部分を移動する可動アームを備え、
前記可動アームが、前記可動アームを充填先から退避した退避位置と充填先に向けて差し出した充填位置に移動する回転機構で支持され、
前記充填管路における前記可動アームよりも先の部分が柔軟な充填ホースで構成されるとともに、前記充填ホースを前記可動アームの先端部から吊り下げ、
前記充填ホースの先端の充填ノズルを前記可動アームの先端部に対して昇降させる昇降手段が備えられた
燃料ガス充填設備。
続きを表示(約 550 文字)
【請求項2】
前記昇降手段が、前記充填ノズルに係止されたワイヤの巻き上げ機構で構成された
請求項1に記載の燃料ガス充填設備。
【請求項3】
前記可動アームにおける前記充填ホースの基端位置が、前記可動アームにおける前記昇降手段の作用点よりも基端側に寄っている
請求項1または請求項2に記載の燃料ガス充填設備。
【請求項4】
前記回転機構が、前記可動アームを水平方向と垂直方向に動作させるものである
請求項または請求項2に記載の燃料ガス充填設備。
【請求項5】
前記退避位置にある前記可動アームの先端部に対応する位置に、前記充填ホースと前記充填ノズルを収容する収納ボックスが設置された
請求項1または請求項2に記載の燃料ガス充填設備。
【請求項6】
前記収納ボックスの筐体に、前記可動アームから延びる前記充填ホースを導入する導入口が形成され、
前記導入口の位置が上下方向の中間位置よりも下方である
請求項5に記載の燃料ガス充填設備。
【請求項7】
請求項1または請求項2に記載の燃料ガス充填設備に用いられる前記可動アームと前記回転機構を備えた
充填用アーム装置。
発明の詳細な説明
【技術分野】
【0001】
この発明は、たとえば水素ガスなどのような燃料ガスを船舶や重機、建機、潜水艦等に搭載の燃料タンクに充填するための設備に関するものである。
続きを表示(約 1,300 文字)
【背景技術】
【0002】
水素ガスの充填設備としてオフサイト型、オンサイト型、移動式とあるが、いずれもプレクーラを備えたディスペンサを通して適正に充填がなされるように構成されている。ディスペンサは、曲がることができる柔軟な充填ホースを有しており、充填ホースの先端の充填ノズルが燃料タンクの充填口に接続されて充填が行われる。充填ノズルを持って接続する充填のための動作自体は何ら特別なものではないが、高圧のガスを扱う点や充填ノズルと充填ホースが重い点から、安全確保のためには扱いに注意が必要である。
【0003】
このため、たとえば下記特許文献1のように充填ノズルを保持するアーム機構を備えたものや、下記特許文献2のように充填ホースをらせん状に保持して充填ノズルを移動可能に吊り下げるものが提案されている。これら操作性を向上するためのものとは異なり、下記特許文献3のようにガス充填装置の設置に際して必要な面積を小さくするために、充填ホースの基部側部分を支持して充填作業位置に延ばすホース支持部が筐体の上部に備えられたディスペンサもある。
【0004】
一方、船舶等のように離れた位置であって、置かれた高さにも違いがある対象に燃料ガスを充填するために特別に考慮された充填設備はこれまでにない。
【0005】
船舶に対して燃料ガスを充填するシステムについて、下記特許文献4に開示がある。このシステムは、埠頭にガス蓄圧器を設置し、浮き桟橋に燃料ガス充填装置、すなわちディスペンサを設置して、燃料ガス充填システムから延びる充填ホースを船舶に搭載の燃料タンクの充填口に接続するように構成されている。充填ホースが船舶に対して埠頭から延ばされるのではなく、浮き桟橋から延ばされるので、充填ホースの長さを短くできるというものである。
【0006】
しかし、このシステムの場合でも、充填ノズルの充填口に対する接続は一人ではできない。つまり、水素ステーションでの自動車への充填作業とは異なり、充填ホースの先端の充填ノズルを、距離と高さに隔たりがある場所にいる別の作業員との間で授受する作業が必要である。
【0007】
だが、充填ノズルと充填ホースは重いので、充填ノズルを離れたところに安全に移動させることは容易ではない。そのうえ、他所から横に延ばした充填ホースは、船舶の甲板上で這うことになるので、安全面でも留意が必要であった。
【先行技術文献】
【特許文献】
【0008】
特開2004-19872号公報
特開2016-75372号公報
特開2022-62863号公報
特開2023-148563号公報
【発明の概要】
【発明が解決しようとする課題】
【0009】
この発明は、離れているうえに高さも異なる充填先に接続しやすくするとともに安全性を確保することを主たる課題とする。
【課題を解決するための手段】
【0010】
そのために、この発明は下記の燃料ガス充填設備を提供する。
(【0011】以降は省略されています)
この特許をJ-PlatPat(特許庁公式サイト)で参照する
関連特許
岩谷産業株式会社
炎観賞装置
1か月前
岩谷産業株式会社
燃料ガス充填設備
2日前
岩谷産業株式会社
重水素の製造設備
4か月前
岩谷産業株式会社
ガス漏洩検知システム
2日前
岩谷産業株式会社
銅触媒による立体特異的シアノ化反応
14日前
三菱重工業株式会社
水素供給システムおよび方法
2日前
岩谷産業株式会社
管状細胞構造体の凍結保存方法、凍結保存具および凍結体
2日前
岩谷産業株式会社
空気分離装置、ならびに、液化酸素および液化窒素の製造方法
1か月前
国立大学法人大阪大学
メタネーションのための触媒およびメタンを製造する方法
5か月前
株式会社石井鐵工所
低温タンクの揚液装置
5か月前
株式会社石井鐵工所
低温タンクの揚液装置
3か月前
川崎重工業株式会社
竪型タンク
4か月前
川崎重工業株式会社
三重殻タンク
6か月前
川崎重工業株式会社
三重殻タンク
6か月前
トヨタ自動車株式会社
水素タンク
3か月前
川崎重工業株式会社
液化水素貯蔵タンク
8か月前
川崎重工業株式会社
液化水素貯蔵タンク
8か月前
川崎重工業株式会社
液化ガス貯蔵タンク
8か月前
岩谷産業株式会社
燃料ガス充填設備
2日前
帝人株式会社
繊維補強圧力容器及びその製造方法
1か月前
株式会社タツノ
充填ノズル
12日前
那須電機鉄工株式会社
水素吸蔵合金タンク
8か月前
株式会社タツノ
充填ノズル
1か月前
トヨタ自動車株式会社
水素充填装置
4か月前
川崎重工業株式会社
低温流体の移送システム
4か月前
株式会社神戸製鋼所
水素吸蔵合金容器
2か月前
豊田合成株式会社
圧力容器
5か月前
清水建設株式会社
水素貯蔵供給システム
7か月前
トヨタ自動車株式会社
水素消費システム
3か月前
トヨタ自動車株式会社
水素消費システム
3か月前
トヨタ自動車株式会社
タンクモジュール
5か月前
川崎重工業株式会社
三重殻タンクのパージ方法
6か月前
トヨタ自動車株式会社
水素タンクシステム
3か月前
オリオン機械株式会社
燃料供給装置および発電システム
3か月前
オリオン機械株式会社
燃料供給装置および発電システム
5か月前
トヨタ自動車株式会社
カートリッジタンク
4か月前
続きを見る
他の特許を見る