TOP
|
特許
|
意匠
|
商標
特許ウォッチ
Twitter
他の特許を見る
10個以上の画像は省略されています。
公開番号
2025135673
公報種別
公開特許公報(A)
公開日
2025-09-19
出願番号
2024033554
出願日
2024-03-06
発明の名称
充填ノズル
出願人
株式会社タツノ
代理人
弁理士法人高橋特許事務所
主分類
F17C
13/04 20060101AFI20250911BHJP(ガスまたは液体の貯蔵または分配)
要約
【課題】クラッチ先端の突起が半径方向外方に開いた状態で固定されてしまうことを防止することが出来る充填ノズルの提供。
【解決手段】本発明の充填ノズル(10)は、燃料充填系統の充填ホースの先端に設けられ、充填ノズルと車両用充填口(20:レセプタクル)とを連結状態を維持するクラッチ機構(12)はレセプタクル側の部材と係合するクラッチ(4)を備え、クラッチのノズル長手方向中央部或いはその近傍に弾性体(14:例えばスプリング)が配置され、弾性体(14)はクラッチをノズルの半径方向内方に付勢している。或いは、クラッチのディスペンサー側端部が管継手本体(1)と係合している係合部には、断面が概略U字状で全体がリング状の弾性体スペーサ(15)が嵌合され、弾性体スペーサ(15)によりクラッチの前記端部以外の部分がノズルの半径方向内方に付勢される。
【選択図】図7
特許請求の範囲
【請求項1】
水素燃料を貯える貯蔵タンクから車両に搭載されている車載用水素充填タンクに水素を充填する燃料充填系統の充填ホースの先端に設けられ、レセプタクルに連結される管継手本体を有し、
充填ノズルの管継手本体の内側に管継手内流路が形成され、管継手内流路には一端に弁体を有するロッドが摺動自在に配設され且つ弁体が座着する弁座が形成され、弁体を弁座に付勢する弾性材が配設されており、
充填ノズルと車両用充填口とを連結状態を維持するクラッチ機構を備えており、当該クラッチ機構はレセプタクル側の部材と係合するクラッチを備え、
クラッチはノズル長手方向に延在しており、クラッチのノズル長手方向中央部或いはその近傍に弾性体が配置されており、当該弾性体はクラッチをノズルの半径方向内方に付勢していることを特徴とする充填ノズル。
続きを表示(約 1,300 文字)
【請求項2】
水素燃料を貯える貯蔵タンクから車両に搭載されている車載用水素充填タンクに水素を充填する燃料充填系統の充填ホースの先端に設けられ、レセプタクルに連結される管継手本体を有し、
充填ノズルの管継手本体の内側に管継手内流路が形成され、管継手内流路には一端に弁体を有するロッドが摺動自在に配設され且つ弁体が座着する弁座が形成され、弁体を弁座に付勢する弾性材が配設されており、
充填ノズルと車両用充填口とを連結状態を維持するクラッチ機構を備えており、当該クラッチ機構はレセプタクル側の部材と係合するクラッチを備え、
クラッチはノズル長手方向に延在しており、クラッチのレセプタクルから離隔する側の端部が管継手本体と係合している係合部には、断面が概略U字状で全体がリング状の弾性体スペーサが、当該弾性体スペーサによりクラッチの前記端部以外の部分がノズルの半径方向内方に付勢される様に嵌合しており、
前記弾性体スペーサの形状は、クラッチの前記端部(クラッチ4のレセプタクル20から離隔する側の端部)が管継手本体と係合している係合部に前記端部が係合している際における空隙部或いはその一部と相補的な形状であることを特徴とする充填ノズル。
【請求項3】
前記係合部は、管継手本体に形成されてクラッチのディスペンサー側端部を収容する円環状凹部で構成されており、当該円環状凹部と管継手本体の外部とを連通する排水路を設けている請求項2の充填ノズル。
【請求項4】
前記弾性体スペーサには貫通孔が形成されており、当該貫通孔は前記排水路に連通している請求項3の充填ノズル。
【請求項5】
クラッチの端部が管継手本体と係合している前記係合部に前記端部が係合している際における空隙部或と相補的な形状の前記弾性体スペーサの半径方向外方には、レセプタクル側に延長されている延長部が構成されており、当該延長部の半径方向寸法は、クラッチのレセプタクル側部分の半径方向寸法に対して、同一であるか或いは小さく設定されている請求項2~4の何れか1項の充填ノズル。
【請求項6】
クラッチの前記端部が管継手本体と係合している係合部に前記端部係合している際における空隙部或の一部と相補的な形状の前記弾性体スペーサは、前記空隙部の半径方向外方の領域と相補的な形状に構成されている請求項2~4の何れか1項の充填ノズル。
【請求項7】
クラッチの前記端部が管継手本体と係合している係合部に前記端部が係合している際における空隙部は、クラッチの端部の半径方向内方端面よりも半径方向内方の領域には弾性体スペーサは充填されておらず空隙部を構成しており、当該空隙部と管継手本体の排水路が連通しており、
前記弾性体スペーサには貫通孔は形成されていない請求項6の充填ノズル。
【請求項8】
請求項2の充填ノズルにおける弾性体スペーサの製造方法において、
クラッチのレセプタクルから離隔する側の端部が管継手本体と係合している係合部に溶融したゴム或いはシリコンを流し込み、当該ゴム或いはシリコンが硬化した後に取り出す工程を有することを特徴とする製造方法。
発明の詳細な説明
【技術分野】
【0001】
本発明は、例えば水素ガスの様な気体燃料を充填するための充填ノズルに関する。
続きを表示(約 2,900 文字)
【背景技術】
【0002】
その様な充填ノズルについて、シール構造の劣化を防止して、水素ガス漏洩の可能性を低減するため、出願人は特許文献1に開示されている技術を提案した。
当該技術は有用であるが、充填ノズルとレセプタクルが結合した状態で、充填ノズルのクラッチ先端に形成された半径方向外方及び内方に突出した(半径方向寸法が大きい)突起が凍結等で半径方向内方に移動することが出来なくなり、半径方向外方に開いた状態で固定されてしまうと、充填ノズルをレセプタクルから結合解除すること(外すこと)が出来なくなるという問題が存在した。
【先行技術文献】
【特許文献】
【0003】
特許第6516207号公報
【発明の概要】
【発明が解決しようとする課題】
【0004】
本発明は上述した従来技術の問題点に鑑みて提案されたものであり、クラッチ先端の突起が半径方向外方に開いた状態で固定されてしまうことを防止することが出来る充填ノズルの提供を目的としている。
【課題を解決するための手段】
【0005】
本発明の充填ノズル(10)は、
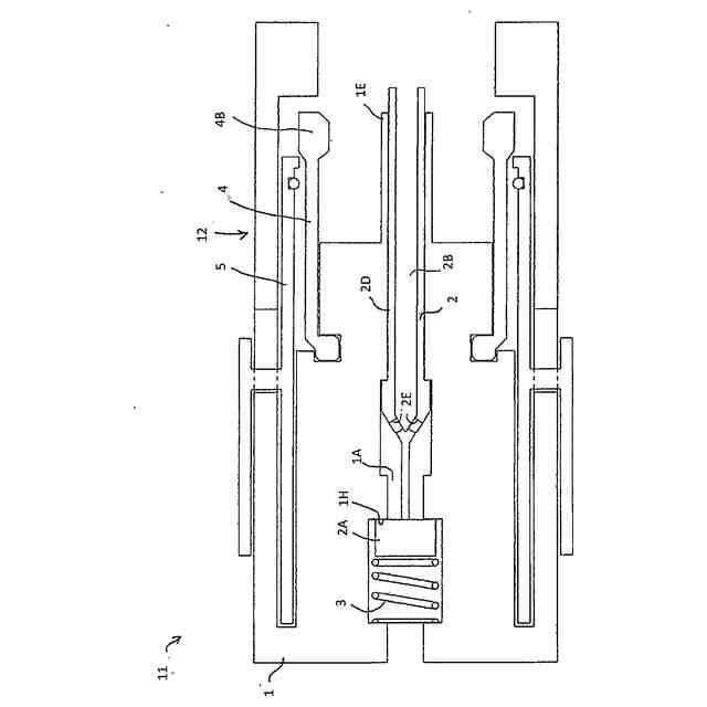
水素燃料を貯える貯蔵タンクから車両に搭載されている車載用水素充填タンクに水素を充填する燃料充填系統の充填ホースの先端に設けられ、レセプタクル(20)に連結される管継手本体(1)を有し、
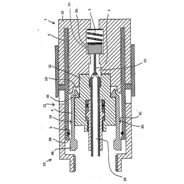
充填ノズル(10)の管継手本体(1)の内側に管継手内流路(1A)が形成され、管継手内流路(1A)には一端に弁体(2A)を有するロッド(2)が摺動自在に配設され且つ弁体(2A)が座着する弁座(1H)が形成され、弁体(2A)を弁座(1H)に付勢する弾性材(3)が配設されており、
充填ノズル(10)と車両用充填口(20:レセプタクル)とを連結状態を維持するクラッチ機構(12)を備えており、当該クラッチ機構(12)はレセプタクル(20)側の部材と係合するクラッチ(4)を備え、
クラッチ(4)はノズル長手方向に延在しており、クラッチ(4)のノズル長手方向中央部或いはその近傍に弾性体(14:例えばスプリング)が配置されており、当該弾性体(14)はクラッチ(4)をノズル(10)の半径方向内方に付勢していることを特徴としている。
【0006】
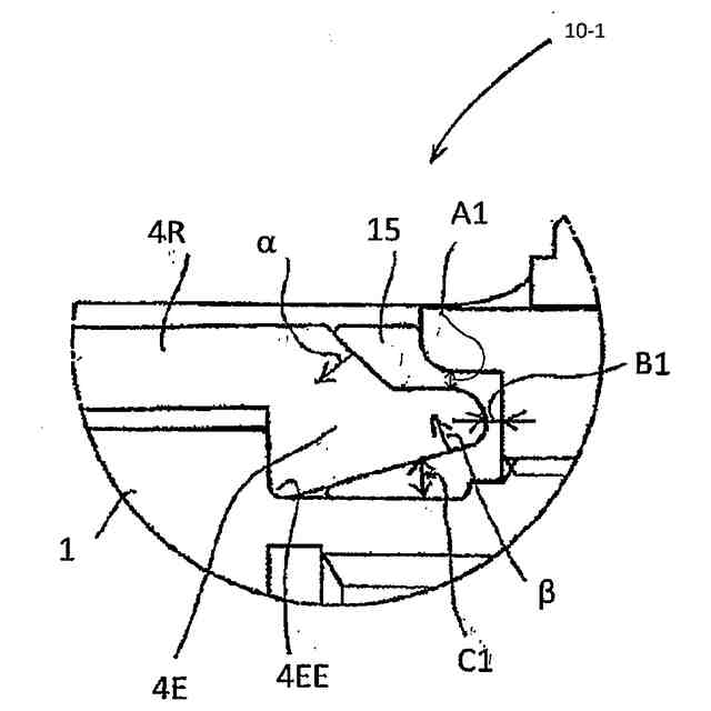
また本発明の充填ノズル(10-1)は、
水素燃料を貯える貯蔵タンクから車両に搭載されている車載用水素充填タンクに水素を充填する燃料充填系統の充填ホースの先端に設けられ、レセプタクル(20)に連結される管継手本体(1)を有し、
充填ノズル(10-1)の管継手本体(1)の内側に管継手内流路(1A)が形成され、管継手内流路(1A)には一端に弁体(2A)を有するロッド(2)が摺動自在に配設され且つ弁体(2A)が座着する弁座(1H)が形成され、弁体(2A)を弁座(1H)に付勢する弾性材(3)が配設されており、
充填ノズル(10)と車両用充填口(20:レセプタクル)とを連結状態を維持するクラッチ機構(12)を備えており、当該クラッチ機構(12)はレセプタクル(20)側の部材と係合するクラッチ(4)を備え、
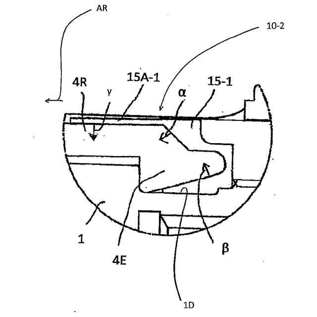
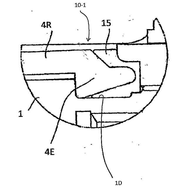
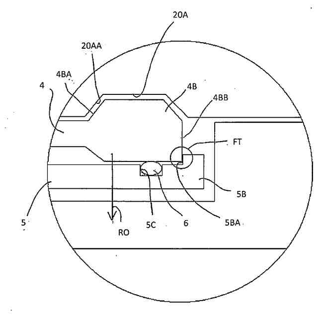
クラッチ(4)はノズル長手方向に延在しており、クラッチ(4)のレセプタクル(20)から離隔する側の端部が管継手本体(1)と係合している係合部には、断面が概略U字状で全体がリング状の弾性体スペーサ(15、15-1、15-2、15-3)が、当該弾性体スペーサ(15、15-1、15-2、15-3)によりクラッチ(4)の前記端部以外の部分(4R)がノズル(10)の半径方向内方に付勢される様に嵌合しており、
前記弾性体スペーサ(15、15-1、15-2、15-3)の形状は、クラッチ(4)の前記端部(クラッチ4のレセプタクル20から離隔する側の端部)が管継手本体(1)と係合している係合部に前記端部が係合している際における空隙部或いはその一部と概略相補的な形状であることを特徴としている。
【0007】
本発明において、前記係合部は、管継手本体(1)に形成されてクラッチ(4)のディスペンサー側端部(4E:クラッチ基部、クラッチ端部)を収容する(概略)円環状凹部(1D)で構成されており、当該円環状凹部(1D)と管継手本体(1)の外部とを連通する排水路(7W)を設けることが出来る。
そして、前記弾性体スペーサ(15-1、15-2)には貫通孔(15W)が形成されており、当該貫通孔(15W)は前記排水路(7W)に連通しているのが好ましい。
【0008】
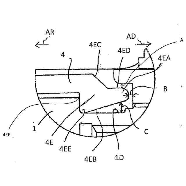
ここで、クラッチ(4)の端部(4E:クラッチ4のレセプタクル20から離隔する側の端部)が管継手本体(1)と係合している前記係合部に前記端部(4E)が係合している際における空隙部或と概略相補的な形状の前記弾性体スペーサ(15-1、15-2)の半径方向外方には、(前記弾性体スペーサ15-1、15-2の半径方向内方に比較して)レセプタクル側(矢印AR側)に延長されている延長部(15A-1)が構成されており、当該延長部(15A-1)の半径方向寸法は、クラッチ(4)のレセプタクル側部分(クラッチ4のディスペンサー側端部以外の部分)の半径方向寸法に対して、同一であるか僅かに小さく設定されているのが好ましい。
【0009】
本発明において、クラッチ(4)の前記端部(4E:クラッチ4のレセプタクル20から離隔する側の端部)が管継手本体(1)と係合している係合部に前記端部(4E)が係合している際における空隙部或の一部と概略相補的な形状の前記弾性体スペーサ(15-3)は、前記空隙部の半径方向外方の領域(前記端部4Eの傾斜面4EC及び平坦面4EDよりも半径方向外方の領域)と概略相補的な形状に構成することが出来る。
この場合、クラッチ(4)の前記端部(4E:クラッチ4のレセプタクル20から離隔する側の端部)が管継手本体(1)と係合している係合部に前記端部(4E)が係合している際における空隙部は、クラッチ(4)の端部(4E)の半径方向内方端面(4EB)よりも半径方向内方の領域には弾性体スペーサ(15-3)は充填されておらず空隙部(1DV)を構成しており、当該空隙部(1DV)と管継手本体(1)の排水路(7W-3)が連通しており、
前記弾性体スペーサ(15-3)には貫通孔(15W)は形成されていない様に構成することが出来る。
【0010】
前記充填ノズル(請求項2~7の何れかの充填ノズル)における弾性体スペーサ(15、15-1)の製造方法において、
クラッチ(4)のレセプタクル(20)から離隔する側の端部が管継手本体(1)と係合している係合部に溶融したゴム或いはシリコンを流し込み、当該ゴム或いはシリコンが硬化した後に取り出す工程を有することを特徴としている。
【発明の効果】
(【0011】以降は省略されています)
この特許をJ-PlatPat(特許庁公式サイト)で参照する
関連特許
株式会社タツノ
給油装置
1か月前
株式会社タツノ
充填ノズル
21日前
株式会社タツノ
給油認証システム
7日前
株式会社石井鐵工所
低温タンクの揚液装置
3か月前
株式会社石井鐵工所
低温タンクの揚液装置
5か月前
川崎重工業株式会社
竪型タンク
4か月前
川崎重工業株式会社
三重殻タンク
7か月前
川崎重工業株式会社
三重殻タンク
7か月前
川崎重工業株式会社
極低温流体用配管設備
2日前
株式会社神戸製鋼所
ガス供給システム
10か月前
川崎重工業株式会社
液化水素貯蔵タンク
8か月前
川崎重工業株式会社
液化水素貯蔵タンク
8か月前
川崎重工業株式会社
液化ガス貯蔵タンク
8か月前
大日本印刷株式会社
ガス充填容器
8か月前
トヨタ自動車株式会社
水素タンク
3か月前
那須電機鉄工株式会社
水素吸蔵合金タンク
8か月前
帝人株式会社
繊維補強圧力容器及びその製造方法
2か月前
岩谷産業株式会社
燃料ガス充填設備
11日前
株式会社タツノ
充填ノズル
1か月前
トヨタ自動車株式会社
水素充填装置
4か月前
株式会社タツノ
充填ノズル
21日前
川崎重工業株式会社
低温流体の移送システム
4か月前
株式会社神戸製鋼所
水素吸蔵合金容器
2か月前
豊田合成株式会社
圧力容器
6か月前
トヨタ自動車株式会社
水素消費システム
4か月前
トヨタ自動車株式会社
水素消費システム
3か月前
トヨタ自動車株式会社
タンクモジュール
6か月前
川崎重工業株式会社
三重殻タンクのパージ方法
7か月前
清水建設株式会社
水素貯蔵供給システム
7か月前
川崎重工業株式会社
再液化装置
8か月前
トヨタ自動車株式会社
水素タンクシステム
4か月前
オリオン機械株式会社
燃料供給装置および発電システム
5か月前
トヨタ自動車株式会社
カートリッジタンク
5か月前
オリオン機械株式会社
燃料供給装置および発電システム
4か月前
DOWAエコシステム株式会社
容器の廃棄処理方法
8か月前
JFEエンジニアリング株式会社
エネルギー貯蔵システム
2か月前
続きを見る
他の特許を見る