TOP
|
特許
|
意匠
|
商標
特許ウォッチ
Twitter
他の特許を見る
10個以上の画像は省略されています。
公開番号
2025091980
公報種別
公開特許公報(A)
公開日
2025-06-19
出願番号
2023207572
出願日
2023-12-08
発明の名称
水素消費システム
出願人
トヨタ自動車株式会社
代理人
個人
,
個人
,
個人
主分類
F17C
13/00 20060101AFI20250612BHJP(ガスまたは液体の貯蔵または分配)
要約
【課題】複数の水素タンクが装着された水素消費システムにおいて、より簡易に水素タンクを使い分けることを可能とする。
【解決手段】複数の着脱可能な水素タンク、水素タンクの水素が供給されて水素を消費する燃料電池、水素タンクと燃料電池とを結び水素が流れる供給配管、及び、制御装置を有する水素消費システムであって、水素タンクは供給配管との接続部分に開閉弁を有し、供給配管は水素タンクとの接続部分にプッシュロッドを具備し、制御装置は、複数の水素タンクから水素を供給する水素タンクと水素を供給しない水素タンクとを選別する判定をし、水素を供給する水素タンクに対してはプッシュロッドを開閉弁に向けて移動させて開弁するとともに供給配管に水素を供給できる接続位置とし、水素を供給しない水素タンクに対してはプッシュロッドを移動させ、閉弁状態であるが開閉弁と供給配管とは接続した状態で気密を維持する待機位置とする。
【選択図】図7
特許請求の範囲
【請求項1】
複数の着脱可能な水素タンク、前記水素タンクの水素が供給されて水素を消費する燃料電池、前記水素タンクと前記燃料電池とを結び水素が流れる供給配管、及び、制御装置を有する水素消費システムであって、
前記水素タンクは前記供給配管との接続部分に開閉弁を有し、
前記供給配管は前記水素タンクとの接続部分にプッシュロッドを具備し、
前記制御装置は、
前記複数の水素タンクから水素を供給する水素タンクと水素を供給しない水素タンクとを選別する判定をし、
前記水素を供給する水素タンクに対しては前記プッシュロッドを前記開閉弁に向けて移動させて開弁するとともに前記供給配管に水素を供給できる接続位置とし、
前記水素を供給しない水素タンクに対しては前記プッシュロッドを移動させ、閉弁状態であるが前記開閉弁と前記供給配管とは接続した状態で気密を維持する待機位置とする、
水素消費システム。
続きを表示(約 130 文字)
【請求項2】
前記制御装置は、複数の水素タンクの水素残量をセンサによって取得し、前記選別する判定の際には、前記水素残量が一番少ない水素タンクのみを接続位置となるように制御し、他の水素タンクは待機位置となるように制御する、請求項1に記載の水素消費システム。
発明の詳細な説明
【技術分野】
【0001】
本開示は供給された燃料である水素を消費するシステムに関する。
続きを表示(約 1,700 文字)
【背景技術】
【0002】
特許文献1には、水素貯蔵ユニットにおいて、複数の水素タンクをマニホールドに装着して、マニホールドを介して複数のタンクに水素充填し、且つ複数のタンクからマニホールドを介して水素供給することが開示されている。
【先行技術文献】
【特許文献】
【0003】
特開2016-157522号公報
【発明の概要】
【発明が解決しようとする課題】
【0004】
複数のタンクが同時接続されているシステムにおいて、水素を供給するタンクと水素を供給しないタンクとがある場合に、従来は任意のタンクだけで水素を供給する等の使い分けをすることができなかった。従って水素を供給しないタンクに水素が流れ込んでしまうことがある。
【0005】
本開示では上記問題を鑑み、複数の水素タンクが装着された水素消費システムにおいて、より簡易に水素タンクを使い分けることを可能とする。
【課題を解決するための手段】
【0006】
本願は、複数の着脱可能な水素タンク、水素タンクの水素が供給されて水素を消費する燃料電池、水素タンクと燃料電池とを結び水素が流れる供給配管、及び、制御装置を有する水素消費システムであって、水素タンクは供給配管との接続部分に開閉弁を有し、供給配管は水素タンクとの接続部分にプッシュロッドを具備し、制御装置は、複数の水素タンクから水素を供給する水素タンクと水素を供給しない水素タンクとを選別する判定をし、水素を供給する水素タンクに対してはプッシュロッドを開閉弁に向けて移動させて開弁するとともに供給配管に水素を供給できる接続位置とし、水素を供給しない水素タンクに対してはプッシュロッドを移動させ、閉弁状態であるが開閉弁と供給配管とは接続した状態で気密を維持する待機位置とする、水素消費システムを開示する。
【0007】
制御装置は、複数の水素タンクの水素残量をセンサによって取得し、選別する判定の際には、水素残量が一番少ない水素タンクのみを接続位置となるように制御し、他の水素タンクは待機位置となるように制御するようにしてもよい。
【発明の効果】
【0008】
本開示によれば、複数の水素タンクが装着された水素消費システムにおいて、水素を供給している水素タンクがあっても、水素を供給していない水素タンクは、高圧状態で供給配管に連通しつつも閉弁されていることで、使用されている水素タンクからの水素が流れ込むことがなく、水素タンクを使い分けることができる。
【図面の簡単な説明】
【0009】
図1は水素消費システム10の構成を表す図である。
図2は水素タンク11の構成を表す外観図である。
図3は水素タンク11の構成を表す断面図である。
図4は開閉弁15及び接続装置23を説明するための図である。
図5は制御装置50を説明する図である。
図6は開閉弁15及び接続装置23の接続を説明するための図である。
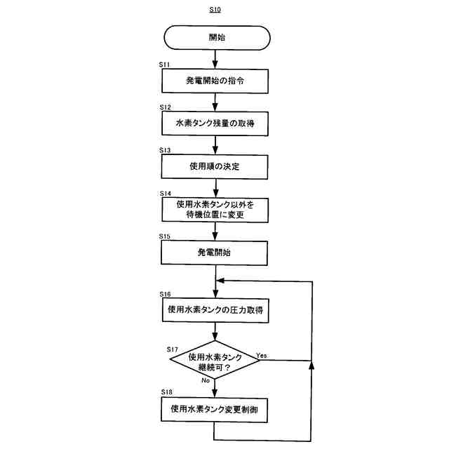
図7は水素供給制御S10の流れを説明する図である。
図8は接続位置を説明する図である。
図9は待機位置を説明する図である。
【発明を実施するための形態】
【0010】
1.水素消費システム
図1に1つの形態にかかる水素消費システム10の構成を概念的に示した。このような水素消費システム10は水素の供給源である水素タンク11、この水素の供給先である水素消費装置20、及び、制御装置50を有している。本形態の水素消費システム10は、水素タンク11に貯留された水素を水素消費装置20に含まれる燃料電池21に供給して発電するシステムである。さらに、本形態では水素タンク11は水素消費装置20に対して着脱することができるように構成されている。
以下に詳しく説明する。
(【0011】以降は省略されています)
この特許をJ-PlatPat(特許庁公式サイト)で参照する
関連特許
トヨタ自動車株式会社
電池
今日
トヨタ自動車株式会社
車両
9日前
トヨタ自動車株式会社
車両
5日前
トヨタ自動車株式会社
車両
19日前
トヨタ自動車株式会社
車両
5日前
トヨタ自動車株式会社
車両
28日前
トヨタ自動車株式会社
電池
9日前
トヨタ自動車株式会社
電池
1日前
トヨタ自動車株式会社
サーバ
13日前
トヨタ自動車株式会社
電動車
5日前
トヨタ自動車株式会社
電動車
5日前
トヨタ自動車株式会社
電動車
1日前
トヨタ自動車株式会社
電動車
5日前
トヨタ自動車株式会社
モータ
20日前
トヨタ自動車株式会社
回転子
20日前
トヨタ自動車株式会社
ケース
今日
トヨタ自動車株式会社
電解液
5日前
トヨタ自動車株式会社
電動車
19日前
トヨタ自動車株式会社
回転子
5日前
トヨタ自動車株式会社
電動車
7日前
トヨタ自動車株式会社
ロータ
7日前
トヨタ自動車株式会社
蓄電セル
5日前
トヨタ自動車株式会社
加熱装置
19日前
トヨタ自動車株式会社
蓄電装置
19日前
トヨタ自動車株式会社
蓄電装置
13日前
トヨタ自動車株式会社
冷却構造
12日前
トヨタ自動車株式会社
制御装置
5日前
トヨタ自動車株式会社
駆動装置
5日前
トヨタ自動車株式会社
蓄電装置
6日前
トヨタ自動車株式会社
蓄電装置
6日前
トヨタ自動車株式会社
育苗装置
6日前
トヨタ自動車株式会社
蓄電装置
5日前
トヨタ自動車株式会社
二次電池
9日前
トヨタ自動車株式会社
制御装置
9日前
トヨタ自動車株式会社
塗布装置
7日前
トヨタ自動車株式会社
蓄電装置
9日前
続きを見る
他の特許を見る