TOP
|
特許
|
意匠
|
商標
特許ウォッチ
Twitter
他の特許を見る
10個以上の画像は省略されています。
公開番号
2025113455
公報種別
公開特許公報(A)
公開日
2025-08-01
出願番号
2025089208,2023556202
出願日
2025-05-28,2022-09-21
発明の名称
ヒーターエレメント及び車室浄化システム
出願人
日本碍子株式会社
代理人
アクシス国際弁理士法人
主分類
B60H
3/00 20060101AFI20250725BHJP(車両一般)
要約
【課題】有効に加熱できる流路の延びる方向の領域を広くすることのできるヒーターエレメントを提供する。
【解決手段】ハニカム構造体を有し、下記(i)又は(ii)の何れかの条件を満たすヒーターエレメント:(i)第一電極が、一方の端面上に設けられ、第二電極が、ハニカム構造体の他方の端面上に設けられた電極部分Aと、当該電極部分Aに連結しており他方の端面から流路の延びる方向における所定の長さにわたって、隔壁の表面に設けられた電極部分Bとを有する;(ii)第一電極が、一方の端面上に設けられた電極部分Aと、電極部分Aに連結しており一方の端面から流路の延びる方向における所定の長さにわたって、隔壁の表面に設けられた電極部分Bとを有し、第二電極が、他方の端面上に設けられた電極部分Aと、電極部分Aに連結しており他方の端面から流路の延びる方向における所定の長さにわたって、隔壁の表面に設けられた電極部分Bとを有する。
【選択図】図1C
特許請求の範囲
【請求項1】
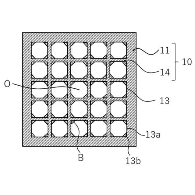
外周壁と、前記外周壁の内側に配設され、一方の端面から他方の端面まで延びる流路を形成する複数のセルを区画形成する隔壁とを有し、少なくとも前記隔壁がPTC特性を有する材料で構成されたハニカム構造体;及び
第一電極と、第二電極とで構成された一対の電極;
を備え、
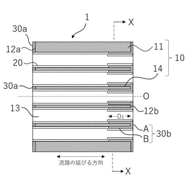
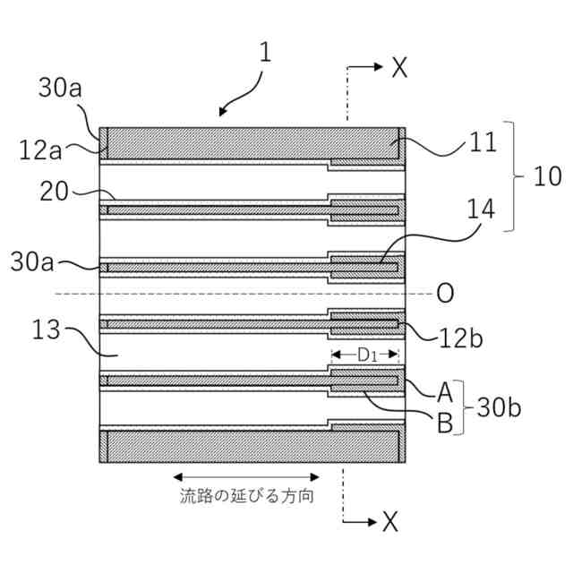
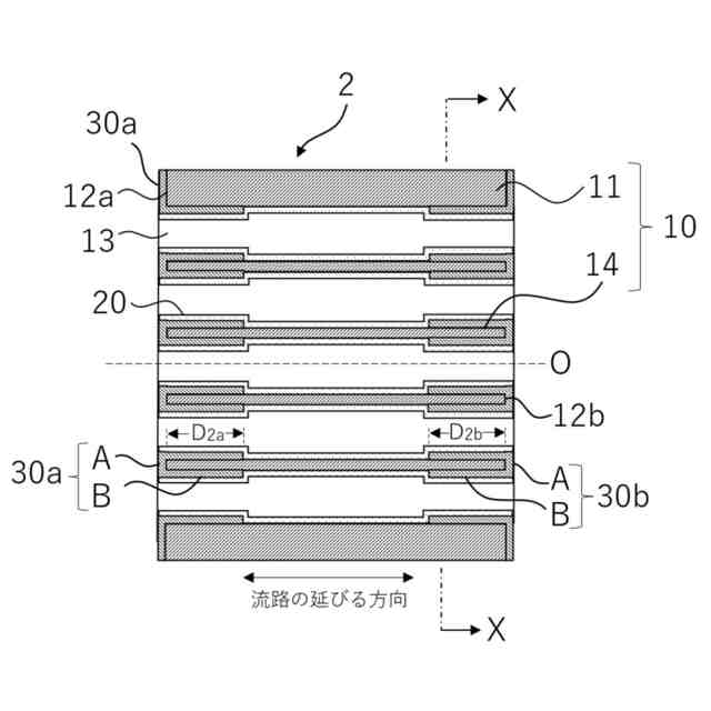
前記第一電極及び第二電極が、下記(i)又は(ii)の何れかの条件を満たすヒーターエレメント:
(i)前記第一電極が、前記一方の端面上に設けられ、
前記第二電極が、前記他方の端面上に設けられた電極部分Aと、当該電極部分Aに連結しており前記他方の端面から前記流路の延びる方向における所定の長さにわたって、前記隔壁の表面に設けられた電極部分Bとを有する;
(ii)前記第一電極が、前記一方の端面上に設けられた電極部分Aと、当該電極部分Aに連結しており前記一方の端面から前記流路の延びる方向における所定の長さにわたって、前記隔壁の表面に設けられた電極部分Bとを有し、
前記第二電極が、前記他方の端面上に設けられた電極部分Aと、当該電極部分Aに連結しており前記他方の端面から前記流路の延びる方向における所定の長さにわたって、前記隔壁の表面に設けられた電極部分Bとを有する。
続きを表示(約 860 文字)
【請求項2】
前記電極部分Bの前記所定の長さは、前記ハニカム構造体の流路の延びる方向の長さに対して1/200以上1/2未満の平均長さである請求項1に記載のヒーターエレメント。
【請求項3】
前記複数のセルを区画形成するすべての隔壁の表面全体に前記所定の長さにわたって連続的に前記電極部分Bが設けられている請求項1又は2に記載のヒーターエレメント。
【請求項4】
前記複数のセルを区画形成する隔壁の一部の表面に前記所定の長さにわたって連続的に前記電極部分Bが設けられている請求項1又は2に記載のヒーターエレメント。
【請求項5】
PTC特性を有する前記材料はチタン酸バリウムを主成分とし、鉛を実質的に含まない材料で構成されている、請求項1又は2に記載のヒーターエレメント。
【請求項6】
PTC特性を有する前記材料の25℃における体積抵抗率が0.5Ω・cm以上20Ω・cm以下である請求項1又は2に記載のヒーターエレメント。
【請求項7】
前記電極部分Bの平均厚さが前記セルの水力直径の1/10000以上1/10以下である請求項1又は2に記載のヒーターエレメント。
【請求項8】
前記ハニカム構造体は、前記隔壁の厚さが0.125mm以下、セル密度が100セル/cm
2
以下、且つ、セルピッチが1.0mm以上である請求項1又は2に記載のヒーターエレメント。
【請求項9】
前記ハニカム構造体は、前記隔壁の厚さが0.08mm以上0.36mm以下、セル密度が2.54セル/cm
2
以上140セル/cm
2
以下、前記セルの開口率が0.70以上である請求項1又は2に記載のヒーターエレメント。
【請求項10】
前記第一電極と前記第二電極は同じ材質である請求項1又は2に記載のヒーターエレメント。
(【請求項11】以降は省略されています)
発明の詳細な説明
【技術分野】
【0001】
本発明は、ヒーターエレメント及び車室浄化システムに関する。
続きを表示(約 4,400 文字)
【背景技術】
【0002】
自動車などの各種車両において、車室環境の向上に対する要求が高まっている。具体的な要求としては、車室内のCO
2
を低減して運転者の眠気を抑制すること、車室内を調湿すること、及び、車室内のにおい成分やアレルギー誘因成分などの有害な揮発成分を除去することなどが挙げられる。このような要求に有効な対策として換気が挙げられるが、換気は、冬場のヒーターエネルギーを大きくロスする要因となり、冬場のエネルギー効率の悪化を招く。特に電気自動車(BEV:Battery Electric Vehicle)では、そのエネルギーロスにより、航続距離が大幅に減少するという問題がある。
【0003】
上記の問題を解決する方法として、特許文献1及び特許文献2には、車室の空気中の水蒸気及びCO
2
などの除去対象成分を吸着材などの機能材に捕捉した後、加熱によって除去対象成分を反応又は離脱させて車外に放出し、機能材を再生する車室浄化システムが開示されている。このような車室浄化システムでは、除去対象成分の捕捉性能を確保するために空気と機能材との接触ができるだけ多いこと、及び機能材の再生を促進するために機能材を所定の温度に加熱できることが求められる。再生は、例えば、機能材に吸着した物質を酸化反応により除去する方法、及び、機能材に吸着した物質を脱離させて排出する方法等により行われるが、何れにしても吸着物質に応じて機能材を適切な温度に加熱することが必要である。
【0004】
他方、特許文献3には、外周側壁と、外周側壁の内側に配設され、第1の端面から第2の端面まで流路を形成する複数のセルを区画形成する隔壁とを有する柱状ハニカム構造部を備え、隔壁がPTC特性を有しており、隔壁の平均厚さが0.13mm以下であり、第1及び第2の端面における開口率が0.81以上であるヒーターエレメントが開示されている。このヒーターエレメントは、車室暖房用ヒーターに用いられる。
【先行技術文献】
【特許文献】
【0005】
特開2020-104774号公報
特開2020-111282号公報
国際公開第2020/036067号
【発明の概要】
【発明が解決しようとする課題】
【0006】
特許文献3に記載のヒーターエレメントは、車室の暖房用途に用いられるものであるが、ハニカム構造を有することで加熱面積を大きくすることができるので、効率の良い加熱手段である。従って、このようなヒーターエレメントを機能材の担体として使用すると、機能材の再生時間の短縮化に貢献できると考えられる。
特に、特許文献3に記載のヒーターエレメントは、通電による加熱が可能であり且つPTC特性を有するため、機能材を容易に加熱できる一方で、過剰な発熱を抑制し、機能材の熱劣化を抑制することもできると考えられる。また、過剰な温度になってしまう恐れが回避されるので、初期抵抗を小さく設定して加熱速度を速めても安全を確保でき、短時間での昇温が可能である。
【0007】
しかしながら、本発明者の検討の結果、特許文献3に記載のヒーターエレメントのセルを区画形成する隔壁の表面に機能材含有層を設けた場合、ヒーターエレメントの入口側近傍は温度が上昇しにくく、セル内で機能材を有効に加熱できる流路の延びる方向の領域が狭くなることが判明した。つまり、ヒーターエレメントに担持した機能材の一部は、再生効率が低く、有効活用することができない。また、機能材が触媒であるとき、触媒活性化のために加熱が必要な場合があるが、担持した触媒の昇温が不十分だと触媒を有効活用することができない。有効活用できない機能材含有層を設けることはヒーターエレメントのコストパフォーマンスを低下させる要因となる。
【0008】
本発明は上記事情に鑑みて創作されたものであり、一実施形態において、機能材を有効に加熱できる流路の延びる方向の領域を広くすることのできるヒーターエレメントを提供することを課題とする。また、本発明は別の一実施形態において、そのようなヒーターエレメントを備えた車室浄化システムを提供することを課題とする。本発明は更に別の一実施形態において、機能材を有効活用できる割合を高めるのに役立つ車室浄化システムを提供することを課題とする。
【課題を解決するための手段】
【0009】
[態様1]
外周壁と、前記外周壁の内側に配設され、一方の端面から他方の端面まで延びる流路を形成する複数のセルを区画形成する隔壁とを有し、少なくとも前記隔壁がPTC特性を有する材料で構成されたハニカム構造体;及び
第一電極と、第二電極とで構成された一対の電極;
を備え、
前記第一電極及び第二電極が、下記(i)又は(ii)の何れかの条件を満たすヒーターエレメント:
(i)前記第一電極が、前記一方の端面上に設けられ、
前記第二電極が、前記他方の端面上に設けられた電極部分Aと、当該電極部分Aに連結しており前記他方の端面から前記流路の延びる方向における所定の長さにわたって、前記隔壁の表面に設けられた電極部分Bとを有する;
(ii)前記第一電極が、前記一方の端面上に設けられた電極部分Aと、当該電極部分Aに連結しており前記一方の端面から前記流路の延びる方向における所定の長さにわたって、前記隔壁の表面に設けられた電極部分Bとを有し、
前記第二電極が、前記他方の端面上に設けられた電極部分Aと、当該電極部分Aに連結しており前記他方の端面から前記流路の延びる方向における所定の長さにわたって、前記隔壁の表面に設けられた電極部分Bとを有する。
[態様2]
前記電極部分Bの前記所定の長さは、前記ハニカム構造体の流路の延びる方向の長さに対して1/200以上1/2未満の平均長さである態様1に記載のヒーターエレメント。
[態様3]
前記複数のセルを区画形成するすべての隔壁の表面全体に前記所定の長さにわたって連続的に前記電極部分Bが設けられている態様1又は2に記載のヒーターエレメント。
[態様4]
前記複数のセルを区画形成する隔壁の一部の表面に前記所定の長さにわたって連続的に前記電極部分Bが設けられている態様1又は2に記載のヒーターエレメント。
[態様5]
PTC特性を有する前記材料はチタン酸バリウムを主成分とし、鉛を実質的に含まない材料で構成されている、態様1~4の何れか一つに記載のヒーターエレメント。
[態様6]
PTC特性を有する前記材料の25℃における体積抵抗率が0.5Ω・cm以上20Ω・cm以下である態様1~5の何れか一つに記載のヒーターエレメント。
[態様7]
前記電極部分Bの平均厚さが前記セルの水力直径の1/10000以上1/10以下である態様1~6の何れか一つに記載のヒーターエレメント。
[態様8]
前記ハニカム構造体は、前記隔壁の厚さが0.125mm以下、セル密度が100セル/cm
2
以下、且つ、セルピッチが1.0mm以上である態様1~7の何れか一つに記載のヒーターエレメント。
[態様9]
前記ハニカム構造体は、前記隔壁の厚さが0.08mm以上0.36mm以下、セル密度が2.54セル/cm
2
以上140セル/cm
2
以下、前記セルの開口率が0.70以上である態様1~7の何れか一つに記載のヒーターエレメント。
[態様10]
前記第一電極と前記第二電極は同じ材質である態様1~9の何れか一つに記載のヒーターエレメント。
[態様11]
前記隔壁の表面上に機能材含有層を備える態様1~10の何れか一つに記載のヒーターエレメント。
[態様12]
前記機能材含有層が水蒸気、二酸化炭素、及びにおい成分から選択される一種又は二種以上を吸着する機能を有する機能材を含有する態様11に記載のヒーターエレメント。
[態様13]
前記機能材含有層が触媒を含有する態様11又は12に記載のヒーターエレメント。
[態様14]
態様1~13の何れか一つに記載の少なくとも一つのヒーターエレメントと、
前記ヒーターエレメントに電圧を印加するための電源と、
車室と前記ヒーターエレメントの入口端面とを連通する流入配管と、
前記ヒーターエレメントの出口端面と前記車室とを連通する第一経路を有する流出配管と、
前記車室からの空気を前記流入配管を介して前記ヒーターエレメントの前記入口端面に流入させるための通風機と、
を備え、
前記ヒーターエレメントは、前記入口端面が前記一方の端面であり、前記出口端面が前記他方の端面であるように配置されるか、又は、前記入口端面が前記他方の端面であり、前記出口端面が前記一方の端面であるように配置される、
車室浄化システム。
[態様15]
前記ヒーターエレメントは、前記入口端面が前記一方の端面であり、前記出口端面が前記他方の端面であるように配置される態様14に記載の車室浄化システム。
[態様16]
前記流出配管は、前記第一経路に加えて、前記ヒーターエレメントの前記出口端面と車外とを連通する第二経路を有しており、
前記流出配管は、前記流出配管を流通する空気の流れを前記第一経路と前記第二経路の間で切替え可能な切替えバルブを有しており、
【発明の効果】
【0010】
本発明の一実施形態によれば、機能材を有効に加熱できる流路の延びる方向の領域を広くすることのできるヒーターエレメントが提供される。また、本発明の別の一実施形態によれば、当該ヒーターエレメントを備えた車室浄化システムが提供される。当該ヒーターエレメントの隔壁表面に機能材含有層を設けると、再生困難で有効活用されない機能材及び/又は昇温不十分のために機能が発揮されないことにより有効活用されない機能材の割合を減らすことができる。すなわち、有効活用できる機能材含有層の領域が広がる。これにより、ヒーターエレメントのコストパフォーマンスを改善することが可能になる。
(【0011】以降は省略されています)
この特許をJ-PlatPat(特許庁公式サイト)で参照する
関連特許
日本碍子株式会社
電池
1か月前
日本碍子株式会社
熱交換器
6日前
日本碍子株式会社
把持方法
2日前
日本碍子株式会社
ガスセンサ
27日前
日本碍子株式会社
ガスセンサ
2か月前
日本碍子株式会社
熱ダイオード
3か月前
日本碍子株式会社
空調システム
1か月前
日本碍子株式会社
ハニカム構造体
2か月前
日本碍子株式会社
ハニカム構造体
2日前
日本碍子株式会社
ハニカム構造体
6日前
日本碍子株式会社
ハニカム構造体
1か月前
日本碍子株式会社
ハニカム構造体
17日前
日本碍子株式会社
アルカリ二次電池
6日前
日本碍子株式会社
金属溶湯濾過部材
2か月前
日本碍子株式会社
導波素子の製造方法
9日前
日本碍子株式会社
半導体製造装置用部材
25日前
日本碍子株式会社
半導体製造装置用部材
2か月前
日本碍子株式会社
センサ素子およびガスセンサ
4日前
日本碍子株式会社
センサ素子およびガスセンサ
1か月前
日本碍子株式会社
ロボットハンドおよびロボット
2日前
日本碍子株式会社
AlN単結晶基板及びデバイス
6日前
日本碍子株式会社
ロボットハンドおよびロボット
2日前
日本碍子株式会社
複合基板、複合基板の製造方法
3か月前
日本碍子株式会社
流体処理装置用筒状部材の製造方法
1か月前
日本碍子株式会社
車両用空調システム及びその制御方法
1か月前
日本碍子株式会社
流体処理装置用筒状部材及び流体処理装置
3か月前
日本碍子株式会社
センサ素子の製造方法およびスラリー付着装置
6日前
日本碍子株式会社
センサ素子の製造方法およびスラリー付着装置
6日前
日本碍子株式会社
ハニカム構造体の電気抵抗を測定するための方法
17日前
日本碍子株式会社
微細構造材料の設計支援方法および設計支援装置
1か月前
日本碍子株式会社
微細構造材料のモデル生成方法およびモデル生成装置
1か月前
日本碍子株式会社
複合基板
3か月前
日本碍子株式会社
センサ素子
1か月前
日本碍子株式会社
ウエハ載置台
2か月前
日本碍子株式会社
ウエハ載置台
3か月前
日本碍子株式会社
半導体製造装置用部材
25日前
続きを見る
他の特許を見る