TOP
|
特許
|
意匠
|
商標
特許ウォッチ
Twitter
他の特許を見る
10個以上の画像は省略されています。
公開番号
2025141615
公報種別
公開特許公報(A)
公開日
2025-09-29
出願番号
2024041630
出願日
2024-03-15
発明の名称
熱交換器
出願人
日本碍子株式会社
代理人
アクシス国際弁理士法人
主分類
F28D
7/10 20060101AFI20250919BHJP(熱交換一般)
要約
【課題】第1流体と第2流体との混合を抑制可能な熱交換器を提供する。
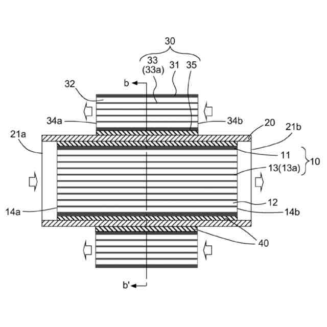
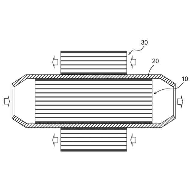
【解決手段】第1ハニカム構造体10と、第1筒状部材20と、第2ハニカム構造体30とを備える熱交換器である。第1ハニカム構造体10は、外周壁11と、外周壁11の内側に配設され、第1流体の流路となる複数のセル12を区画形成する隔壁13とを有する。第1筒状部材20は、第1ハニカム構造体10の外周壁11に嵌合される。第2ハニカム構造体30は、外周壁31と、内周壁35と、外周壁31と内周壁35との間に配設され、第2流体の流路となる複数のセル32を区画形成する隔壁33とを有し、内周壁35が第1筒状部材20に嵌合される。
【選択図】図1A
特許請求の範囲
【請求項1】
外周壁と、前記外周壁の内側に配設され、第1流体の流路となる複数のセルを区画形成する隔壁とを有する第1ハニカム構造体と、
前記第1ハニカム構造体の前記外周壁に嵌合される第1筒状部材と、
外周壁と、内周壁と、前記外周壁と前記内周壁との間に配設され、第2流体の流路となる複数のセルを区画形成する隔壁とを有する第2ハニカム構造体であって、前記内周壁が前記第1筒状部材に嵌合される第2ハニカム構造体と
を備える熱交換器。
続きを表示(約 790 文字)
【請求項2】
前記第1ハニカム構造体と前記第1筒状部材との間及び/又は前記第2ハニカム構造体と前記第1筒状部材との間に配置される熱伝導材を更に備える、請求項1に記載の熱交換器。
【請求項3】
前記第1ハニカム構造体及び前記第2ハニカム構造体の軸方向において、前記第2ハニカム構造体の両端面は、前記第1ハニカム構造体の両端面よりも内側に位置している、請求項1又は2に記載の熱交換器。
【請求項4】
前記第1ハニカム構造体及び前記第2ハニカム構造体の軸方向において、前記第1筒状部材の両端部は、前記第1ハニカム構造体及び前記第2ハニカム構造体の両端面よりも外側に位置している、請求項1又は2に記載の熱交換器。
【請求項5】
前記第1ハニカム構造体及び前記第2ハニカム構造体の前記セルが延びる方向に直交する断面において、前記隔壁が、周方向に延びる第1隔壁と、放射方向に延びる第2隔壁とを有する、請求項1又は2に記載の熱交換器。
【請求項6】
前記第2ハニカム構造体の前記セルが延びる方向に直交する断面において、前記第2ハニカム構造体が複数に分割されている、請求項1又は2に記載の熱交換器。
【請求項7】
前記第1ハニカム構造体及び/又は前記第2ハニカム構造体がセラミックスを主成分とする、請求項1又は2に記載の熱交換器。
【請求項8】
前記セラミックスが炭化珪素を主成分とする、請求項7に記載の熱交換器。
【請求項9】
前記第1筒状部材が金属材料から構成されている、請求項1又は2に記載の熱交換器。
【請求項10】
前記第1筒状部材の少なくとも一方の端部が縮径又は拡径している、請求項1又は2に記載の熱交換器。
(【請求項11】以降は省略されています)
発明の詳細な説明
【技術分野】
【0001】
本発明は、熱交換器に関する。
続きを表示(約 1,700 文字)
【背景技術】
【0002】
排ガスなどの熱源を利用し、燃料用空気や水蒸気の予熱を行う熱交換器が様々なシステムに導入されている。例えば、火力発電所などで使用されるボイラーからの排ガスを熱源として燃焼用空気を予熱する熱交換器や、燃料電池の排ガスを熱源とし水蒸気の発生及び予熱を行う熱交換器などが存在する。このような熱交換器を導入したシステムは、排ガスなどの廃熱となるエネルギーを再利用するため、使用エネルギーの削減効果があることが知られている。
【0003】
上記の技術に用いられる熱交換器として、特許文献1には、一方の端部から他方の端部に貫通して第1流体の流路となる複数のセルと、前記複数のセルを区画形成するセラミックスを主成分とする隔壁とを有するハニカム構造として形成された集熱部と、前記集熱部の外周に設けられたセラミックスを主成分とする外周壁を有し、前記外周壁によって前記第1流体と前記集熱部の外周側を流れる第2流体とを隔てながら、第1流体と前記第2流体との熱の受け渡しを介在する伝熱部と、前記複数のセルのうちの中心部分にある前記セルを囲んで前記中心部分にある前記セルと残余の外周部分にある前記セルとに区分し、かつ前記隔壁よりも厚いセラミックスを主成分とする中間壁とを備える熱交換器が提案されている。
【0004】
また、特に気体同士の熱交換に好適な熱交換器として、特許文献2には、第1の流路である第1流体流通部となる2×2列以上のセルを区画形成する隔壁及び/又は連通気孔を有する三次元網目構造部と、その外周に中間壁を介して第2流体の流路である第2流体流通部となる複数のセルを区画形成する隔壁及び/又は前記三次元網目構造部と、さらにその外周に外周壁とを有し、前記第2流体が外部から前記第2流体流通部に流入するための流入部、及び前記第2流体流通部に流入した前記第2流体を前記外部に排出する排出部が前記外周壁の一部に少なくとも1対以上設けられた、セラミックスを主成分とするセラミックス構造体を備える熱交換器が提案されている。
【先行技術文献】
【特許文献】
【0005】
特開2012-189229号公報
特開2015-042934号公報
【発明の概要】
【発明が解決しようとする課題】
【0006】
特許文献1及び2の熱交換器はいずれも、中間壁によって第1流体の流路と第2流体の流路とを分けている。
しかしながら、中間壁はセラミックスを主成分とする材料から構成されているため、中間壁内の気孔を介して各流体が別の流路に流れ込み、流体同士が混合されてしまうという懸念がある。
【0007】
本発明は、上記のような課題を解決するためになされたものであり、第1流体と第2流体との混合を抑制可能な熱交換器を提供することを目的とする。
【課題を解決するための手段】
【0008】
本発明者らは、2種類のハニカム構造体の間に筒状部材を配置することにより、上記の課題を解決し得ることを見出し、本発明を完成するに至った。すなわち、本発明は、以下のように例示される。
【0009】
[1] 外周壁と、前記外周壁の内側に配設され、第1流体の流路となる複数のセルを区画形成する隔壁とを有する第1ハニカム構造体と、
前記第1ハニカム構造体の前記外周壁に嵌合される第1筒状部材と、
外周壁と、内周壁と、前記外周壁と前記内周壁との間に配設され、第2流体の流路となる複数のセルを区画形成する隔壁とを有する第2ハニカム構造体であって、前記内周壁が前記第1筒状部材に嵌合される第2ハニカム構造体と
を備える熱交換器。
【0010】
[2] 前記第1ハニカム構造体と前記第1筒状部材との間及び/又は前記第2ハニカム構造体と前記第1筒状部材との間に配置される熱伝導材を更に備える、[1]に記載の熱交換器。
(【0011】以降は省略されています)
この特許をJ-PlatPat(特許庁公式サイト)で参照する
関連特許
日本碍子株式会社
電池
1か月前
日本碍子株式会社
熱交換器
5日前
日本碍子株式会社
把持方法
1日前
日本碍子株式会社
ガスセンサ
26日前
日本碍子株式会社
ガスセンサ
2か月前
日本碍子株式会社
熱ダイオード
3か月前
日本碍子株式会社
空調システム
1か月前
日本碍子株式会社
ハニカム構造体
2か月前
日本碍子株式会社
ハニカム構造体
1日前
日本碍子株式会社
ハニカム構造体
5日前
日本碍子株式会社
ハニカム構造体
1か月前
日本碍子株式会社
ハニカム構造体
16日前
日本碍子株式会社
アルカリ二次電池
5日前
日本碍子株式会社
金属溶湯濾過部材
2か月前
日本碍子株式会社
導波素子の製造方法
8日前
日本碍子株式会社
半導体製造装置用部材
24日前
日本碍子株式会社
半導体製造装置用部材
2か月前
日本碍子株式会社
センサ素子およびガスセンサ
3日前
日本碍子株式会社
センサ素子およびガスセンサ
1か月前
日本碍子株式会社
ロボットハンドおよびロボット
1日前
日本碍子株式会社
AlN単結晶基板及びデバイス
5日前
日本碍子株式会社
ロボットハンドおよびロボット
1日前
日本碍子株式会社
複合基板、複合基板の製造方法
2か月前
日本碍子株式会社
流体処理装置用筒状部材の製造方法
1か月前
日本碍子株式会社
車両用空調システム及びその制御方法
1か月前
日本碍子株式会社
流体処理装置用筒状部材及び流体処理装置
3か月前
日本碍子株式会社
センサ素子の製造方法およびスラリー付着装置
5日前
日本碍子株式会社
センサ素子の製造方法およびスラリー付着装置
5日前
日本碍子株式会社
ハニカム構造体の電気抵抗を測定するための方法
16日前
日本碍子株式会社
微細構造材料の設計支援方法および設計支援装置
1か月前
日本碍子株式会社
微細構造材料のモデル生成方法およびモデル生成装置
1か月前
日本碍子株式会社
複合基板
2か月前
日本碍子株式会社
センサ素子
1か月前
日本碍子株式会社
ウエハ載置台
2か月前
日本碍子株式会社
ウエハ載置台
3か月前
日本碍子株式会社
半導体製造装置用部材
24日前
続きを見る
他の特許を見る