TOP
|
特許
|
意匠
|
商標
特許ウォッチ
Twitter
他の特許を見る
10個以上の画像は省略されています。
公開番号
2025115050
公報種別
公開特許公報(A)
公開日
2025-08-06
出願番号
2024009364
出願日
2024-01-25
発明の名称
空容器回収装置
出願人
株式会社寺岡精工
代理人
弁理士法人英知国際特許商標事務所
主分類
B65F
1/14 20060101AFI20250730BHJP(運搬;包装;貯蔵;薄板状または線条材料の取扱い)
要約
【課題】
空容器が山状に偏って積み重なる状態を解消することのできる空容器回収装置を提供することを目的とする。
【解決手段】
装置本体部に対して着脱自在であり、空容器を収容する収容部と、前記収容部の内部に積み重なった空容器を均す均し機構と、を備え、前記均し機構は、駆動源と、前記駆動源からの動力を受けて揺動する揺動部と、を有し、前記駆動源は、前記揺動部と前記収容部の何れもから離れた位置に設けられていることを特徴とする空容器回収装置により課題を解決した。
【選択図】図12
特許請求の範囲
【請求項1】
装置本体部に対して着脱自在であり、空容器を収容する収容部と、前記収容部の内部に積み重なった空容器を均す均し機構と、を備え、
前記均し機構は、駆動源と、前記駆動源からの動力を受けて揺動する揺動部と、を有し、
前記駆動源は、前記揺動部と前記収容部の何れもから離れた位置に設けられている
ことを特徴とする空容器回収装置。
続きを表示(約 970 文字)
【請求項2】
前記揺動部は、帯状の軟質部材である
ことを特徴とする請求項1に記載の空容器回収装置。
【請求項3】
物品を装置本体部内に投入する投入部を備え、
前記投入部は、前記収容部より上部であって、かつ、操作者に正対する側に設けられており、
前記駆動源は、前記収容部より上部であって、かつ、操作者に正対しない側に設けられている
ことを特徴とする請求項1に記載の空容器回収装置。
【請求項4】
前記揺動部は、一端が前記駆動源に接続されており、他端が前記収容部より下部であって、かつ、前記駆動源が位置する側の反対側で固定されているものの、固定位置が前記装置本体部の奥行の半分以下の位置とされている
ことを特徴とする請求項3に記載の空容器回収装置。
【請求項5】
前記揺動部は、一端が前記駆動源に接続されており、他端が前記収容部より下部であって、かつ、前記駆動源が位置する側の反対側で固定されているものの、固定位置が前記装置本体部の全幅の半分以下の位置とされている
ことを特徴とする請求項3に記載の空容器回収装置。
【請求項6】
駆動源制御部を、さらに備え、
前記駆動源制御部は、空容器の投入本数が規定本数を超えたら、最初の揺動を実行し、その後は、所定の必要なタイミングで間欠的に揺動を実行する
ことを特徴とする請求項1に記載の空容器回収装置。
【請求項7】
前記所定の必要なタイミングは、規定本数の投入後に、一定本数ごとの空容器が投入される度に成立する
ことを特徴とする請求項6に記載の空容器回収装置。
【請求項8】
前記所定の必要なタイミングは、規定本数の投入後に、漸減していく特定本数の空容器が投入されると成立する
ことを特徴とする請求項6に記載の空容器回収装置。
【請求項9】
駆動源制御部を、さらに備え、
前記駆動源制御部は、前記収容部に収納済みの空容器の重量が規定重量を超えたら、最初の揺動を実行し、その後は、所定の必要なタイミングで間欠的に揺動を実行する
ことを特徴とする請求項1に記載の空容器回収装置。
発明の詳細な説明
【技術分野】
【0001】
本発明は、空容器回収装置に関する。
続きを表示(約 2,200 文字)
【背景技術】
【0002】
空容器を回収する空容器回収装置が知られている(例えば、特許文献1参照)。この空容器回収装置は、空容器を圧縮手段で挟んで押し潰すことで減容し、収容する。
【先行技術文献】
【特許文献】
【0003】
特開2005-153019号公報
【発明の概要】
【発明が解決しようとする課題】
【0004】
しかしながら、空容器回収装置の収容部内で、回収された空容器が山状に偏って積み重なり、集積された空容器の頂上部が圧縮手段に届くようになってしまい、最大収容量に到達する前に、収容部の交換作業を強いられるという問題があった。
【0005】
本発明は、このような問題に対処することを課題とするものであり、空容器が山状に偏って積み重なる状態を解消することのできる空容器回収装置を提供することを目的とするものである。
【課題を解決するための手段】
【0006】
本発明に係る空容器回収装置は、少なくとも以下の構成を具備する。
装置本体部に対して着脱自在であり、空容器を収容する収容部と、前記収容部の内部に積み重なった空容器を均す均し機構と、を備え、前記均し機構は、駆動源と、前記駆動源からの動力を受けて揺動する揺動部と、を有し、前記駆動源は、前記揺動部と前記収容部の何れもから離れた位置に設けられていることを特徴とする。
【図面の簡単な説明】
【0007】
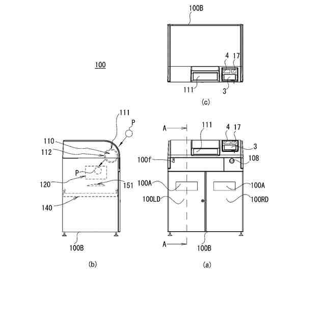
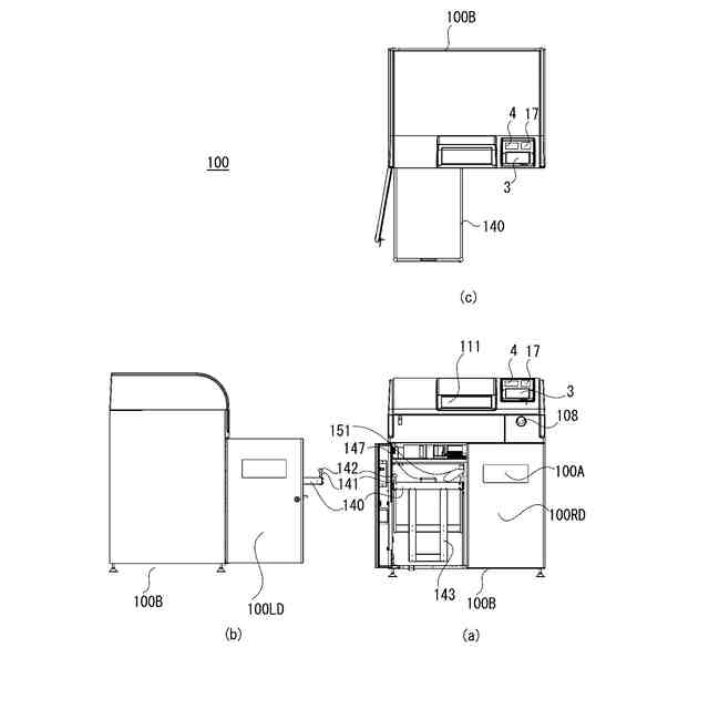
本発明の一実施形態に係る空容器回収装置の全体概念図であり、(a)は空容器回収装置の正面図、(b)は空容器回収装置の左側面図、(c)は空容器回収装置の上面図である。
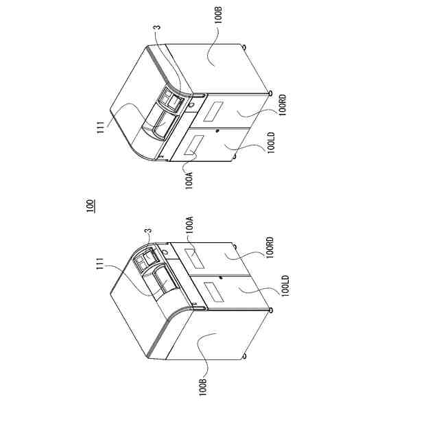
空容器回収装置の斜視図(左斜視図、右斜視図)である。
空容器回収装置の側断面図であり、図1(a)のA-A線での断面図である。
空容器回収装置の前面左扉を開放している状態を示す図であり、(a)は空容器回収装置の正面図、(b)は空容器回収装置の左側面図、(c)は空容器回収装置の上面図である。
空容器回収装置の前面左扉を開放している状態を示す図であり、空容器回収装置の斜視図(左斜視図、右斜視図)である。
袋保持部のみを示す斜視図である。
空容器回収装置の前面左扉及び前面右扉を共に開放し、左の袋保持部のみを引出した状態を示す斜視図である。
本発明の実施形態に係る空容器回収装置の電気的構成の一例を説明するための図である。
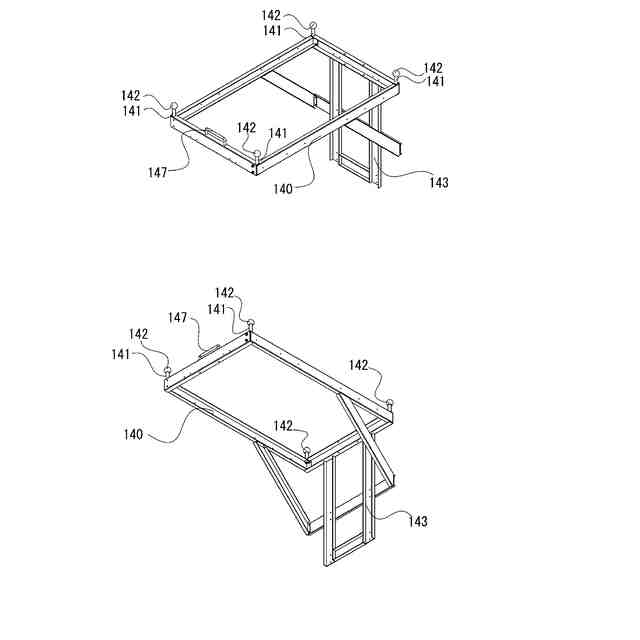
収容部と均し機構との関係を説明するための側断面図であって、均し機構が非作動時の様子を示すものである。
収容部と均し機構との関係を説明するための側断面図であって、均し機構が作動中の様子を示すものである。
均し機構を示す写真である。
回収袋で空容器を回収する態様において、均し機構を作用させている様子を示す説明図である。
回収箱で空容器を回収する態様において、均し機構を作用させている様子を示す説明図である。
【発明を実施するための形態】
【0008】
以下、本発明の実施形態を、図面を参照しながら説明する。本発明の実施形態は図示の内容を含むが、これのみに限定されるものではない。尚、以後の各図の説明で、既に説明した部位と共通する部分は同一符号を付して重複説明を一部省略する。
【0009】
(空容器回収装置の基本構成)
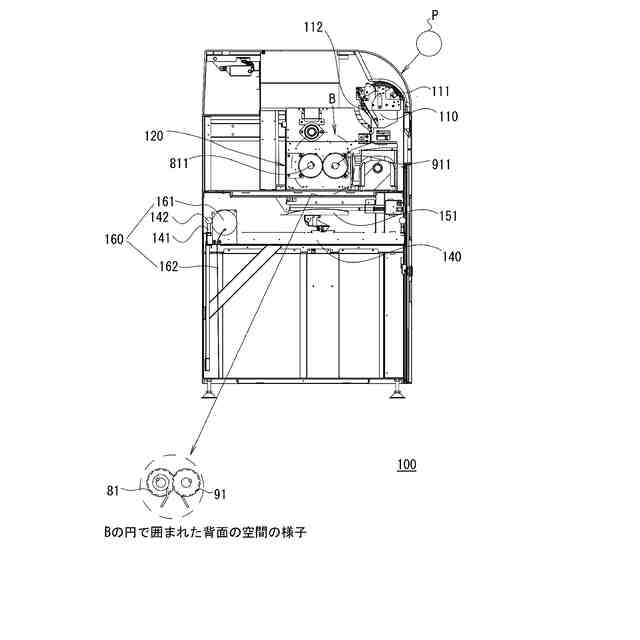
図1は本発明の実施形態として、回収対象の空容器(PETボトル等)を回収する空容器回収装置100の一例を示す図であり、(a)は空容器回収装置の正面図、(b)は空容器回収装置の左側面図、(c)は空容器回収装置の上面図である。図2は、空容器回収装置の斜視図である。図3は、図1(a)のA-A断面図である。
【0010】
空容器回収装置100は、待機時、物品投入部の外扉111が閉状態であり、容器投入部110と袋保持部140の間に開閉自在に設けられた内扉112が閉状態である。袋保持部140は、空容器を回収するために用いられる袋(ビニール袋)を保持するものであって、収容部として機能する。そして、後述するように、空容器回収箱といった特別な専用付属品を必要としない。ただし、空容器回収箱を用いる態様が排除されるものではない。物品回収時に、容器投入部110の外扉111が開状態となり、判別部により、容器投入部110の載置部へ載置された物が回収対象物の物品(例えば、PETボトル等の樹脂製の空容器)であるか否かが判別される。回収対象物の物品(空容器)であると判別された場合、外扉111が閉状態となり、容器投入部110と袋保持部140(本実施形態においては、袋保持部140は2つ備えられている。)の間に設けられた内扉112が開状態となり、袋保持部140に保持された袋に容器が回収される。本実施形態では、空容器回収装置100が減容機構(減容部120又は容器減容部ともいう)を備え、減容機構(減容部120)により容器を減容することで、規定容量の2つの袋(ビニール袋)によって多量の減容された空容器を回収可能である。また、偏向機構151(振分け部)によって、空容器の送出方向を前後左右の様々な方向に異ならせることができるため、回収効率の良い袋交換が可能である。
(【0011】以降は省略されています)
この特許をJ-PlatPat(特許庁公式サイト)で参照する
関連特許
株式会社寺岡精工
搬送装置
1か月前
株式会社寺岡精工
システム
2か月前
株式会社寺岡精工
包装装置
1か月前
株式会社寺岡精工
空容器回収装置
1か月前
株式会社寺岡精工
施設管理システム
1か月前
株式会社寺岡精工
システム及びプログラム
1か月前
株式会社寺岡精工
精算装置、システム、およびプログラム
12日前
株式会社寺岡精工
監視装置、精算装置、およびプログラム
1か月前
株式会社寺岡精工
ラベル発行装置およびコンピュータプログラム
1か月前
株式会社寺岡精工
ラベル発行装置およびコンピュータプログラム
1か月前
株式会社寺岡精工
プログラム、携帯端末、システム、サーバ及び報知方法
12日前
株式会社寺岡精工
包装装置
1か月前
株式会社寺岡精工
印刷装置
2か月前
株式会社寺岡精工
システム
2か月前
株式会社寺岡精工
販売データ処理装置、販売データ処理方法、およびプログラム
20日前
株式会社寺岡精工
精算装置及びプログラム
2か月前
株式会社寺岡精工
荷物引受装置、プログラム
14日前
株式会社寺岡精工
POS端末、およびプログラム
1か月前
株式会社寺岡精工
商品情報処理装置、プログラム
1日前
株式会社寺岡精工
システム、精算装置、プログラム
1か月前
株式会社寺岡精工
販売データ処理装置及び袋保持具
2か月前
株式会社デジアイズ
炭酸水製造装置
2日前
株式会社寺岡精工
生産管理システム、生産管理プログラム
1か月前
株式会社寺岡精工
商品販売データ処理装置及びプログラム
2か月前
株式会社寺岡精工
商品販売データ処理装置およびプログラム
1か月前
株式会社寺岡精工
商品受け渡しシステム、およびプログラム
2か月前
株式会社寺岡精工
商品販売データ処理装置、およびプログラム
2か月前
株式会社寺岡精工
商品販売データ処理システム、プログラム、監視装置、及びサーバ装置
2か月前
株式会社デジジャパン
会計処理システム、プログラム、及び会計処理方法
2か月前
デジシンガポール ピーティイー リミテッド
商品販売データ処理システム、計量装置
1日前
個人
箱
11か月前
個人
ゴミ箱
11か月前
個人
収容箱
2か月前
個人
コンベア
4か月前
個人
段ボール箱
6か月前
個人
段ボール箱
6か月前
続きを見る
他の特許を見る