TOP
|
特許
|
意匠
|
商標
特許ウォッチ
Twitter
他の特許を見る
10個以上の画像は省略されています。
公開番号
2025115116
公報種別
公開特許公報(A)
公開日
2025-08-06
出願番号
2024009466
出願日
2024-01-25
発明の名称
モータシステム
出願人
マツダ株式会社
代理人
個人
,
個人
,
個人
,
個人
主分類
H02K
9/12 20060101AFI20250730BHJP(電力の発電,変換,配電)
要約
【課題】高速回転時における攪拌抵抗損失の低減と、ステータのコイルの冷却とを両立することができるモータシステムを提供する。
【解決手段】モータシステムSは、ロータシャフト13に対する軸受20の摺動面22に連通する冷媒供給通路18と、軸受20のロータ端面24と隣接するように、ロータシャフト13に取り付けられたガイド部材30とを備え、軸受20は、軸受20とロータシャフト13との間の支持空間22aへ供給されたCO
2
冷媒Rによって潤滑されるように構成されており、ガイド部材30は、ロータ端面24と所定の隙間を介して対向するガイド面31を有し、ガイド面31は、CO
2
冷媒Rが支持空間22aから所定の隙間を通ってハウジング15内に噴出するとき、CO
2
冷媒Rをステータ12に巻回されたコイル12bに向けて誘導するように形成されている。
【選択図】図1
特許請求の範囲
【請求項1】
ステータと、ロータと、前記ロータに固定され軸方向に延びるロータシャフトと、前記ロータシャフトを回転可能に支持し、前記軸方向において前記ロータに面するロータ端面を有する滑り軸受と、前記滑り軸受を保持するハウジングと、を備えるモータシステムであって、
少なくとも前記ハウジングを通って、前記ロータシャフトに対する前記滑り軸受の摺動面に連通する冷媒供給通路と、
前記滑り軸受の前記ロータ端面と隣接するように、前記ロータシャフトに取り付けられたガイド部材と、
を更に備え、
前記滑り軸受は、前記冷媒供給通路を通して、前記滑り軸受と前記ロータシャフトとの間の支持空間へ供給されたCO
2
冷媒によって潤滑されるように構成されており、
前記ガイド部材は、前記ロータ端面と所定の隙間を介して対向するガイド面を有し、前記ガイド面は、前記CO
2
冷媒が前記支持空間から前記所定の隙間を通って前記ハウジング内に噴出するとき、前記CO
2
冷媒を前記ステータに巻回されたコイルに向けて誘導するように形成されている、モータシステム。
続きを表示(約 1,600 文字)
【請求項2】
前記ガイド面は、前記滑り軸受から前記ロータへ向かうに連れて拡径する傾斜面を有する、請求項1に記載のモータシステム。
【請求項3】
前記CO
2
冷媒を前記冷媒供給通路に供給し、前記CO
2
冷媒を前記ハウジング内から回収する冷媒循環システムを更に備えている、請求項1に記載のモータシステム。
【請求項4】
前記冷媒循環システムは、
前記ハウジングから回収した気体の前記CO
2
冷媒を圧縮し超臨界流体の前記CO
2
冷媒を生成する圧縮機と、
前記圧縮機から出力された前記CO
2
冷媒を凝縮し外部環境と熱交換し、超臨界流体の前記CO
2
冷媒を前記冷媒供給通路へ供給する凝縮器と、を備える、請求項3に記載のモータシステム。
【請求項5】
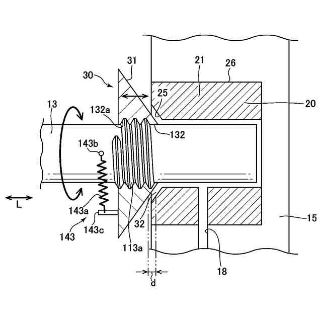
前記ガイド部材と前記滑り軸受との間の相対的な軸方向距離を変更可能に調整するための位置調整機構を更に備えている、請求項1に記載のモータシステム。
【請求項6】
前記ガイド部材は、磁性体を含み、前記ロータシャフトに対して軸方向に移動可能に取り付けられており、
前記位置調整機構は、前記ガイド部材を前記ロータに向かう第1軸方向に付勢する付勢手段と、前記磁性体を前記滑り軸受に向かう第2軸方向に磁気的に吸引する電磁石と、を備え、
前記モータシステムは、前記滑り軸受に対する前記ガイド部材の相対位置を調整するように、前記電磁石への通電を制御するコントローラを更に備える、請求項5に記載のモータシステム。
【請求項7】
前記付勢手段は、前記ロータシャフト内に配置され、前記電磁石は、前記ハウジング又は前記滑り軸受に取り付けられている、請求項6に記載のモータシステム。
【請求項8】
前記モータシステムは、前記ロータが前記ステータに対して一方向へ回転するように構成されており、
前記ガイド部材は、前記ロータシャフトに対して軸方向に移動可能に螺合しており、前記ロータシャフトに対して回転することにより、前記ロータシャフトにおける軸方向の基準位置から、前記ロータに向かう第1軸方向と前記滑り軸受に向かう第2軸方向とに進退動可能に取り付けられており、
前記位置調整機構は、前記ガイド部材が前記ロータシャフトに対して回転して前記基準位置から軸方向に離れることに応じて、前記ガイド部材を前記基準位置へ戻す方向へ付勢力を前記ガイド部材に付与する付勢手段を備え、
前記ガイド部材は、前記ロータシャフトが加速回転するときは、前記付勢手段の付勢力に抗して前記基準位置から前記第1軸方向へ移動し、前記ロータシャフトが等速回転するときは、前記基準位置に留まり、前記ロータシャフトが減速回転するときは、前記付勢手段の付勢力に抗して前記基準位置から前記第2軸方向へ移動する、請求項5に記載のモータシステム。
【請求項9】
前記付勢手段は、前記ロータシャフトと前記ガイド部材とを接続するバネ部材である、請求項8に記載のモータシステム。
【請求項10】
前記滑り軸受は、磁性体を含み、前記ハウジングに対して軸方向に移動可能に取り付けられており、
前記位置調整機構は、前記磁性体を前記ガイド部材に向かう第1軸方向と前記ガイド部材から離れる第2軸方向に電磁気的に選択的に吸引可能な電磁石と、を備え、
前記モータシステムは、前記滑り軸受に対する前記ガイド部材の相対位置を調整するように、前記電磁石への通電を制御するコントローラを更に備える、請求項5に記載のモータシステム。
(【請求項11】以降は省略されています)
発明の詳細な説明
【技術分野】
【0001】
本発明は、モータシステムに関し、特に軸受け部を有するモータシステムに関する。
続きを表示(約 1,900 文字)
【背景技術】
【0002】
従来、電気モータのステータに巻回されたコイル端にオイルを噴射して、コイル端を冷却する技術が知られている(例えば、特許文献1参照)。特許文献1の電気モータでは、電気モータの中空のロータシャフト内にオイルが導入され、ロータシャフトの周面に形成された貫通孔からオイルがロータシャフトの外部に噴出するようになっている。噴出したオイルは、ロータシャフトに取り付けられた部材を介して、コイル端に向けて方向付けられ、コイル端を冷却するようになっている。
【0003】
また、一般に、電気モータのロータシャフトは、転がり軸受や滑り軸受によって支持されるように構成される。特許文献1の電気モータでは、ロータシャフトは転がり軸受によって支持されている。
【先行技術文献】
【特許文献】
【0004】
特開2023-17291号公報
【発明の概要】
【発明が解決しようとする課題】
【0005】
一般に、電気モータの回転速度が高速になると(例えば、30,000rmp超)、転がり軸受では転がり疲労が問題となる。これを回避するため、このような超高速回転モータでは、転がり軸受に代えて、オイル潤滑滑り軸受を採用してもよい。オイル潤滑滑り軸受では、オイルが滑り軸受に供給される。しかしながら、この場合、超高速回転モータでは、オイルが有する粘性に起因して、ロータシャフトの高回転時における攪拌抵抗損失が問題となる。
【0006】
本発明は、上述した従来技術の問題点を解決するためになされたものであり、高速回転時における攪拌抵抗損失の低減と、ステータのコイルの冷却とを両立することができるモータシステムを提供することを目的とする。
【課題を解決するための手段】
【0007】
上記の目的を達成するために、本発明のモータシステムは、ステータと、ロータと、ロータに固定され軸方向に延びるロータシャフトと、ロータシャフトを回転可能に支持し、軸方向においてロータに面するロータ端面を有する滑り軸受と、滑り軸受を保持するハウジングと、を備え、少なくともハウジングを通って、ロータシャフトに対する滑り軸受の摺動面に連通する冷媒供給通路と、滑り軸受のロータ端面と隣接するように、ロータシャフトに取り付けられたガイド部材と、を更に備え、滑り軸受は、冷媒供給通路を通して、滑り軸受とロータシャフトとの間の支持空間へ供給されたCO
2
冷媒によって潤滑されるように構成されており、ガイド部材は、ロータ端面と所定の隙間を介して対向するガイド面を有し、ガイド面は、CO
2
冷媒が支持空間から所定の隙間を通ってハウジング内に噴出するとき、CO
2
冷媒をステータに巻回されたコイルに向けて誘導するように形成されている、ことを特徴とする。
【0008】
このように構成された本発明では、モータシステムは、CO
2
冷媒を滑り軸受とロータシャフトとの間の支持空間に供給することにより、滑り軸受の摺動面を潤滑することができる。また、モータシステムは、潤滑後のCO
2
冷媒を支持空間からハウジングの内部空間に噴出させる。このとき、CO
2
冷媒は、ロータシャフト13に設けられたガイド部材のガイド面によって、ステータのコイルに方向付けられ、モータの高温部であるコイルを冷却することができる。これにより、本発明では、CO
2
冷媒を滑り軸受の潤滑とモータの冷却に用いることが可能となる。したがって、本発明のモータシステムでは、高速回転時における攪拌抵抗損失の低減と、ステータのコイルの冷却とを両立することができる。
【0009】
なお、本発明において、CO
2
冷媒は、滑り軸受へ供給されるときは超臨界流体とすることができる。この超臨界流体は、支持空間から所定の隙間を通ってハウジング15内に噴出するとき膨張して、気液混合状態に変位する。更に、この気液混合流体は、ステータ12のコイル12bと熱交換することによって蒸発し、気体に変位する。
【0010】
また、本発明において、好ましくは、ガイド面は、滑り軸受からロータへ向かうに連れて拡径する傾斜面を有する。このように構成された本発明によれば、支持空間から流れてきたCO
2
冷媒を、傾斜面によって方向付けて、ハウジングの内部空間へ放出することができる。
(【0011】以降は省略されています)
この特許をJ-PlatPat(特許庁公式サイト)で参照する
関連特許
マツダ株式会社
車載機器
5日前
マツダ株式会社
エンジン
6日前
マツダ株式会社
二次電池
5日前
マツダ株式会社
二次電池
5日前
マツダ株式会社
排気システム
7日前
マツダ株式会社
排気システム
7日前
マツダ株式会社
運転支援装置
5日前
マツダ株式会社
運転支援装置
5日前
マツダ株式会社
運転支援装置
5日前
マツダ株式会社
インバータ装置
6日前
マツダ株式会社
インバータ装置
6日前
マツダ株式会社
インバータ装置
6日前
マツダ株式会社
インバータ装置
6日前
マツダ株式会社
車両の前部構造
5日前
マツダ株式会社
車両の下部車体構造
16日前
マツダ株式会社
二次電池の制御装置
7日前
マツダ株式会社
二次電池の制御装置
5日前
マツダ株式会社
車両の下部車体構造
8日前
マツダ株式会社
モータ軸受システム
16日前
マツダ株式会社
モータ軸受システム
16日前
マツダ株式会社
エンジンの制御装置
6日前
マツダ株式会社
バッテリの制御装置
8日前
マツダ株式会社
車両の下部車体構造
12日前
マツダ株式会社
車両の下部車体構造
12日前
マツダ株式会社
車両の下部車体構造
12日前
マツダ株式会社
車両の下部車体構造
12日前
マツダ株式会社
車両の下部車体構造
16日前
マツダ株式会社
車両の下部車体構造
16日前
マツダ株式会社
車両運転支援システム
12日前
マツダ株式会社
被覆金属材の試験方法
6日前
マツダ株式会社
バッテリ状態推定装置
8日前
マツダ株式会社
エンジンの燃焼室構造
6日前
マツダ株式会社
エンジンの燃焼室構造
6日前
マツダ株式会社
車両運転支援システム
16日前
マツダ株式会社
自動変速機の油路構造
6日前
マツダ株式会社
車両運転支援システム
16日前
続きを見る
他の特許を見る