TOP
|
特許
|
意匠
|
商標
特許ウォッチ
Twitter
他の特許を見る
10個以上の画像は省略されています。
公開番号
2025140672
公報種別
公開特許公報(A)
公開日
2025-09-29
出願番号
2024040205
出願日
2024-03-14
発明の名称
車両の下部車体構造
出願人
マツダ株式会社
代理人
個人
,
個人
,
個人
,
個人
,
個人
主分類
B62D
25/08 20060101AFI20250919BHJP(鉄道以外の路面車両)
要約
【課題】通常走行時に板金製のサスハウジングから車幅方向内側への荷重が伝達されたとしてもサスハウジングの内倒れ変形を抑制し、優れた操安性と良好な乗り心地とを得ること。
【解決手段】前後方向に延びる閉断面部3sを構成するフレーム3に設けられるとともにサスペンションを支持する板金製のサスハウジング4は、ダンパ取付け面部41と、ダンパ取付け面部41の周縁から下方に延びる周壁部42と、を有し、フレーム3の車幅方向内側には、フロアパネル2が固定される内側フランジ部35bを有し、周壁部42よりも車幅方向内側には、周壁部42の車幅方向内側部分と内側フランジ部35bとを車幅方向内側ほど下方に連結する連結面部61を備えた。
【選択図】図3
特許請求の範囲
【請求項1】
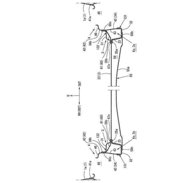
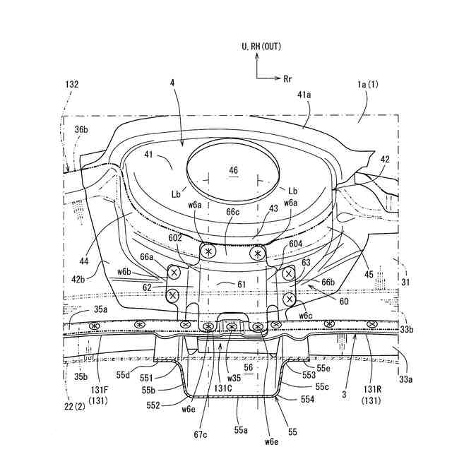
フロアパネルの車幅方向外側において前後方向に延びる閉断面部を構成するフレームと、
前記フレームに設けられるとともにサスペンションを支持する板金製のサスハウジングと、を備え、
前記サスハウジングは、前記フレームの上面に沿うダンパ取付け面部と、
前記ダンパ取付け面部の周縁から下方に延びる周壁部と、を有し、
前記フレームの車幅方向内側には、前記フロアパネルが固定される内側フランジ部を有し、
前記周壁部よりも車幅方向内側には、前記周壁部の車幅方向内側部分と前記内側フランジ部とを車幅方向内側ほど下方に連結する連結面部を備えたことを特徴とする
車両の下部車体構造。
続きを表示(約 730 文字)
【請求項2】
前記連結面部は、前記ダンパ取付け面部において上下方向に貫通形成された開口部と前後位置が重複する
請求項1に記載の車両の下部車体構造。
【請求項3】
前記連結面部は前記周壁部の高さ方向における中間位置より上方に固定された
請求項1に記載の車両の下部車体構造。
【請求項4】
前記連結面部は、前記周壁部に対する外側固定部と、前記フレームに対する内側固定部とを有し、
前記外側固定部と前記内側固定部は、少なくとも一部が前後方向に互いに重複する位置に設けられた
請求項1に記載の車両の下部車体構造。
【請求項5】
前記連結面部は、車幅方向に沿って直線状に形成された
請求項1に記載の車両の下部車体構造。
【請求項6】
前記周壁部よりも車幅方向内側に有する、前記フレームの前記閉断面部には、前後方向に沿う断面が下方に開口するU字状の節部材を備え、
前記連結面部は、前記節部材の上壁部によって形成された
請求項1に記載の車両の下部車体構造。
【請求項7】
左右一対の前記フレームを、これらフレームの間において連結するクロスメンバが車幅方向に沿って設けられ、
前記クロスメンバは、前記ダンパ取付け面部と重複する前後位置に配置された
請求項1に記載の車両の下部車体構造。
【請求項8】
前記フレームはフレーム前側部とフレーム後側部とで構成されており、前記フレーム前側部と前記フレーム後側部とが重ね合わされた結合部位に、前記連結面部を固定した
請求項1に記載の車両の下部車体構造。
発明の詳細な説明
【技術分野】
【0001】
この発明は、フロアパネルの車幅方向外側において前後方向に延びる閉断面部を構成するフレームと、フレームに設けられるサスハウジングとを備えた車両の下部車体構造に関する。
続きを表示(約 1,700 文字)
【背景技術】
【0002】
車両の下部車体構造は、通常走行時に優れた操安性と良好な乗り心地とを得るために、サスペンションを支持するサスペンションハウジング(以下、「サスハウジング」とも称する)を介してサスペンションから入力される荷重に対して剛性を確保することが重要である。
【0003】
このような車両の下部車体構造は、フロアパネルの車幅方向外側において前後方向に延びる閉断面部を構成するフレームが設けられ、フレームに対してサスハウジングを車幅方向外側に設けた構成が従来より存在するが、最近では特許文献1のように、サスハウジングをフレーム上に設ける構造も知られている。
【0004】
特許文献1のサスハウジングは、形状自由度が高いとされるアルミダイカスト製であるが故に、それ自体にリブを設けるなどして所望の剛性を確保し易いことからフレームを補強することができる。一方、フレーム上に設けられるサスハウジングを、アルミダイカスト製よりも従来の製造プロセスで製造し易い等のメリットを有する板金製とすることも考えられるが、板金製とした場合には、アルミダイカスト製よりも形状自由度が低く剛性確保に重量がかさみがちとなる。
【0005】
そうすると、例えば、通常走行時にサスペンションが上下変位することに起因してサスペンションから車幅方向内側への入力荷重がサスハウジングを介してフレームへ伝達された際に、フレームは、形状自由度が低く剛性確保に重量がかさみがちな板金製のサスハウジングが該フレーム側へ内倒れ変形することを抑制できないおそれがあり、結果として操安性や乗り心地に悪影響を及ぼすおそれがあった。
【先行技術文献】
【特許文献】
【0006】
特開2023-035561号公報
【発明の概要】
【発明が解決しようとする課題】
【0007】
この発明はこのような課題に鑑みてなされたもので、フレーム上に設けたサスハウジングを板金製とした構成において、通常走行時にサスハウジングから車幅方向内側への荷重が伝達されたとしてもサスハウジングの内倒れ変形を抑制し、優れた操安性と良好な乗り心地とを得ることができる車両の下部車体構造の提供を目的とする。
【課題を解決するための手段】
【0008】
この発明の車両の下部車体構造は、フロアパネルの車幅方向外側において前後方向に延びる閉断面部を構成するフレームと、前記フレームに設けられるとともにサスペンションを支持する板金製のサスハウジングと、を備え、前記サスハウジングは、前記フレームの上面に沿うダンパ取付け面部と、前記ダンパ取付け面部の周縁から下方に延びる周壁部と、を有し、前記フレームの車幅方向内側には、前記フロアパネルが固定される内側フランジ部を有し、前記周壁部よりも車幅方向内側には、前記周壁部の車幅方向内側部分と前記内側フランジ部とを車幅方向内側ほど下方に連結する連結面部を備えたことを特徴とする。
【0009】
前記構成によれば、通常走行時に前記サスハウジングから車幅方向内側への荷重が伝達されたとしても前記連結面部が前記内側フランジ部と前記周壁部との間で突っ張る作用を奏し、前記サスハウジングの内倒れ変形を抑制することができる。
従って、優れた操安性と良好な乗り心地とを得ることができる。
【0010】
この発明の態様として、前記連結面部は、前記ダンパ取付け面部において上下方向に貫通形成された開口部と前後位置が重複してもよい。
前記構成によれば、サスペンションからの荷重が、ダンパ取付け位置の中心である前記ダンパ取付け面部の前記開口部から車幅方向内側へ入力されるため、荷重の入力源に極力近い位置において前記連結面部によって、サスハウジングを効率的に支持することができる。すなわちサスハウジングから車幅方向内側へ伝達される荷重に対する前記連結面部の突張り効果を発揮できるため、サスハウジングの内倒れ変形を効果的に抑制することができる。
(【0011】以降は省略されています)
この特許をJ-PlatPat(特許庁公式サイト)で参照する
関連特許
マツダ株式会社
二次電池
19日前
マツダ株式会社
排気システム
今日
マツダ株式会社
排気システム
今日
マツダ株式会社
排気浄化装置
1か月前
マツダ株式会社
排気浄化装置
1か月前
マツダ株式会社
車両用駆動装置
27日前
マツダ株式会社
車両用駆動装置
27日前
マツダ株式会社
車両用駆動装置
27日前
マツダ株式会社
車両用駆動装置
27日前
マツダ株式会社
車両用駆動装置
27日前
マツダ株式会社
冷媒循環システム
21日前
マツダ株式会社
冷媒循環システム
21日前
マツダ株式会社
冷媒循環システム
21日前
マツダ株式会社
冷媒循環システム
21日前
マツダ株式会社
水噴射式エンジン
1か月前
マツダ株式会社
冷媒循環システム
21日前
マツダ株式会社
冷媒循環システム
21日前
マツダ株式会社
エンジンシステム
1か月前
マツダ株式会社
エンジンシステム
1か月前
マツダ株式会社
燃料改質システム
1か月前
マツダ株式会社
車両用リッド構造
1か月前
マツダ株式会社
冷媒循環システム
21日前
マツダ株式会社
冷媒循環システム
21日前
マツダ株式会社
二次電池の制御装置
今日
マツダ株式会社
モータ軸受システム
9日前
マツダ株式会社
車両の下部車体構造
1日前
マツダ株式会社
バッテリの制御装置
1日前
マツダ株式会社
車両の下部車体構造
5日前
マツダ株式会社
車両の下部車体構造
5日前
マツダ株式会社
車両の下部車体構造
5日前
マツダ株式会社
車両の下部車体構造
5日前
マツダ株式会社
車両の下部車体構造
9日前
マツダ株式会社
車両の下部車体構造
9日前
マツダ株式会社
モータ軸受システム
9日前
マツダ株式会社
車両の下部車体構造
9日前
マツダ株式会社
車両運転支援システム
19日前
続きを見る
他の特許を見る