TOP
|
特許
|
意匠
|
商標
特許ウォッチ
Twitter
他の特許を見る
公開番号
2025139630
公報種別
公開特許公報(A)
公開日
2025-09-29
出願番号
2024038569
出願日
2024-03-13
発明の名称
モータ軸受システム
出願人
マツダ株式会社
代理人
個人
,
個人
,
個人
,
個人
,
個人
主分類
H02K
7/08 20060101AFI20250919BHJP(電力の発電,変換,配電)
要約
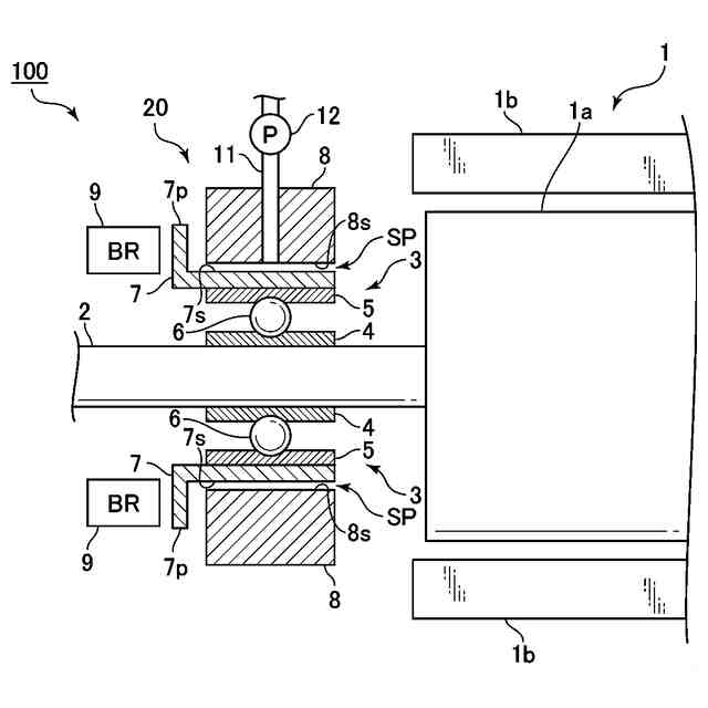
【課題】転がり軸受と滑り軸受との切り替えを簡易な構成にて行うことが可能なモータ軸受システムを提供する。
【解決手段】モータ軸受システム20は、複数の転動体6、外輪5及びスリーブ7を含み、モータ1の回転軸2を支持する軸受3と、回転軸の回転に伴って回転しないように構成された固定部材8と、スリーブを固定部材に固定するように構成されたブレーキ機構9とを有する。モータ軸受システムは、ブレーキ機構によるスリーブの固定時には、転がり軸受が実現される一方で、ブレーキ機構によるスリーブの解放時には、スリーブの外周面7sが固定部材の内周面8sから離間した状態で、軸受の全体が回転軸の回転に伴って固定部材に対して回転することで、滑り軸受が実現され、その結果、ブレーキ機構によるスリーブの固定と解放とを切り替えることで、転がり軸受と滑り軸受とを選択的に実現可能になっている。
【選択図】図1
特許請求の範囲
【請求項1】
モータ軸受システムであって、
モータの回転軸を支持するように当該回転軸の外周に取り付けられた軸受であって、前記回転軸の周方向に沿って設けられた複数の転動体と、前記複数の転動体の径方向外側に設けられ、当該複数の転動体を保持する外輪部と、を備える前記軸受と、
前記軸受の前記外輪部の外周面に沿って延在し且つ当該外周面との間に隙間を空けて設けられた内周面を備え、前記回転軸の回転に伴って回転しないように構成された固定部材と、
前記軸受の前記外輪部を前記固定部材に固定するように構成されたブレーキ機構と、
を有し、
前記モータ軸受システムは、
前記ブレーキ機構が前記外輪部を固定しているときには、前記軸受により転がり軸受が実現される一方で、前記ブレーキ機構が前記外輪部を解放しているときには、前記外輪部の前記外周面が前記固定部材の前記内周面から離間した状態にて、前記軸受の全体が前記回転軸の回転に伴って前記固定部材に対して回転することで、滑り軸受が実現されるようになっており、
前記ブレーキ機構による前記外輪部の固定と解放とを切り替えることで、前記転がり軸受と前記滑り軸受とを選択的に実現可能に構成されている、
ことを特徴とするモータ軸受システム。
続きを表示(約 1,200 文字)
【請求項2】
前記モータ軸受システムは、前記外輪部の前記外周面と前記固定部材の前記内周面との前記隙間に気体を供給するための気体通路と、前記気体通路上に設けられ、前記気体を圧送するポンプと、を更に有し、
前記ポンプは、少なくとも前記ブレーキ機構が前記外輪部を解放しているときに、前記気体を前記気体通路から前記隙間に供給することで、前記滑り軸受が実現されるようにする、
請求項1に記載のモータ軸受システム。
【請求項3】
前記気体通路を第1気体通路とすると、前記モータ軸受システムは、前記ポンプからの前記気体を前記ブレーキ機構に供給するための第2気体通路を更に有し、
前記ブレーキ機構は、前記第2気体通路を介して前記ポンプから供給された前記気体の圧力を利用して、前記外輪部を固定するように構成されている、
請求項2に記載のモータ軸受システム。
【請求項4】
前記外輪部は、軸方向における端部に、径方向外方に突出する突出部を備え、
前記ブレーキ機構は、前記外輪部の前記突出部に対して力を付与することで、前記外輪部を固定するように構成されている、
請求項1又は2に記載のモータ軸受システム。
【請求項5】
前記ブレーキ機構は、コイルを備え、当該コイルに通電することにより発生する電磁力を利用して、前記外輪部を固定するように構成されている、請求項1又は2に記載のモータ軸受システム。
【請求項6】
前記外輪部及び前記ブレーキ機構のそれぞれは、互いに締結する摩擦締結要素を備え、これら摩擦締結要素が締結することで、前記ブレーキ機構により前記外輪部が固定されるようになっている、請求項1又は2に記載のモータ軸受システム。
【請求項7】
前記モータ軸受システムは、前記モータの回転数を検出するモータ回転数センサと、前記モータ回転数センサにより検出された前記回転数に基づき、前記ブレーキ機構を制御するように構成された制御装置と、を更に有し、
前記制御装置は、前記回転数が所定値未満であるときには、前記外輪部を固定するように前記ブレーキ機構を制御し、前記回転数が前記所定値以上であるときには、前記外輪部を解放するように前記ブレーキ機構を制御するよう構成されている、請求項1又は2に記載のモータ軸受システム。
【請求項8】
前記モータ軸受システムは、前記外輪部の前記外周面と前記固定部材の前記内周面との前記隙間に気体を供給するための気体通路と、前記気体通路上に設けられ、前記気体を圧送するポンプと、を更に有し、
前記制御装置は、前記回転数が前記所定値以上であるときに、前記外輪部を解放するように前記ブレーキ機構を制御すると共に、前記気体を前記気体通路から前記隙間に供給するように前記ポンプを制御するよう構成されている、請求項7に記載のモータ軸受システム。
発明の詳細な説明
【技術分野】
【0001】
本発明は、転がり軸受と滑り軸受とを切り替え可能なモータ軸受システムに関する。
続きを表示(約 2,400 文字)
【背景技術】
【0002】
従来から、例えば車両の動力源(エンジンやモータ)の回転軸などを支持する軸受として、転がり軸受や滑り軸受が用いられている。転がり軸受は、低回転領域においてフリクションが小さい一方、滑り軸受は、低回転領域においてフリクションが大きい。他方で、転がり軸受は、転がり疲労により寿命が有限であるが、滑り軸受は、潤滑が適切な条件下では寿命が永久的である。
【0003】
ここで、転がり軸受及び滑り軸受の両方を有するようにシステムを構成して、上記のような各軸受の特性に応じて、適用する軸受を切り替える技術が提案されている。例えば、特許文献1には、ハウジングに収納された回転体を支持する滑り軸受と、滑り軸受に並列に配設され、回転体を支持する転がり軸受と、転がり軸受の内輪又は外輪を軸方向に移動させることで、回転体を支持するように機能させる軸受を切り替える移動機構と、を有するシステムが記載されている。特に、このシステムでは、移動装置の駆動により内輪又は外輪を軸方向に相対移動させることで転がり軸受のラジアル隙間を変化させ、転がり軸受のラジアル隙間が滑り軸受のラジアル隙間より大きい場合には滑り軸受のみを機能させる一方、転がり軸受のラジアル隙間が滑り軸受のラジアル隙間より小さい場合には転がり軸受のみを機能させている。
【先行技術文献】
【特許文献】
【0004】
特開2009-19728号公報
【発明の概要】
【発明が解決しようとする課題】
【0005】
しかしながら、上記した特許文献1に記載された技術では、別体として構成された滑り軸受及び転がり軸受の両方を用いると共に、転がり軸受の内輪又は外輪を軸方向に相対移動させることで転がり軸受と滑り軸受とを切り替えていたため、システムの構成が複雑化していた。
【0006】
本発明は、上述した従来技術の問題点を解決するためになされたものであり、転がり軸受と滑り軸受との切り替えを簡易な構成にて行うことが可能なモータ軸受システムを提供することを目的とする。
【課題を解決するための手段】
【0007】
上記の目的を達成するために、本発明は、モータ軸受システムであって、モータの回転軸を支持するように当該回転軸の外周に取り付けられた軸受であって、回転軸の周方向に沿って設けられた複数の転動体と、複数の転動体の径方向外側に設けられ、当該複数の転動体を保持する外輪部と、を備える軸受と、軸受の外輪部の外周面に沿って延在し且つ当該外周面との間に隙間を空けて設けられた内周面を備え、回転軸の回転に伴って回転しないように構成された固定部材と、軸受の外輪部を固定部材に固定するように構成されたブレーキ機構と、を有し、モータ軸受システムは、ブレーキ機構が外輪部を固定しているときには、軸受により転がり軸受が実現される一方で、ブレーキ機構が外輪部を解放しているときには、外輪部の外周面が固定部材の内周面から離間した状態にて、軸受の全体が回転軸の回転に伴って固定部材に対して回転することで、滑り軸受が実現されるようになっており、ブレーキ機構による外輪部の固定と解放とを切り替えることで、転がり軸受と滑り軸受とを選択的に実現可能に構成されている、ことを特徴とする。
【0008】
このように構成された本発明では、ブレーキ機構によって軸受の外輪部の固定と解放とを変更することにより、モータ軸受システムによる転がり軸受と滑り軸受との機能を切り替えることができる。そのため、本発明によれば、上記した特許文献1に記載された技術のように、別体として構成された滑り軸受及び転がり軸受を用いたり、転がり軸受の内輪又は外輪を軸方向に相対移動させたりしないので、転がり軸受と滑り軸受との切り替えを簡易な構成にて行うことができる。また、本発明によれば、滑り軸受を実現するために用いられる外輪部の外周面と固定部材の内周面とにおいて焼き付きなどのフェールがたとえ発生したとしても、軸受による転がり軸受の機能が担保されるので、モータの回転軸の回転を確保することができる。よって、的確なフェールセーフを実現することが可能となる。
【0009】
本発明において、好ましくは、モータ軸受システムは、外輪部の外周面と固定部材の内周面との隙間に気体を供給するための気体通路と、気体通路上に設けられ、気体を圧送するポンプと、を更に有し、ポンプは、少なくともブレーキ機構が外輪部を解放しているときに、気体を気体通路から隙間に供給することで、滑り軸受が実現されるようにする。
このように構成された本発明によれば、ポンプから供給される気体により、外輪部の外周面と固定部材の内周面との隙間に気体層を形成することで、滑り軸受としての気体軸受を効果的に実現可能となる。
【0010】
本発明において、好ましくは、気体通路を第1気体通路とすると、モータ軸受システムは、ポンプからの気体をブレーキ機構に供給するための第2気体通路を更に有し、ブレーキ機構は、第2気体通路を介してポンプから供給された気体の圧力を利用して、外輪部を固定するように構成されている。
このように構成された本発明によれば、ポンプから供給される気体の圧力を利用して、ブレーキ機構により外輪部を確実に固定することができる。また、本発明によれば、外輪部と固定部材との隙間における気体層の形成と、ブレーキ機構の駆動とにおいて、1つのポンプを併用するので、システムの構成の簡易化及び低コスト化を図ることが可能となる。
(【0011】以降は省略されています)
この特許をJ-PlatPat(特許庁公式サイト)で参照する
関連特許
マツダ株式会社
二次電池
12日前
マツダ株式会社
排気浄化装置
28日前
マツダ株式会社
排気浄化装置
28日前
マツダ株式会社
車両用駆動装置
20日前
マツダ株式会社
車両用駆動装置
20日前
マツダ株式会社
車両用駆動装置
20日前
マツダ株式会社
車両用駆動装置
20日前
マツダ株式会社
車両用駆動装置
20日前
マツダ株式会社
冷媒循環システム
14日前
マツダ株式会社
冷媒循環システム
14日前
マツダ株式会社
冷媒循環システム
14日前
マツダ株式会社
冷媒循環システム
14日前
マツダ株式会社
冷媒循環システム
14日前
マツダ株式会社
冷媒循環システム
14日前
マツダ株式会社
冷媒循環システム
14日前
マツダ株式会社
エンジンシステム
29日前
マツダ株式会社
エンジンシステム
29日前
マツダ株式会社
燃料改質システム
1か月前
マツダ株式会社
冷媒循環システム
14日前
マツダ株式会社
車両の下部車体構造
2日前
マツダ株式会社
車両の下部車体構造
2日前
マツダ株式会社
車両の下部車体構造
2日前
マツダ株式会社
モータ軸受システム
2日前
マツダ株式会社
モータ軸受システム
2日前
マツダ株式会社
車両運転支援システム
12日前
マツダ株式会社
ドライバ状態推定装置
1か月前
マツダ株式会社
ドライバ状態推定装置
1か月前
マツダ株式会社
ドライバ状態推定装置
1か月前
マツダ株式会社
ドライバ状態推定装置
1か月前
マツダ株式会社
車両運転支援システム
2日前
マツダ株式会社
車両運転支援システム
2日前
マツダ株式会社
車両運転支援システム
12日前
マツダ株式会社
ドライバ状態推定装置
1か月前
マツダ株式会社
樹脂発泡体及びシート
13日前
マツダ株式会社
エンジンオイル冷却構造
1か月前
マツダ株式会社
車両の燃料改質システム
1か月前
続きを見る
他の特許を見る