TOP
|
特許
|
意匠
|
商標
特許ウォッチ
Twitter
他の特許を見る
公開番号
2025117708
公報種別
公開特許公報(A)
公開日
2025-08-13
出願番号
2024012577
出願日
2024-01-31
発明の名称
抽出装置および抽出方法
出願人
日本精工株式会社
代理人
弁理士法人酒井国際特許事務所
主分類
G01N
1/04 20060101AFI20250805BHJP(測定;試験)
要約
【課題】対象物の内容物を適切に抽出することができる抽出装置を提供すること。
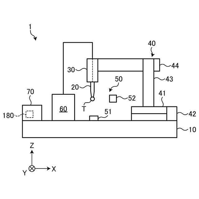
【解決手段】抽出装置1は、管状のキャピラリ20と、キャピラリ20の内側を負圧にし、キャピラリ20の先端Eから対象物Tの内容物Cを吸引する吸引装置60と、を備える。
【選択図】図1
特許請求の範囲
【請求項1】
管状のキャピラリと、
前記キャピラリの内側を負圧にし、前記キャピラリの先端から対象物の内容物を吸引する吸引装置と、を備える、
抽出装置。
続きを表示(約 1,300 文字)
【請求項2】
前記吸引装置は、
吸引ポンプと、
前記吸引ポンプと前記キャピラリとを接続する第1配管と、
前記第1配管に配置される中空のタンクと、
前記第1配管における前記タンクと前記キャピラリの間に配置され、前記第1配管を開閉する第1バルブと、をさらに備え、
前記第1バルブを閉状態にして前記吸引ポンプによって前記タンク内の圧力を負圧にした後に、前記第1バルブを開状態にして前記吸引ポンプによって前記キャピラリの内側の圧力を負圧にする、
請求項1に記載の抽出装置。
【請求項3】
前記吸引装置は、
加圧ポンプと、
前記加圧ポンプと前記キャピラリとを接続する第2配管と、
前記第2配管に配置され、前記第2配管を開閉する第2バルブと、をさらに備え、
前記第1バルブを閉状態かつ前記第2バルブを開状態にして前記加圧ポンプによって前記キャピラリの内側を加圧した後に、
前記第1バルブを開状態かつ前記第2バルブを閉状態にして前記吸引ポンプによって前記キャピラリの内側を負圧にする、
請求項2に記載の抽出装置。
【請求項4】
前記吸引装置は、
前記第1配管における前記吸引ポンプと前記タンクとの間に第1端が接続され、かつ、第2端が大気に開放される第3配管と、
前記第3配管に配置され、前記第3配管を開閉する第3バルブと、をさらに備え、
前記第1バルブおよび前記第3バルブを開状態にして前記吸引ポンプによって前記キャピラリの内側を負圧にする、
請求項2に記載の抽出装置。
【請求項5】
前記吸引ポンプは、真空ポンプである、
請求項2に記載の抽出装置。
【請求項6】
前記対象物は、細胞塊である、
請求項1に記載の抽出装置。
【請求項7】
前記キャピラリを移動させる移動装置をさらに備え、
前記移動装置は、前記キャピラリの先端が前記対象物の内側に位置するように前記キャピラリを移動させ、
前記吸引装置は、前記キャピラリの先端が前記対象物の内側に位置する状態で前記内容物を吸引する、
請求項1に記載の抽出装置。
【請求項8】
前記吸引装置によって前記キャピラリの内側に吸引された前記内容物の量に基づいて、前記対象物の硬度を導出する硬度導出装置をさらに備える、
請求項1に記載の抽出装置。
【請求項9】
前記キャピラリの先端部は、前記キャピラリの基端側から先端側に向かうほど外径が小さくなる、
請求項1に記載の抽出装置。
【請求項10】
管状のキャピラリを移動させて前記キャピラリの先端を対象物の内側に位置させる工程と、
前記キャピラリの先端が前記対象物の内側に位置する状態で吸引装置によって前記キャピラリの内側を負圧にし、前記キャピラリの先端から前記対象物の内容物を吸引する工程と、を含む、
抽出方法。
発明の詳細な説明
【技術分野】
【0001】
本開示は、抽出装置および抽出方法に関する。
続きを表示(約 1,300 文字)
【背景技術】
【0002】
特許文献1には、電極と活物質との接触を好適に維持することができるマニピュレーションシステムが開示されている。特許文献1のマニピュレーションシステムは、活物質(対象物)を吸引して保持するキャピラリを含む。キャピラリによって、対象物の位置を固定することができ、対象物が動くことを抑制できる。
【先行技術文献】
【特許文献】
【0003】
特開2021-084209号公報
【発明の概要】
【発明が解決しようとする課題】
【0004】
特許文献1のような対象物を操作するシステムにおいては、対象物が細胞塊などの微小物である場合がある。細胞塊は複数種類の細胞にて構成されており、細胞塊から一部の細胞を抽出し分析することで、細胞塊の挙動をより正確に把握することができる。よって、対象物を操作するシステムにおいては、対象物を保持した状態で対象物の評価を行うだけでなく、対象物の内容物を抽出して分析したいとの要望がある。
【0005】
本開示は、対象物の内容物を適切に抽出することができる抽出装置を提供することを目的とする。
【課題を解決するための手段】
【0006】
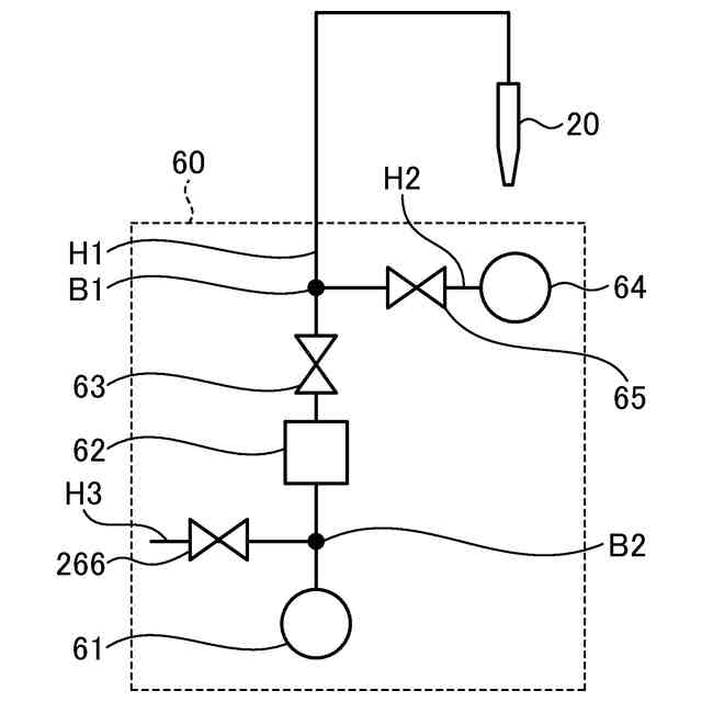
本開示の一態様に係る抽出装置は、管状のキャピラリと、前記キャピラリの内側を負圧にし、前記キャピラリの先端から対象物の内容物を吸引する吸引装置と、を備える。
【0007】
これによれば、対象物の内容物は、吸引装置によって吸引され、キャピラリの内側に保持される。よって、抽出装置は、対象物の内容物を適切に抽出することができる。
【0008】
また、本開示の一態様に係る抽出装置において、前記吸引装置は、吸引ポンプと、前記吸引ポンプと前記キャピラリとを接続する第1配管と、前記第1配管に配置される中空のタンクと、前記第1配管における前記タンクと前記キャピラリの間に配置され、前記第1配管を開閉する第1バルブと、をさらに備え、前記第1バルブを閉状態にして前記吸引ポンプによって前記タンク内の圧力を負圧にした後に、前記第1バルブを開状態にして前記吸引ポンプによって前記キャピラリの内側の圧力を負圧にする。
【0009】
これによれば、内容物の吸引が開始されるときに、キャピラリの内側にはタンク内の負圧が早期に作用する。よって、吸引装置がタンクを備えない場合と比べて、対象物に作用する吸引力の安定化を図ることができる。
【0010】
また、本開示の一態様に係る抽出装置において、前記吸引装置は、加圧ポンプと、前記加圧ポンプと前記キャピラリとを接続する第2配管と、前記第2配管に配置され、前記第2配管を開閉する第2バルブと、をさらに備え、前記第1バルブを閉状態かつ前記第2バルブを開状態にして前記加圧ポンプによって前記キャピラリの内側を加圧した後に、前記第1バルブを開状態かつ前記第2バルブを閉状態にして前記吸引ポンプによって前記キャピラリの内側を負圧にする。
(【0011】以降は省略されています)
この特許をJ-PlatPat(特許庁公式サイト)で参照する
関連特許
日本精工株式会社
保持器
1か月前
日本精工株式会社
分注装置
2か月前
日本精工株式会社
締結用工具
1か月前
日本精工株式会社
ボールねじ
1か月前
日本精工株式会社
遊星歯車装置
1か月前
日本精工株式会社
リニアガイド
1か月前
日本精工株式会社
ボールねじ装置
5日前
日本精工株式会社
円すいころ軸受
4日前
日本精工株式会社
転がり案内装置
12日前
日本精工株式会社
シール付き玉軸受
1か月前
日本精工株式会社
密封型転がり軸受
5日前
日本精工株式会社
密封型転がり軸受
5日前
日本精工株式会社
密封型転がり軸受
5日前
日本精工株式会社
密封型転がり軸受
5日前
日本精工株式会社
密封型転がり軸受
5日前
日本精工株式会社
密封型転がり軸受
5日前
日本精工株式会社
アンギュラ玉軸受
1か月前
日本精工株式会社
密封型転がり軸受
5日前
日本精工株式会社
突入電流抑止回路
1か月前
日本精工株式会社
ハブユニット軸受
1か月前
日本精工株式会社
逆入力遮断クラッチ
1か月前
日本精工株式会社
磁歪式トルクセンサ
14日前
日本精工株式会社
モータ制御システム
13日前
日本精工株式会社
逆入力遮断クラッチ
1か月前
日本精工株式会社
磁歪式トルクセンサ
1か月前
日本精工株式会社
直動案内装置の組立方法
18日前
日本精工株式会社
アクチュエータシステム
20日前
日本精工株式会社
ラジアルころ軸受用保持器
4日前
日本精工株式会社
絶縁転がり軸受の製造方法
1か月前
日本精工株式会社
ボールねじ部品の製造方法
1か月前
日本精工株式会社
潤滑機能付き転がり軸受装置
1か月前
日本精工株式会社
直動案内装置及びその製造方法
18日前
日本精工株式会社
回路放熱機構および回路放熱方法
1か月前
日本精工株式会社
ころ軸受及びころ軸受の設計方法
18日前
日本精工株式会社
片持ち回転ローラ配置型円形車輪
4日前
協同油脂株式会社
グリース組成物
20日前
続きを見る
他の特許を見る