TOP
|
特許
|
意匠
|
商標
特許ウォッチ
Twitter
他の特許を見る
公開番号
2025137034
公報種別
公開特許公報(A)
公開日
2025-09-19
出願番号
2024036003
出願日
2024-03-08
発明の名称
潤滑機能付き転がり軸受装置
出願人
日本精工株式会社
代理人
弁理士法人栄光事務所
主分類
F16C
33/66 20060101AFI20250911BHJP(機械要素または単位;機械または装置の効果的機能を生じ維持するための一般的手段)
要約
【課題】給油量を抑えて軸受の発熱量及びトルクの低減が可能で、且つコストダウンが可能となる潤滑機能付き転がり軸受装置を提供する。
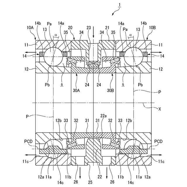
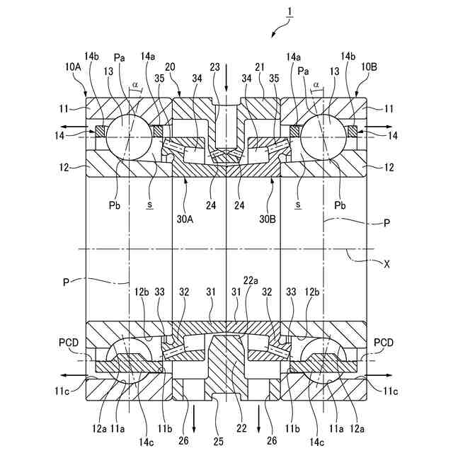
【解決手段】潤滑機能付き転がり軸受装置1は、一対のアンギュラ玉軸受10A,10Bと、外輪間座20と、一対の内輪間座30A,30Bと、を有する。外輪間座20は、内径側に突出し、内部を潤滑剤が流通可能なノズル部22を有する。各内輪間座30A,30Bは、ノズル部22の先端部の内周面と対向する小径部31と、ノズル部22の先端部の軸方向側面と対向する大径部32と、を有して段付き形状に形成される。大径部32は、環状のスクープ34と、スクープ34と各アンギュラ玉軸受10A,10Bの軸受空間とを連通する吐出ノズル35と、を有する。外輪間座20は、ノズル部22の内部を径方向に延びる径方向流路23と、径方向流路23からノズル部22の先端部の軸方向両側面にそれぞれ開口する一対の供給ノズル24,24と、を有する。
【選択図】図1
特許請求の範囲
【請求項1】
内周面に外輪軌道溝を有する外輪と、外周面に内輪軌道溝を有する内輪と、前記外輪軌道溝と前記内輪軌道溝との間に転動自在に設けられた複数の玉と、を備え、内輪回転で使用される一対のアンギュラ玉軸受と、
前記一対のアンギュラ玉軸受の前記各外輪に隣接して配置される外輪間座と、
前記一対のアンギュラ玉軸受の前記各内輪に隣接してそれぞれ配置される一対の内輪間座と、
を備え、前記外輪間座と前記各内輪間座が協働して、前記各アンギュラ玉軸受に潤滑剤を供給可能な潤滑機能付き転がり軸受装置であって、
前記外輪間座は、内径側に突出し、内部を潤滑剤が流通可能なノズル部を有し、
前記各内輪間座は、前記ノズル部の先端部の内周面と対向する小径部と、前記ノズル部の先端部の軸方向側面と対向する大径部と、を有して段付き形状に形成され、
前記大径部は、前記ノズル部の先端部と対向する軸方向側面に開口する環状のスクープと、前記スクープと前記各アンギュラ玉軸受の軸受空間とを連通する吐出ノズルと、を有し、
前記外輪間座は、前記ノズル部の内部を径方向に延びる径方向流路と、前記径方向流路から前記一対の内輪間座の前記各スクープと対向する前記ノズル部の先端部の軸方向両側面にそれぞれ開口する一対の供給ノズルと、を有する、
潤滑機能付き転がり軸受装置。
続きを表示(約 890 文字)
【請求項2】
前記各アンギュラ玉軸受の内輪は、前記内輪軌道溝に対して前記内輪間座側の外周面にカウンターボアを有し、
前記各内輪間座は、前記各アンギュラ玉軸受の前記内輪と当接する軸方向端面よりも前記各アンギュラ玉軸受側に突出し、前記吐出ノズルの出口が形成される、軸方向突出部を有する、
請求項1に記載の潤滑機能付き転がり軸受装置。
【請求項3】
前記外輪間座の外周面には、前記ノズル部の前記径方向流路と連続する環状溝が形成される、
請求項1に記載の潤滑機能付き転がり軸受装置。
【請求項4】
前記外輪間座には、前記ノズル部から軸方向に離れた位置に、径方向に貫通するスリットが形成される、
請求項1に記載の潤滑機能付き転がり軸受装置。
【請求項5】
内周面に外輪軌道溝を有する外輪と、外周面に内輪軌道溝を有する内輪と、前記外輪軌道溝と前記内輪軌道溝との間に転動自在に設けられた複数の玉と、を備え、内輪回転で使用されるアンギュラ玉軸受と、
前記外輪に隣接して配置される外輪間座と、
前記内輪に隣接して配置される内輪間座と、
を備え、前記外輪間座と前記内輪間座が協働して、前記アンギュラ玉軸受に潤滑剤を供給可能な潤滑機能付き転がり軸受装置であって、
前記外輪間座は、内径側に突出し、内部を潤滑剤が流通可能なノズル部を有し、
前記内輪間座は、前記ノズル部の先端部の内周面と対向する小径部と、前記ノズル部の先端部の軸方向側面と対向する大径部と、を有して段付き形状に形成され、
前記大径部は、前記ノズル部の先端部と対向する軸方向側面に開口する環状のスクープと、前記スクープと前記アンギュラ玉軸受の軸受空間とを連通する吐出ノズルと、を有し、
前記外輪間座は、前記ノズル部の内部を径方向に延びる径方向流路と、前記径方向流路から前記スクープと対向する前記ノズル部の先端部の軸方向側面に開口する供給ノズルと、を有する、
潤滑機能付き転がり軸受装置。
発明の詳細な説明
【技術分野】
【0001】
本発明は、高速回転下で使用されるアンギュラ玉軸受において、アンギュラ玉軸受に加工を施さずにアンダーレース潤滑が可能な給排油機能を付与し、給油量最適化による低発熱・低トルクを実現する外輪間座及び内輪間座を持った潤滑機能付き転がり軸受装置に関する。
続きを表示(約 2,300 文字)
【背景技術】
【0002】
高速回転する軸受に潤滑油を供給する手法としては、ハウジングを通過して外輪間座から直接軸受内部を狙って給油する強制潤滑手法がある。この手法では、内輪回転の場合、内輪外径面の周速により発生するエアカーテン(空気の壁)を破るほどの給油速度が必要になるため、軸受温度のコントロールに必要な給油量に対して、給油量が過多になる傾向がある。さらに、転動体公転速度と給油速度に差があることで撹拌抵抗が高まる。
これら2つの要因により、軸受の回転トルクが高くなり設備の効率が低下するだけでなく、必要以上の油を供給することから付帯設備を大型化する必要が生まれる。
【0003】
また、内輪回転の場合、軸受の内輪に内輪軌道面に開口する給油路を設けて、内輪の内周面から軸受内部に潤滑油を供給するアンダーレース潤滑方式がある(例えば、特許文献1、2参照)。
【先行技術文献】
【特許文献】
【0004】
特開2017-110776号公報
特開2006-283984号公報
【発明の概要】
【発明が解決しようとする課題】
【0005】
しかしながら、特許文献1,2のようなアンダーレース潤滑方式で軸受の内輪に給油路を設けて実現する場合には、軸受のみならず、シャフトにも相応の加工が必要となることがあり、さらには、シャフト端面側からの給油が必要な場合が多く、設備構造上適用できない場合がある。
【0006】
本発明は、このような課題を解決するためになされたものであり、その目的は、アンギュラ玉軸受に加工を施さず、強制潤滑と同様のハウジング設計のまま、アンダーレース潤滑機能を付与することが可能となり、給油量を抑えて軸受の発熱量及びトルクの低減が可能で、且つコストダウンが可能となる潤滑機能付き転がり軸受装置を提供することにある。
【課題を解決するための手段】
【0007】
上記課題を解決するために、本発明は下記に示す潤滑機能付き転がり軸受装置を提供する。
(1) 内周面に外輪軌道溝を有する外輪と、外周面に内輪軌道溝を有する内輪と、前記外輪軌道溝と前記内輪軌道溝との間に転動自在に設けられた複数の玉と、を備え、内輪回転で使用される一対のアンギュラ玉軸受と、
前記一対のアンギュラ玉軸受の前記各外輪に隣接して配置される外輪間座と、
前記一対のアンギュラ玉軸受の前記各内輪に隣接してそれぞれ配置される一対の内輪間座と、
を備え、前記外輪間座と前記各内輪間座が協働して、前記各アンギュラ玉軸受に潤滑剤を供給可能な潤滑機能付き転がり軸受装置であって、
前記外輪間座は、内径側に突出し、内部を潤滑剤が流通可能なノズル部を有し、
前記各内輪間座は、前記ノズル部の先端部の内周面と対向する小径部と、前記ノズル部の先端部の軸方向側面と対向する大径部と、を有して段付き形状に形成され、
前記大径部は、前記ノズル部の先端部と対向する軸方向側面に開口する環状のスクープと、前記スクープと前記各アンギュラ玉軸受の軸受空間とを連通する吐出ノズルと、を有し、
前記外輪間座は、前記ノズル部の内部を径方向に延びる径方向流路と、前記径方向流路から前記一対の内輪間座の前記各スクープと対向する前記ノズル部の先端部の軸方向両側面にそれぞれ開口する一対の供給ノズルと、を有する、
潤滑機能付き転がり軸受装置。
(2) 内周面に外輪軌道溝を有する外輪と、外周面に内輪軌道溝を有する内輪と、前記外輪軌道溝と前記内輪軌道溝との間に転動自在に設けられた複数の玉と、を備え、内輪回転で使用されるアンギュラ玉軸受と、
前記外輪に隣接して配置される外輪間座と、
前記内輪に隣接して配置される内輪間座と、
を備え、前記外輪間座と前記内輪間座が協働して、前記アンギュラ玉軸受に潤滑剤を供給可能な潤滑機能付き転がり軸受装置であって、
前記外輪間座は、内径側に突出し、内部を潤滑剤が流通可能なノズル部を有し、
前記内輪間座は、前記ノズル部の先端部の内周面と対向する小径部と、前記ノズル部の先端部の軸方向側面と対向する大径部と、を有して段付き形状に形成され、
前記大径部は、前記ノズル部の先端部と対向する軸方向側面に開口する環状のスクープと、前記スクープと前記アンギュラ玉軸受の軸受空間とを連通する吐出ノズルと、を有し、
前記外輪間座は、前記ノズル部の内部を径方向に延びる径方向流路と、前記径方向流路から前記スクープと対向する前記ノズル部の先端部の軸方向側面に開口する供給ノズルと、を有する、
潤滑機能付き転がり軸受装置。
【発明の効果】
【0008】
本発明によれば、アンギュラ玉軸受に加工を施さずに強制潤滑と同様のハウジング設計のまま、アンダーレース潤滑機能を付与することが可能となり、給油量を抑えて軸受の発熱量及びトルクの低減が可能で、且つコストダウンが可能となる。
【図面の簡単な説明】
【0009】
図1は、本発明の一実施形態に係る潤滑機能付き転がり軸受装置の断面図である。
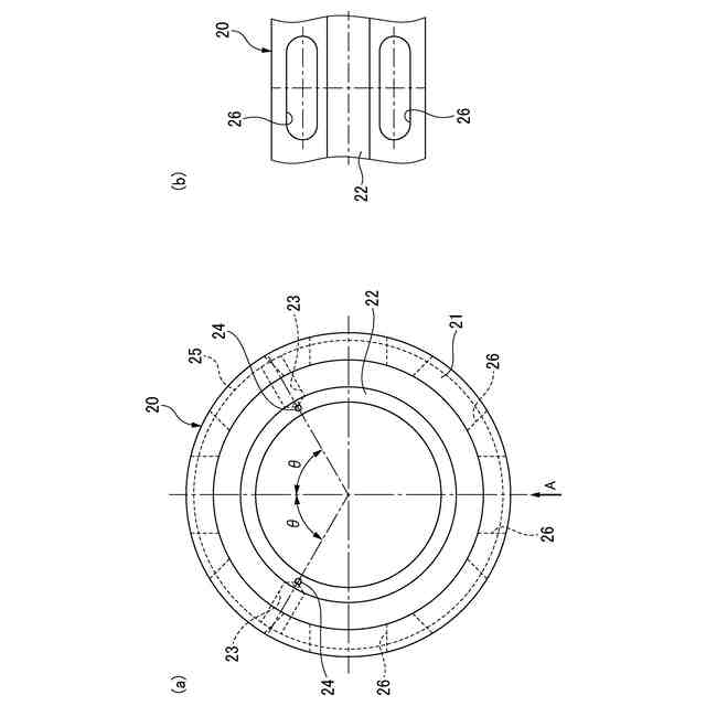
図2の(a)は、外輪間座の側面図であり、(b)は、(a)の矢印Aから見た要部拡大図である。
【発明を実施するための形態】
【0010】
以下、図面を参照しながら、本発明の一実施形態に係る潤滑機能付き転がり軸受装置について詳細に説明する。
(【0011】以降は省略されています)
この特許をJ-PlatPat(特許庁公式サイト)で参照する
関連特許
日本精工株式会社
保持器
1か月前
日本精工株式会社
ころ軸受
1か月前
日本精工株式会社
駆動装置
1か月前
日本精工株式会社
分注装置
1か月前
日本精工株式会社
キャスター
2か月前
日本精工株式会社
締結用工具
1か月前
日本精工株式会社
ボールねじ
2か月前
日本精工株式会社
ボールねじ
1か月前
日本精工株式会社
ボールねじ
12日前
日本精工株式会社
遊星歯車装置
29日前
日本精工株式会社
制振システム
1か月前
日本精工株式会社
風力発電装置
2か月前
日本精工株式会社
送りねじ装置
1か月前
日本精工株式会社
リニアガイド
28日前
日本精工株式会社
風力発電装置
2か月前
日本精工株式会社
ボールねじ装置
1か月前
日本精工株式会社
ボールねじ装置
1か月前
日本精工株式会社
ボールねじ装置
1か月前
日本精工株式会社
ボールねじ装置
1か月前
日本精工株式会社
ボールねじ装置
1か月前
日本精工株式会社
駆動輪及び台車
2か月前
日本精工株式会社
駆動輪及び台車
3か月前
日本精工株式会社
駆動輪及び台車
2か月前
日本精工株式会社
ボールねじ装置
1か月前
日本精工株式会社
突入電流抑止回路
26日前
日本精工株式会社
シール付き玉軸受
1か月前
日本精工株式会社
ハブユニット軸受
22日前
日本精工株式会社
ボールジョイント
2か月前
日本精工株式会社
アンギュラ玉軸受
28日前
日本精工株式会社
リニアガイド装置
1か月前
日本精工株式会社
トルク制御クラッチ
1か月前
日本精工株式会社
逆入力遮断クラッチ
1か月前
日本精工株式会社
磁歪式トルクセンサ
12日前
日本精工株式会社
逆入力遮断クラッチ
1か月前
日本精工株式会社
搬送装置及び駆動輪
1か月前
日本精工株式会社
電動摩擦クラッチ装置
1か月前
続きを見る
他の特許を見る