TOP
|
特許
|
意匠
|
商標
特許ウォッチ
Twitter
他の特許を見る
公開番号
2025135829
公報種別
公開特許公報(A)
公開日
2025-09-19
出願番号
2024033827
出願日
2024-03-06
発明の名称
ボールねじ
出願人
日本精工株式会社
代理人
弁理士法人栄光事務所
主分類
F16H
25/24 20060101AFI20250911BHJP(機械要素または単位;機械または装置の効果的機能を生じ維持するための一般的手段)
要約
【課題】シールの端面に付着したグリースの堆積や飛散をより効率的に防止するとともに、このグリースを有効的に利用可能なボールねじを提供すること。
【解決手段】ボールねじ10は、ねじ軸20と、ナット30と、複数のボール26と、シール40とを備える。ねじ軸20の外周面とナット30の内周面との間を封止するシール40は、ねじ軸20と対向する内周面40dを有し、軸方向外側端面である側面40aが径方向外側から径方向内側に向けて軸方向内側に傾く傾斜状に形成される。
【選択図】図1
特許請求の範囲
【請求項1】
外周面に螺旋状の外周ねじ溝が形成されたねじ軸と、
内周面に螺旋状の内周ねじ溝が形成されたナットと、
前記ねじ軸の外周ねじ溝と前記ナットの内周ねじ溝とで形成されるボール転走部上を転動する複数のボールと、
前記ナットの少なくとも軸方向一端部に設けられ、前記ねじ軸の外周面と前記ナットの内周面との間を封止するシールと、
を備えるボールねじであって、
前記シールは、
前記ねじ軸と対向する内周面を有し、軸方向外側端面が径方向外側から径方向内側に向けて軸方向内側に傾く傾斜状に形成される、
ボールねじ。
続きを表示(約 320 文字)
【請求項2】
請求項1に記載のボールねじであって、
前記シールは、
前記軸方向外側端面から前記内周面まで貫通する孔部を有する、
ボールねじ。
【請求項3】
請求項2に記載のボールねじであって、
前記孔部は、前記軸方向外側端面における径方向外側縁部近傍に設けられる、
ボールねじ。
【請求項4】
請求項1に記載のボールねじであって、
前記シールは、
全周に亘って前記軸方向外側端面から軸方向に延びる環状のスリットと、
当該シールの外周面から前記内周面まで貫通して、前記スリットと連通する貫通孔と、を有する、
ボールねじ。
発明の詳細な説明
【技術分野】
【0001】
本発明は、ボールねじに関する。
続きを表示(約 2,100 文字)
【背景技術】
【0002】
ボールねじは、外周面に螺旋状の外周ねじ溝が形成されたねじ軸と、内周面に螺旋状の内周ねじ溝が形成されたナットと、外周ねじ溝と内周ねじ溝とで形成されるボール転走部に転動自在に配置された複数のボールと、を備え、ねじ軸とナットとの相対回転運動を直線運動に変換する。ボールねじに封入されている潤滑剤が漏れたり、外部から塵埃や摩耗粉などの異物がナット内に侵入したりすると、円滑な運動が阻害される虞がある。一般的に、ボールねじに封入された潤滑剤の漏れを防止すると共に、外部からの異物の侵入を防止するため、ねじ軸とナットとの間の隙間を封止する封止機構が知られている。
【0003】
特許文献1には、ナットの軸方向外側に露出する筒状部の内周面に、ねじ軸に対して空間を形成するようにグリース溜り部が設けられており、グリース溜り部が、筒状部の外周面に開口し、シールの外周面に形成されたすり割りと連通するボールねじが開示されている。特許文献1のボールねじでは、ナット内からねじ軸の表面に付着して外部に出ようとするグリース(余分なグリース)が、筒状部に掻き取られると共に、筒状部の反作用により、グリース溜り部を経てナットから排出され、すり割りに沿って誘導されグリースに遠心力が作用しないシールの外周面に堆積する。このため、グリースは、遠心力により周囲に飛散することがなく、この飛散とは関わりのないねじ軸の下方に自重で滴るように落下することになり、ナット内の余分なグリースの堆積や飛散が防止されることになる。
【先行技術文献】
【特許文献】
【0004】
特許6252136号公報
【発明の概要】
【発明が解決しようとする課題】
【0005】
しかしながら、特許文献1に記載のボールねじによると、グリースを貯蓄するためのシールの構造が複雑化してしまい、製造コストが嵩む傾向にあった。また、シールがナットから露出していることもあり、シールの外周面や、ねじ軸方向と直交する面であるシールの外側端面にグリースが付着・堆積する場合もあり、結果的にグリースを有効に利用できないなどのおそれがあった。
【0006】
本発明は、上述した状況を鑑みてなされたものであり、その目的は、シールの端面に付着したグリースの堆積や飛散をより効率的に防止するとともに、このグリースを有効的に利用可能なボールねじを提供することにある。
【課題を解決するための手段】
【0007】
本発明の上記目的は、ボールねじに係る下記の構成により達成される。
[1] 外周面に螺旋状の外周ねじ溝が形成されたねじ軸と、
内周面に螺旋状の内周ねじ溝が形成されたナットと、
前記ねじ軸の外周ねじ溝と前記ナットの内周ねじ溝とで形成されるボール転走部上を転動する複数のボールと、
前記ナットの少なくとも軸方向一端部に設けられ、前記ねじ軸の外周面と前記ナットの内周面との間を封止するシールと、
を備えるボールねじであって、
前記シールは、
前記ねじ軸と対向する内周面を有し、軸方向外側端面が径方向外側から径方向内側に向けて軸方向内側に傾く傾斜状に形成される、
ボールねじ。
【発明の効果】
【0008】
本発明によれば、シールの端面に付着したグリースの堆積や飛散をより効率的に防止するとともに、このグリースを有効的に利用可能なボールねじを提供することができる。
【図面の簡単な説明】
【0009】
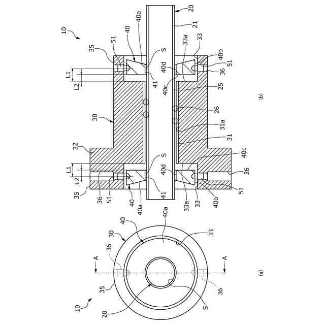
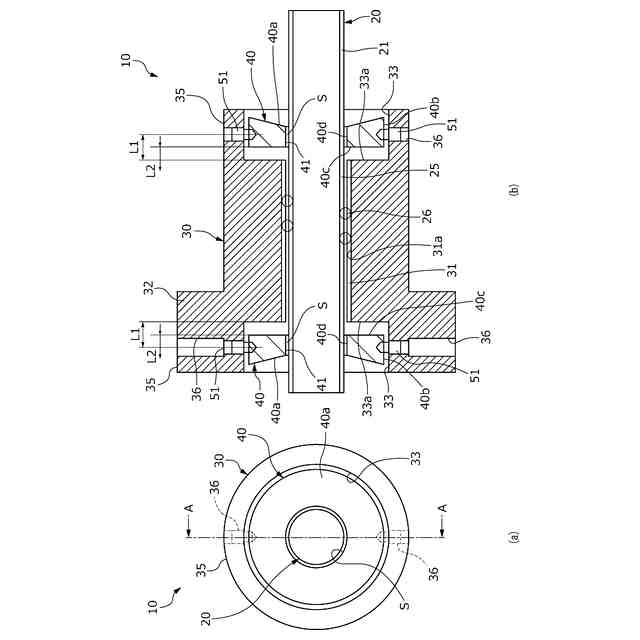
図1(a)は本発明の第1実施形態に係るボールねじの正面図であり、図1(b)は図1(a)のA-A断面図である。
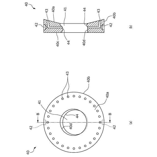
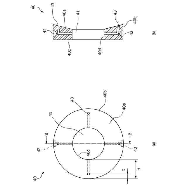
図2(a)は図1(a),(b)に示すシールの正面図であり、図2(b)は図2(a)のB-B断面図である。
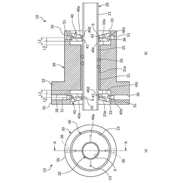
図3(a)は本発明の第2実施形態に係るボールねじの正面図であり、図3(b)は図3(a)のA-A断面図である。
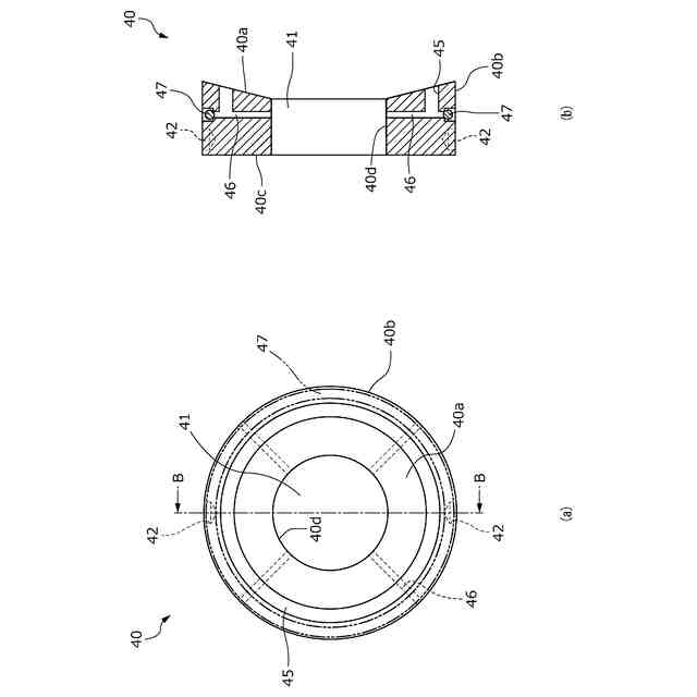
図4(a)は図3(a),(b)に示すシールの正面図であり、図4(b)は図4(a)のB-B断面図である。
図5(a)は本発明の第3実施形態に係るボールねじにおけるシールの正面図であり、図5(b)は図5(a)のB-B断面図である。
図6(a)は本発明の第4実施形態に係るボールねじにおけるシールの正面図であり、図6(b)は図6(a)のB-B断面図である。
【発明を実施するための形態】
【0010】
(第1実施形態)
以下、本発明の第1実施形態に係るボールねじを図面に基づいて詳細に説明する。
図1(a),(b)に示すように、本実施形態のボールねじ10は、外周面に螺旋状の外周ねじ溝21を有して軸方向に延びるねじ軸20と、該ねじ軸20の外周ねじ溝21に対応する螺旋状の内周ねじ溝31を内周面に有するナット30と、ナット30の軸方向端部に配設されてねじ軸20とナット30の隙間を封止するシール40と、を備える。
(【0011】以降は省略されています)
この特許をJ-PlatPat(特許庁公式サイト)で参照する
関連特許
日本精工株式会社
保持器
1か月前
日本精工株式会社
分注装置
1か月前
日本精工株式会社
締結用工具
1か月前
日本精工株式会社
ボールねじ
13日前
日本精工株式会社
遊星歯車装置
1か月前
日本精工株式会社
リニアガイド
29日前
日本精工株式会社
リニアガイド装置
1か月前
日本精工株式会社
ハブユニット軸受
23日前
日本精工株式会社
シール付き玉軸受
1か月前
日本精工株式会社
アンギュラ玉軸受
29日前
日本精工株式会社
突入電流抑止回路
27日前
日本精工株式会社
逆入力遮断クラッチ
1か月前
日本精工株式会社
磁歪式トルクセンサ
13日前
日本精工株式会社
逆入力遮断クラッチ
1か月前
日本精工株式会社
アクチュエータシステム
1日前
日本精工株式会社
ボールねじ部品の製造方法
21日前
日本精工株式会社
絶縁転がり軸受の製造方法
1か月前
日本精工株式会社
潤滑機能付き転がり軸受装置
13日前
日本精工株式会社
回路放熱機構および回路放熱方法
13日前
日本精工株式会社
モータ装置、およびモータ制御方法
1か月前
協同油脂株式会社
グリース組成物
1日前
日本精工株式会社
モータ制御装置およびモータ制御方法
13日前
日本精工株式会社
転がり軸受及び転がり軸受の製造方法
27日前
日本精工株式会社
含油部材付歯車、直動アクチュエータ
3日前
日本精工株式会社
ボールねじの設計方法およびボールねじ
29日前
日本精工株式会社
入力異常検出装置および入力異常検出方法
13日前
日本精工株式会社
細胞培養成形装置および細胞培養片の製造方法
13日前
日本精工株式会社
アクチュエータおよびアクチュエータの製造方法
1か月前
日本精工株式会社
ボールねじ用ナットの製造方法、及びボールねじ
1か月前
日本精工株式会社
グリース組成物及びグリース組成物を充填した転動装置
24日前
日本精工株式会社
モデル生成プログラム、モデル生成方法、細胞選別装置および学習済みモデル
今日
個人
流路体
8か月前
個人
鍋虫ねじ
1か月前
個人
紛体用仕切弁
1か月前
個人
ホース保持具
5か月前
個人
回転伝達機構
1か月前
続きを見る
他の特許を見る