TOP
|
特許
|
意匠
|
商標
特許ウォッチ
Twitter
他の特許を見る
公開番号
2025157863
公報種別
公開特許公報(A)
公開日
2025-10-16
出願番号
2024060166
出願日
2024-04-03
発明の名称
密封型転がり軸受
出願人
日本精工株式会社
代理人
弁理士法人栄光事務所
主分類
F16C
33/78 20060101AFI20251008BHJP(機械要素または単位;機械または装置の効果的機能を生じ維持するための一般的手段)
要約
【課題】高温、高荷重等の過酷な環境の中で継続的に使用した場合であっても、シール体が軸受から脱落したり、供回りしたりすることを、簡素且つ低コストな構成で防止する密封型転がり軸受を提供する。
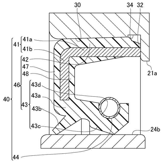
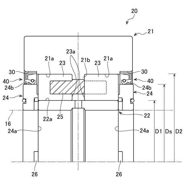
【解決手段】密封型転がり軸受は、内径部に外輪軌道面が形成された外輪と、外径部に内輪軌道面が形成された内輪と、外輪軌道面と内輪軌道面との間に配置される複数の転動体と、外輪の内径部の外側端部に設けられたシールホルダ嵌合面に取付けられることによって外輪及び内輪の間に形成される隙間をシールするシール体と、を備える。シール体は、円筒部、及び前記円筒部の外端部から前記内輪に向けて屈曲した円輪部を有する断面L字状の芯金と、芯金に取付けられてシールホルダ嵌合面に密着するシール固定部、及びシールリップ部を有する弾性材料からなるシール部材と、を備え、シールホルダ嵌合面は、軸方向内側に向かって拡径する傾斜を有する。
【選択図】図3
特許請求の範囲
【請求項1】
内径部に外輪軌道面が形成された外輪と、
外径部に内輪軌道面が形成された内輪と、
前記外輪軌道面と前記内輪軌道面との間に配置される複数の転動体と、
前記外輪の内径部の外側端部に設けられたシールホルダ嵌合面に取付けられて、前記外輪及び前記内輪の間に形成される隙間をシールするシール体と、
を備える密封型転がり軸受であって、
前記シール体は、円筒部、及び前記円筒部の外端部から前記内輪に向けて屈曲した円輪部を有する断面L字状の芯金と、前記芯金に取付けられて前記シールホルダ嵌合面に密着するシール固定部、及びシールリップ部を有する弾性材料からなるシール部材と、を備え、
前記シールホルダ嵌合面は、軸方向内側に向かって拡径する傾斜を有する、
密封型転がり軸受。
続きを表示(約 130 文字)
【請求項2】
前記シール体は、軸方向内側に向かって拡径する、
請求項1に記載の密封型転がり軸受。
【請求項3】
前記シール固定部は、軸方向内側に向かうに連れて肉厚に形成される、
請求項1又は2に記載の密封型転がり軸受。
発明の詳細な説明
【技術分野】
【0001】
本発明は、密封型転がり軸受に関し、より詳細には、例えば、鉄鋼設備の圧延機に使用される密封型転がり軸受に関する。
続きを表示(約 1,600 文字)
【背景技術】
【0002】
従来、鉄鋼材による板材を製造する圧延機は、圧延時に鉄鋼材を圧迫挟持して圧延するワークロールと、該ワークロールの撓みを防止して均一な厚みの板材を得るため、ワークロールの外周面を転動自在に支える一段または複数段の中間ロールと、該中間ロールをその外側で支えてワークロールの撓みを防止するバックアップロールと、からなる多段圧延機が多く用いられている。
【0003】
形状精度の高い板製品を製造するため、圧延機ではロールの冷却、ロール間、即ち、ワークロールとバックアップロールとの間の潤滑、被圧延材とロールとの間の潤滑等に大量の圧延水がロールに向けて噴射されている。
【0004】
圧延水が軸受内部へ浸入することを防ぐため、軸受ハウジングにはシールが用いられている。しかしながら、高温環境、スケール等の異物、または、メンテナンスの不備によって軸受内に圧延水が浸入してしまうと、潤滑不良が発生して、軸受が早期に損傷する虞がある。
【0005】
特許文献1では、近年の高生産性、効率化、合理化を目的とした圧延機の高速化に伴う軸受内部の高圧化に対応しつつ、圧延水の軸受内部への浸入を防止するために、芯金と、スリンガと、芯金に取り付けられて、スリンガに接触するシールリップと、を備え、芯金に圧力を開放する排気孔を設けた、密封型転がり軸受が開示されている。
【先行技術文献】
【特許文献】
【0006】
特開2014-137090号公報
【発明の概要】
【発明が解決しようとする課題】
【0007】
特許文献1に記載のシール体は、芯金に形成した排気孔によって、軸受内部の圧力を外部空間に開放することを意図するものであるが、鉄鋼設備の圧延機に用いられる軸受は、高温、高荷重等の過酷な環境で使用されるため、シールホルダとなる外輪の変形、軸受の内圧増加、継続的な衝撃や振動等により、シール体が軸受から脱落したり、供回りしたりする可能性がある。また、シール体の製造にコストも掛かるものである。
【0008】
本発明は、上記課題に鑑みてなされたものであり、高温、高荷重等の過酷な環境の中で継続的に使用した場合であっても、シール体が軸受から脱落したり、供回りしたりすることを、簡素且つ低コストな構成で防止する密封型転がり軸受を提供することを目的とする。
【課題を解決するための手段】
【0009】
本発明の上記目的は、下記[1]の構成によって達成される。
[1] 内径部に外輪軌道面が形成された外輪と、
外径部に内輪軌道面が形成された内輪と、
前記外輪軌道面と前記内輪軌道面との間に配置される複数の転動体と、
前記外輪の内径部の外側端部に設けられたシールホルダ嵌合面に取付けられて、前記外輪及び前記内輪の間に形成される隙間をシールするシール体と、
を備える密封型転がり軸受であって、
前記シール体は、円筒部、及び前記円筒部の外端部から前記内輪に向けて屈曲した円輪部を有する断面L字状の芯金と、前記芯金に取付けられて前記シールホルダ嵌合面に密着するシール固定部、及びシールリップ部を有する弾性材料からなるシール部材と、を備え、
前記シールホルダ嵌合面は、軸方向内側に向かって拡径する傾斜を有する、
密封型転がり軸受。
【発明の効果】
【0010】
本発明によれば、簡素且つ低コストな構成によって、高温、高荷重等の過酷な環境の中で継続的に使用した場合であっても、シール体が軸受から脱落したり、供回りしたりすることを防止できる。
【図面の簡単な説明】
(【0011】以降は省略されています)
この特許をJ-PlatPat(特許庁公式サイト)で参照する
関連特許
日本精工株式会社
保持器
1か月前
日本精工株式会社
分注装置
1か月前
日本精工株式会社
ボールねじ
1か月前
日本精工株式会社
締結用工具
1か月前
日本精工株式会社
制振システム
2か月前
日本精工株式会社
リニアガイド
1か月前
日本精工株式会社
遊星歯車装置
1か月前
日本精工株式会社
ボールねじ装置
4日前
日本精工株式会社
円すいころ軸受
3日前
日本精工株式会社
転がり案内装置
11日前
日本精工株式会社
突入電流抑止回路
1か月前
日本精工株式会社
アンギュラ玉軸受
1か月前
日本精工株式会社
シール付き玉軸受
1か月前
日本精工株式会社
ハブユニット軸受
1か月前
日本精工株式会社
密封型転がり軸受
4日前
日本精工株式会社
リニアガイド装置
2か月前
日本精工株式会社
密封型転がり軸受
4日前
日本精工株式会社
密封型転がり軸受
4日前
日本精工株式会社
密封型転がり軸受
4日前
日本精工株式会社
密封型転がり軸受
4日前
日本精工株式会社
密封型転がり軸受
4日前
日本精工株式会社
密封型転がり軸受
4日前
日本精工株式会社
磁歪式トルクセンサ
1か月前
日本精工株式会社
モータ制御システム
12日前
日本精工株式会社
磁歪式トルクセンサ
13日前
日本精工株式会社
逆入力遮断クラッチ
1か月前
日本精工株式会社
逆入力遮断クラッチ
1か月前
日本精工株式会社
直動案内装置の組立方法
17日前
日本精工株式会社
アクチュエータシステム
19日前
日本精工株式会社
絶縁転がり軸受の製造方法
1か月前
日本精工株式会社
ラジアルころ軸受用保持器
3日前
日本精工株式会社
ボールねじ部品の製造方法
1か月前
日本精工株式会社
潤滑機能付き転がり軸受装置
1か月前
日本精工株式会社
保持器、及び保持器の製造方法
2か月前
日本精工株式会社
直動案内装置及びその製造方法
17日前
日本精工株式会社
ころ軸受及びころ軸受の設計方法
17日前
続きを見る
他の特許を見る