TOP
|
特許
|
意匠
|
商標
特許ウォッチ
Twitter
他の特許を見る
公開番号
2025119685
公報種別
公開特許公報(A)
公開日
2025-08-15
出願番号
2024014607
出願日
2024-02-02
発明の名称
機能割付システム
出願人
株式会社日立製作所
代理人
藤央弁理士法人
主分類
G06F
8/60 20180101AFI20250807BHJP(計算;計数)
要約
【課題】複数の異機能チップが協働して一つの目的を実現するシステムを迅速に設計するプラットフォームを提供する。
【解決手段】アプリケーションプログラムをハードウェア及びミドルウェアに割り付ける割付システムであって、所定の演算処理を実行する演算装置と、前記演算装置に接続された記憶デバイスとを有する計算機によって構成され、前記演算装置が、指標の指定を受け付ける入力部と、前記演算装置が、入力されるアプリケーション仕様及び前記入力部が受け付けた指標に基づいてデータベースに記録されたチップ仮想モデル及びミドルウェア仮想モデルの組み合わせ、及びそれぞれの仮想モデルの動作モードを割り付ける割付処理部と、前記演算装置が、前記割付処理部による割り付けの結果を出力する出力部を有する。
【選択図】図1
特許請求の範囲
【請求項1】
アプリケーションプログラムをハードウェア及びミドルウェアに割り付ける割付システムであって、
所定の演算処理を実行する演算装置と、前記演算装置に接続された記憶デバイスとを有する計算機によって構成され、
前記演算装置が、指標の指定を受け付ける入力部と、
前記演算装置が、入力されるアプリケーション仕様及び前記入力部が受け付けた指標に基づいてデータベースに記録されたチップ仮想モデル及びミドルウェア仮想モデルの組み合わせ、及びそれぞれの仮想モデルの動作モードを割り付ける割付処理部と、
前記演算装置が、前記割付処理部による割り付けの結果を出力する出力部を有することを特徴とする割付システム。
続きを表示(約 930 文字)
【請求項2】
請求項1に記載の割付システムであって、
前記入力部は、アプリコードワークスペース、及びシステム設計ワークスペースを表示するための表示データを作成することを特徴とする割付システム。
【請求項3】
請求項2に記載の割付システムであって、
前記割付処理部は、
前記入力されるアプリケーション仕様、及び前記入力部が受け付けた情報に基づいて、アプリケーションコードを分析して、機能ブロックに分割して、機能データを抽出し、
前記入力部が受け付けたシステム情報及びチップ情報に基づいてシステムデータ及びチップデータを抽出し、
ミドルウェア機能データ、前記システムデータ、前記チップデータ、及び使用環境データを前記チップ仮想モデル及び前記ミドルウェア仮想モデルから構成されるシステム仮想モデルに入力して、システム性能情報を抽出し、
前記抽出されたシステム性能情報に基づいて、仮想モデルの動作モードを割り付けることを特徴とする割付システム。
【請求項4】
請求項3に記載の割付システムであって、
前記入力部は、チップ実装階層情報、コンピューティングリソース数、及びコンピューティングリソース情報を入力情報として受け付けることを特徴とする割付システム。
【請求項5】
請求項4に記載の割付システムであって、
前記割付処理部は、
前記入力部に入力されるチップ実装階層情報に基づいて、階層上の計算リソースの配置を判定し、
同一階層上に複数の計算リソースが並列に配置される場合、当該階層内に配置される複数のチップを統合した統合チップとして仮想化することを特徴とする割付システム。
【請求項6】
請求項4に記載の割付システムであって、
前記割付処理部は、
前記入力部に入力されるチップ実装階層情報に基づいて、階層上の計算リソースの配置を判定し、
複数階層上に複数の計算リソースが直列に配置される場合、当該複数階層に配置される複数チップを統合した統合チップとして仮想化することを特徴とする割付システム。
発明の詳細な説明
【技術分野】
【0001】
本発明は、機能割付システムに関する。
続きを表示(約 1,900 文字)
【背景技術】
【0002】
現状のソリューション開発では、異種チップに搭載されるアプリケーションを並行かつ分断して開発する。
【0003】
本技術分野の背景技術として、以下の先行技術がある。特許文献1(特開2010-39677号公報)には、ソフトウェアを実行する前記ハードウェアモデル群からなるアーキテクチャを取得する取得手段と、前記取得手段によって取得された前記アーキテクチャ内のハードウェアモデルの分割または/および融合の可能性を判断する判断手段と、前記判断手段によって判断された判断結果に基づいて、前記アーキテクチャを再構築する再構築手段と、前記再構築手段による再構築後のアーキテクチャを出力する出力手段と、を備えることを特徴とする設計支援装置が記載されている。
【先行技術文献】
【特許文献】
【0004】
特開2010-39677号公報
【発明の概要】
【発明が解決しようとする課題】
【0005】
前述した平行かつ分断した開発手法では、開発統合試験までシステムの整合性が確認できず、開発工程間の摺り合わせが頻発し、開発人員及び開発期間の増大によって開発コストが上昇する。このため、ソリューションコスト競争力を低下させ損失が増大する。
【0006】
また、アプリケーションが実装された装置全体としての動作において、動作、定格、コストなどの仕様に適合しない可能性がある。
【0007】
本発明は、複数の異機能チップが協働して一つの目的を実現するシステムを迅速に設計するプラットフォームの提供を目的とする。
【課題を解決するための手段】
【0008】
本願において開示される発明の代表的な一例を示せば以下の通りである。すなわち、アプリケーションプログラムをハードウェア及びミドルウェアに割り付ける割付システムであって、所定の演算処理を実行する演算装置と、前記演算装置に接続された記憶デバイスとを有する計算機によって構成され、前記演算装置が、指標の指定を受け付ける入力部と、前記演算装置が、入力されるアプリケーション仕様及び前記入力部が受け付けた指標に基づいてデータベースに記録されたチップ仮想モデル及びミドルウェア仮想モデルの組み合わせ、及びそれぞれの仮想モデルの動作モードを割り付ける割付処理部と、前記演算装置が、前記割付処理部による割り付けの結果を出力する出力部を有することを特徴とする。
【発明の効果】
【0009】
本発明の一態様によれば、複数の異機能チップが協働して一つの目的を実現するシステムを構成するチップの性能を無駄なく使用できる。上記した以外の課題、構成及び効果は、以下の発明を実施するための形態の説明により明らかにされる。
【図面の簡単な説明】
【0010】
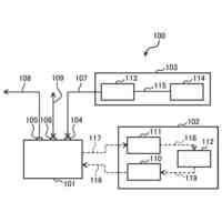
本発明の実施例のアプリ機能割付システムの構成を示すブロック図である。
本実施例のユーザインターフェースの画面例を示す図である。
本実施例の機能割付システムの構成を示すブロック図である。
本実施例のアプリコード開発業務における機能割付システムが実行する処理のフローチャートである。
アプリ機能割付システムに入力されるシステム/チップ構成図の作成方法の例を示す図である。
本実施例のシステム仮想モデルの入出力を示す図である。
本実施例の性能(処理時間)データの構成例を示す図である。
本実施例の性能(消費電力)データの構成例を示す図である。
本実施例の性能(コスト)データの構成例を示す図である。
本実施例のチップ-ミドル割付機能が実行する処理のフローチャートである。
本実施例のマルチモーダルセンシングシステムのアプリケーションソフトウェアが実行する処理のフローチャートである。
本実施例のマルチモーダルセンシングシステムのシステムハードウェア構成及び分割された機能の例を示す図である。
本実施例の振動診断システムのアプリケーションソフトウェアが実行する処理のフローチャートである。
本実施例の振動診断システムのハードウェア構成及び分割して実行される機能の例を示す図である。
本実施例のデバイス鍵認証システムのアプリケーションソフトウェアが実行する処理のフローチャートである。
本実施例のデバイス鍵認証システムのハードウェア構成及び分割して実行される機能の例を示す図である。
【発明を実施するための形態】
(【0011】以降は省略されています)
この特許をJ-PlatPat(特許庁公式サイト)で参照する
関連特許
株式会社日立製作所
部品管理装置及び方法
5日前
株式会社日立製作所
蒸発乾固装置および蒸発乾固方法
6日前
株式会社日立製作所
情報処理システム、及び情報処理方法
5日前
株式会社日立製作所
説明情報生成装置及び説明情報生成方法
6日前
株式会社日立製作所
制御装置,移動体,制御システム及び制御方法
1日前
株式会社日立製作所
生産ラインを編成する装置、システムおよび方法
今日
株式会社日立製作所
異常事象対処支援装置および異常事象対処支援方法
今日
株式会社日立製作所
エンティティ抽出システム、エンティティ選択方法
今日
株式会社日立製作所
ストレージシステム及びストレージシステムの制御方法
6日前
株式会社日立製作所
飛行体検知装置、飛行体検知方法、及び飛行体制御システム
5日前
株式会社日立製作所
情報処理方法、情報処理プログラム、及び情報処理システム
5日前
株式会社日立製作所
自動画面操作テスト支援装置及び自動画面操作テスト支援方法
6日前
株式会社日立製作所
データ連動システム、データ連動方法及びデータ連動プログラム
5日前
株式会社日立製作所
障害分析システム、障害分析方法、及び障害分析モデル生成方法
5日前
株式会社日立製作所
栄養塩類徐放性ブロックの製造方法および栄養塩類徐放性ブロック
6日前
株式会社日立製作所
脅威インテリジェンス生成装置、及び脅威インテリジェンス生成方法
6日前
株式会社日立製作所
ロボットの動作学習装置、動作学習システム、および、動作学習方法
5日前
株式会社日立製作所
浄水薬品注入制御システム、浄水薬品注入制御方法、及びプログラム
6日前
株式会社日立製作所
治療選択支援装置、治療選択支援方法、および治療選択支援プログラム
5日前
株式会社日立製作所
電力貯蔵装置監視システム及び電力貯蔵装置監視方法、並びに、電力貯蔵システム
6日前
株式会社日立製作所
セキュリティ侵害分析装置、セキュリティ侵害分析方法、及びセキュリティ分析システム
5日前
株式会社日立製作所
ストレージコントローラにおいて実行されるソフトウェアの起動における改ざん検証のテストを行うシステム
5日前
個人
詐欺保険
1日前
個人
縁伊達ポイン
1日前
個人
QRコードの彩色
5日前
個人
地球保全システム
14日前
個人
為替ポイント伊達夢貯
1か月前
個人
冷凍食品輸出支援構造
1か月前
個人
農作物用途分配システム
今日
個人
残土処理システム
7日前
個人
表変換編集支援システム
1か月前
個人
知的財産出願支援システム
8日前
個人
知財出願支援AIシステム
1か月前
個人
AIによる情報の売買の仲介
1か月前
個人
行動時間管理システム
1か月前
個人
パスワード管理支援システム
1か月前
続きを見る
他の特許を見る