TOP
|
特許
|
意匠
|
商標
特許ウォッチ
Twitter
他の特許を見る
10個以上の画像は省略されています。
公開番号
2025152531
公報種別
公開特許公報(A)
公開日
2025-10-10
出願番号
2024054459
出願日
2024-03-28
発明の名称
障害分析システム、障害分析方法、及び障害分析モデル生成方法
出願人
株式会社日立製作所
代理人
弁理士法人サンネクスト国際特許事務所
主分類
G06F
16/38 20190101AFI20251002BHJP(計算;計数)
要約
【課題】新たに検知された障害と類似する過去の類似事例をより高精度に抽出する。
【解決手段】障害分析システム1は、過去の前記障害を記述した文書である過去事例又は監視対象に関係する事項をルール化した文書であるナレッジが学習され、前記監視対象で発生した障害を記述した入力事例との類似度判定を行って入力事例と類似する類似事例又は入力事例と関連する関連ナレッジを含む類似文書を出力する複数の学習モデルを格納する。障害分析システム1は、複数の学習モデルのそれぞれから入力事例に対する類似度を表すスコアと共に出力された類似文書を取得する。障害分析システム1は、複数の学習モデルのそれぞれから取得したスコアを類似文書毎に合計した合計スコアを計算し、合計スコアと共に類似文書を出力する。複数の学習モデルは、類似度判定の観点又は指標に応じて類似度判定の判定結果が異なる。
【選択図】図4
特許請求の範囲
【請求項1】
監視対象で発生した障害の分析を支援する障害分析システムであって、
前記障害分析システムは、プロセッサとメモリと記憶部とを有し、
前記記憶部は、
過去の前記障害を記述した文書である過去事例又は前記監視対象に関係する事項をルール化した文書であるナレッジが学習され、前記監視対象で発生した前記障害を記述した文書である入力事例との類似度判定を行って該入力事例と類似する該過去事例である類似事例又は該入力事例と関連する該ナレッジである関連ナレッジを含む類似文書を出力する複数の学習モデルを格納し、
前記プロセッサは、
前記複数の学習モデルのそれぞれに対して前記入力事例を入力し、
前記複数の学習モデルのそれぞれから前記入力事例に対する類似度を表すスコアと共に出力された前記類似文書を取得し、
前記複数の学習モデルのそれぞれから取得した前記スコアを前記類似文書毎に合計した合計スコアを計算し、
前記合計スコアと共に前記類似文書を出力し、
前記複数の学習モデルは、
前記類似度判定の観点又は指標に応じて該類似度判定の判定結果が異なる
ことを特徴とする障害分析システム。
続きを表示(約 2,500 文字)
【請求項2】
請求項1に記載の障害分析システムであって、
前記複数の学習モデルのそれぞれは、
前記過去事例を情報の粒度を細分化した複数の細分化情報に分け、該複数の細分化情報に関する文書を学習した該細分化情報毎の学習モデルを含み、
前記プロセッサは、
前記入力事例を前記複数の細分化情報に分け、
前記複数の学習モデルのそれぞれの前記細分化情報毎の学習モデルに対して、該細分化情報毎の前記入力事例を入力し、
前記複数の学習モデルのそれぞれの前記細分化情報毎の学習モデルから前記細分化情報毎の前記入力事例に対して前記スコアと共に出力された前記類似事例を取得し、
前記複数の学習モデルのそれぞれの前記細分化情報毎の学習モデルから取得した前記スコアを、該細分化情報毎かつ前記類似事例毎に合計した前記合計スコアを計算し、
前記細分化情報毎に、前記合計スコアと共に前記類似事例を出力する
ことを特徴とする障害分析システム。
【請求項3】
請求項2に記載の障害分析システムであって、
前記複数の細分化情報は、前記過去事例の事象及び原因の少なくとも何れか一つを含む
ことを特徴とする障害分析システム。
【請求項4】
請求項1に記載の障害分析システムであって、
前記複数の学習モデルのそれぞれは、
前記ナレッジを複数の工程に分け、該工程毎に該ナレッジを学習した該工程毎の学習モデルを含み、
前記プロセッサは、
前記工程毎の学習モデルのそれぞれに対して、前記入力事例を入力し、
前記工程毎の学習モデルから前記入力事例に対して前記スコアと共に出力された前記関連ナレッジを取得し、
前記工程毎の学習モデルのそれぞれから取得した前記関連ナレッジの前記スコアを、該工程毎かつ該関連ナレッジ毎に合計した前記合計スコアを計算し、
前記工程毎に、前記合計スコアと共に前記関連ナレッジを出力する
ことを特徴とする障害分析システム。
【請求項5】
請求項1に記載の障害分析システムであって、
前記プロセッサは、
前記複数の学習モデルのそれぞれから前記入力事例に対して取得された前記類似文書の前記スコアに対して、前記複数の学習モデル毎にMMR(Maximal Marginal Relevance)による再順序付けを行い、
前記複数の学習モデル毎に再順序付けした前記スコアを前記類似文書毎に合計した前記合計スコアを算出し、
前記合計スコアと共に前記類似文書を出力する
ことを特徴とする障害分析システム。
【請求項6】
請求項1に記載の障害分析システムであって、
前記プロセッサは、
製品グループ毎の製品に関係する所定文書に出現する用語を学習して、該用語に基づいて該製品グループを推定する分類器を構成し、
前記類似事例を前記分類器に入力し、該類似事例に出現している用語に基づいて該類似事例が所属する該製品グループを推定する
ことを特徴とする障害分析システム。
【請求項7】
請求項1に記載の障害分析システムであって、
前記複数の学習モデルは、Doc2Vec、TF-IDF、及びSentence BERTの少なくとも何れか一つを含む
ことを特徴とする障害分析システム。
【請求項8】
監視対象で発生した障害の分析を支援する障害分析システムが実行する障害分析方法であって、
前記障害分析システムは、プロセッサとメモリと記憶部とを有し、
前記記憶部は、
過去の前記障害を記述した文書である過去事例又は前記監視対象に関係する事項をルール化した文書であるナレッジが学習され、前記監視対象で発生した前記障害を記述した文書である入力事例との類似度判定を行って該入力事例と類似する該過去事例である類似事例又は該入力事例と関連する該ナレッジである関連ナレッジを含む類似文書を出力する複数の学習モデルを格納し、
前記プロセッサが、
前記複数の学習モデルのそれぞれに対して、前記入力事例を入力し、
前記複数の学習モデルのそれぞれから前記入力事例に対する類似度を表すスコアと共に出力された前記類似文書を取得し、
前記複数の学習モデルのそれぞれから取得した前記スコアを前記類似文書毎に合計した合計スコアを計算し、
前記合計スコアと共に前記類似文書を出力する、各処理を有し、
前記複数の学習モデルは、
前記類似度判定の観点又は指標に応じて該類似度判定の判定結果が異なる
ことを特徴とする障害分析方法。
【請求項9】
監視対象で発生した障害の分析を支援する障害分析モデルを生成する障害分析モデル生成システムが実行する障害分析モデル生成方法であって、
前記障害分析モデル生成システムは、プロセッサとメモリとを有し、
前記プロセッサが、
文書を分類するタグを、過去の前記障害を記述した文書である過去事例又は前記監視対象に関係する事項をルール化した文書であるナレッジに付与し、
前記タグの組み合わせのパターン毎に、前記過去事例又は前記ナレッジをそれぞれグループ化し、
複数の前記障害分析モデルの学習手法の中から前記パターン毎に対応して予め定められた学習手法を用いて、各該パターンに該当する前記過去事例又は前記ナレッジのグループを学習することで、前記監視対象で発生した前記障害を記述した文書である入力事例との類似度判定を行って該入力事例と類似する該過去事例である類似事例又は該入力事例と関連する該ナレッジである関連ナレッジを含む類似文書を出力する複数の該障害分析モデルを生成する
各処理を有し、
生成された前記複数の障害分析モデルは、
前記類似度判定の観点又は指標に応じて該類似度判定の判定結果が異なる
ことを特徴とする障害分析モデル生成方法。
発明の詳細な説明
【技術分野】
【0001】
本発明は、障害分析システム、障害分析方法、及び障害分析モデル生成方法に関する。
続きを表示(約 2,400 文字)
【背景技術】
【0002】
従来から、監視対象における障害の発生時に、機械学習によるモデルを用いて、類似の過去事例から障害の原因や対応策を抽出することで、効率的な障害対応を支援するシステムが提案されている。
【0003】
例えば、特許文献1には、新たに検知された障害に対する対応方法を提示・推奨する障害対応支援システムが開示されている。すなわち障害対応支援システムは、「障害メール31を送信する障害メールサーバ30と、障害メッセージに基づいて対応内容を取得し、対応内容メール44を担当者2に対して送信する障害対応支援サーバ40と、障害メッセージに対して分析モデル53を用いて対応内容を取得する機械学習サーバ50とを有し、障害メールサーバ30は、障害メール31を担当者2および障害対応支援サーバ40に対して送信し、障害対応支援サーバ40は、障害メッセージについて機械学習サーバ50に対して対応内容の取得を要求し、機械学習サーバ50は、障害メッセージについて、担当者2からの顧客3への連絡の要否を分類する第1の分析モデル、類似する過去の障害対応から対応内容の候補を抽出する第2の分析モデルにより、対応内容を取得する。」というものである(特許文献1の要約書参照)。
【先行技術文献】
【特許文献】
【0004】
特開2018-136656号公報
【発明の概要】
【発明が解決しようとする課題】
【0005】
しかし上述の従来技術では、新たに検知された障害と類似する過去の類似事例を抽出する際の精度が低いという問題があった。類似事例の抽出の精度が低いと、ユーザの経験に沿う類似事例が抽出されないのみならず、ユーザの経験に明らかに反する類似事例が数多く抽出されたり、特定の製品や分野に偏って類似事例が抽出されたりする。
【0006】
本発明は上記の課題に鑑みてなされたもので、新たに検知された障害と類似する過去の類似事例をより高精度に抽出することを目的とする。
【課題を解決するための手段】
【0007】
上記目的を達成するために、本発明は、監視対象で発生した障害の分析を支援する障害分析システムであって、前記障害分析システムは、プロセッサとメモリと記憶部とを有し、前記記憶部は、過去の前記障害を記述した文書である過去事例又は前記監視対象に関係する事項をルール化した文書であるナレッジが学習され、前記監視対象で発生した前記障害を記述した文書である入力事例との類似度判定を行って該入力事例と類似する該過去事例である類似事例又は該入力事例と関連する該ナレッジである関連ナレッジを含む類似文書を出力する複数の学習モデルを格納し、前記プロセッサは、前記複数の学習モデルのそれぞれに対して、前記入力事例を入力し、前記複数の学習モデルのそれぞれから前記入力事例に対する類似度を表すスコアと共に出力された前記類似文書を取得し、前記複数の学習モデルのそれぞれから取得した前記スコアを前記類似文書毎に合計した合計スコアを計算し、前記合計スコアと共に前記類似文書を出力し、前記複数の学習モデルは、前記類似度判定の観点又は指標に応じて該類似度判定の判定結果が異なることを特徴とする。
【発明の効果】
【0008】
本発明によれば、新たに検知された障害と類似する過去の類似事例をより高精度に抽出できる。
【図面の簡単な説明】
【0009】
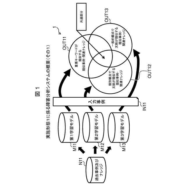
実施形態1に係る障害分析システムの概要を示す図(その1)。
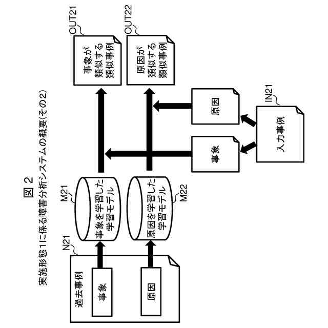
実施形態1に係る障害分析システムの概要を示す図(その2)。
実施形態1に係る障害分析システムの概要を示す図(その3)。
実施形態1に係る障害分析システムの構成図。
実施形態1に係る文書フォーマット定義の構成を示す図。
実施形態1に係る過去事例及びナレッジの項目及び用途を示す図。
実施形態1に係るデータ収集処理を示すフローチャート。
実施形態1に係る学習データ準備処理を示すフローチャート。
実施形態1に係る記事分割処理を示すフローチャート。
実施形態1に係る分割パターンを示す図。
実施形態1に係る学習モデル生成処理を示すフローチャート。
実施形態1に係る学習モデルに対応する対応分割パターンを示す図。
実施形態1に係る類似文書取得処理を示すフローチャート。
実施形態1に係る出力画面を示す図(その1)。
実施形態1に係る出力画面を示す図(その2)。
実施形態2に係る障害分析システムの概要を示す図。
実施形態2に係る障害分析システムの構成図。
実施形態2に係る製品カテゴリ類推のための事前データ準備処理を示すフローチャート。
実施形態2に係る製品カテゴリ類推用の学習データ作成処理を示すフローチャート。
実施形態2に係る製品カテゴリ抽出処理を示すフローチャート。
実施形態2に係る製品カテゴリ抽出結果画面を示す図。
比較例に係る製品カテゴリ抽出結果画面を示す図。
コンピュータのハードウェアの構成を示す図。
【発明を実施するための形態】
【0010】
以下、図面に基づいて本発明に係る実施形態を説明する。以下の説明では、説明内容及び図面は、明確化のため、適宜簡素化や省略がなされている。また以下の説明における特徴の組み合わせのすべてが発明の解決手段に必要とは限らない。また以下の説明において、既出の実施形態の説明は、後出において適宜省略される。また以下の説明における各実施形態の一部又は全部を組み合わせた実施形態も、本発明に係る実施形態に含まれる。
(【0011】以降は省略されています)
特許ウォッチbot のツイートを見る
この特許をJ-PlatPat(特許庁公式サイト)で参照する
関連特許
株式会社日立製作所
鉄道車両
今日
株式会社日立製作所
ガス分離システム
今日
株式会社日立製作所
圧延設定支援装置及び圧延設定支援方法
今日
株式会社日立製作所
燃料電池ブロックおよび燃料電池システム
1日前
株式会社日立製作所
搬送装置を制御する制御システム及び制御方法
今日
株式会社日立製作所
管路推定システム、管路推定方法、および管路推定プログラム
今日
個人
詐欺保険
3日前
個人
縁伊達ポイン
3日前
個人
QRコードの彩色
7日前
個人
地球保全システム
16日前
個人
農作物用途分配システム
2日前
個人
残土処理システム
9日前
個人
表変換編集支援システム
1か月前
個人
知的財産出願支援システム
10日前
個人
行動時間管理システム
1か月前
個人
パスワード管理支援システム
1か月前
株式会社キーエンス
受発注システム
15日前
個人
海外支援型農作物活用システム
28日前
株式会社キーエンス
受発注システム
15日前
株式会社キーエンス
受発注システム
15日前
個人
AIキャラクター制御システム
1か月前
個人
システム及びプログラム
29日前
個人
食品レシピ生成システム
15日前
サクサ株式会社
中継装置
1か月前
個人
音声対話型帳票生成支援システム
1か月前
個人
未来型家系図構築システム
28日前
大同特殊鋼株式会社
疵判定方法
22日前
個人
帳票自動生成型SaaSシステム
10日前
個人
SaaS型勤務調整支援システム
1か月前
個人
社会還元・施設向け供給支援構造
1か月前
個人
人格進化型対話応答制御システム
1か月前
キヤノン株式会社
表示システム
15日前
個人
音声・通知・再配達UX制御構造
10日前
中部電力株式会社
学習装置
28日前
フリー株式会社
情報処理システム
22日前
大同特殊鋼株式会社
棒材計数方法
8日前
続きを見る
他の特許を見る