TOP
|
特許
|
意匠
|
商標
特許ウォッチ
Twitter
他の特許を見る
10個以上の画像は省略されています。
公開番号
2025150602
公報種別
公開特許公報(A)
公開日
2025-10-09
出願番号
2024051584
出願日
2024-03-27
発明の名称
ストレージシステム及びストレージシステムの制御方法
出願人
株式会社日立製作所
代理人
弁理士法人信友国際特許事務所
主分類
G06F
11/20 20060101AFI20251002BHJP(計算;計数)
要約
【課題】キャッシュメモリにおけるデータロストの発生前に、データロストの回避処理を行えるようにする。
【解決手段】本発明の一態様のストレージシステム100のコントローラ1は、DIMM11の状態に関する情報を取得し、取得した情報に基づいてDIMM11における修復不能な障害の予兆を監視して検出する障害予兆監視部101と、障害予兆監視部101が障害の予兆を検出した場合、冗長性が失われたキャッシュデータを所定の退避先にコピー又は移動させる制御部104と、を備える
【選択図】図6
特許請求の範囲
【請求項1】
それぞれがキャッシュメモリを有し、互いに冗長化構成とされた複数のコントローラと、前記キャッシュメモリのキャッシュデータが格納されるドライブと、を有するストレージシステムであって、
前記コントローラは、
前記キャッシュメモリの状態に関する情報を取得し、取得した前記情報に基づいて前記キャッシュメモリにおける修復不能な障害の予兆を監視して検出する障害予兆監視部と、
前記障害予兆監視部が前記障害の予兆を検出した場合、冗長性が失われた前記キャッシュデータを、所定の退避先に複製又は移動させる制御部と、を備える
ストレージシステム。
続きを表示(約 1,400 文字)
【請求項2】
冗長性が失われた前記キャッシュデータは、前記コントローラに対して冗長化構成とされた他コントローラが動作不可状態にあることにより、二重化されていない前記キャッシュデータである
請求項1に記載のストレージシステム。
【請求項3】
前記障害予兆監視部は、前記キャッシュメモリの状態に関する情報として、前記キャッシュメモリにおける訂正可能エラーの発生パターンの情報を取得し、前記発生パターンが予め定義された条件に該当する場合に、前記障害の予兆を検出する
請求項2に記載のストレージシステム。
【請求項4】
前記発生パターンは、単位時間あたりの前記訂正可能エラーの発生数によって示されるパターン、又は、前記訂正可能エラーのビットパターンである
請求項3に記載のストレージシステム。
【請求項5】
前記障害予兆監視部は、前記キャッシュメモリの状態に関する情報として、前記キャッシュメモリの温度の情報を取得し、前記温度が所定の閾値範囲を超えていた場合、前記障害の予兆を検出する
請求項3に記載のストレージシステム。
【請求項6】
前記障害予兆監視部は、前記キャッシュメモリの状態に関する情報として、前記キャッシュメモリへの供給電圧の情報を取得し、前記供給電圧が所定の閾値範囲を超えていた場合、前記障害の予兆を検出する
請求項3に記載のストレージシステム。
【請求項7】
冗長性が失われた前記キャッシュデータの前記所定の退避先は、自コントローラ内のキャッシュデータ退避メモリ、自コントローラ及び自コントローラに対して冗長化構成とされた他コントローラを含む第1クラスタに対して冗長構成とされた第2クラスタ内の他コントローラの前記キャッシュメモリ、又は、前記ドライブである
請求項5又は6に記載のストレージシステム。
【請求項8】
前記制御部は、前記キャッシュデータの冗長性の回復の速度が重要視される場合においては、冗長性が失われた前記キャッシュデータを、前記第2クラスタの前記他コントローラの前記キャッシュメモリに複製する処理である第1冗長性回復処理を、優先的に選択する
請求項7に記載のストレージシステム。
【請求項9】
前記制御部は、前記キャッシュデータの冗長性の確実性が重要視される場合においては、冗長性が失われた前記キャッシュデータを前記ドライブに移動させる処理である第2冗長性回復処理を、優先的に選択する
請求項7に記載のストレージシステム。
【請求項10】
それぞれがキャッシュメモリを有し、互いに冗長化構成とされた複数のコントローラと、前記キャッシュメモリのキャッシュデータが格納されるドライブと、を有するストレージシステムの制御方法であって、
前記コントローラが、前記キャッシュメモリの状態に関する情報を取得し、取得した前記情報に基づいて前記キャッシュメモリにおける修復不能な障害の予兆を監視して検出する手順と、
前記障害の予兆を検出した場合、冗長性が失われた前記キャッシュデータを、所定の退避先に複製又は移動させる手順と、を含む
ストレージシステムの制御方法。
発明の詳細な説明
【技術分野】
【0001】
本発明は、ストレージシステム及びストレージシステムの制御方法に関する。
続きを表示(約 2,400 文字)
【背景技術】
【0002】
従来、磁気ディスク装置等で構成される複数のドライブを用いることによりデータの冗長化を図ったストレージシステムが知られている。このようなストレージシステムにおいて、メインメモリ、キャッシュメモリ等を搭載したコントローラボード(以下、単に「コントローラ」とも称する)も冗長化することにより、ドライブに保存される前のキャッシュデータの冗長化も図ることができる。しかし、このように構成されたストレージシステムにおいて、例えば、冗長化構成とされた一方のコントローラが動作不可状態となった場合、キャッシュデータの冗長性は維持されなくなる。
【0003】
特許文献1には、冗長化構成とされた2つのクラスタのそれぞれに含まれる2つのメモリコントローラが、それぞれ独立して互いに無関係にキャッシュデータを格納するアドレスを決定するディスクアレイサブシステムが開示されている。ディスクアレイサブシステムがこのように構成されることにより、ホストコントローラから転送されたデータは、2つのメモリコントローラのそれぞれ異なるアドレスのページに格納される。つまり、2つのメモリコントローラが管理するディレクトリの構成は、それぞれ異なる内容となる。
【0004】
特許文献1に記載のディスクアレイサブシステムによれば、データ復旧の際に、クラスタ内の2つのメモリコントローラ間で、それぞれのディレクトリにおける管理内容を一致させる必要がなくなる。したがって、特許文献1に記載のディスクアレイサブシステムは、他方のメモリコントローラに格納されているDirtyデータ、すなわち、ディスクへの未書き込みのデータを、故障したメモリコントローラ内のキャッシュメモリの任意の格納アドレスに書き込むことによって、クラスタにおけるデータの冗長性を回復できる。
【先行技術文献】
【特許文献】
【0005】
特開2010-92318号公報
【発明の概要】
【発明が解決しようとする課題】
【0006】
ところで、コントローラに搭載されるメモリモジュールとして、キャッシュメモリ及びメインメモリの両方を備えるものが採用されることがある。このようなメモリモジュールにおいて、例えば、訂正可能なコレクタブルエラー等の障害が短期間のうちに連続して発生し、該発生回数が閾値エラー数を超えると、コントローラが閉塞する。そして、一方のコントローラが閉塞した状態、すなわち、キャッシュデータの冗長性が失われた状態において、冗長化構成とされた他方のコントローラでも障害が発生した場合、キャッシュデータが消失してしまう。すなわち、データロストが起こってしまう。
【0007】
本発明は、上記の状況を考慮してなされたものであり、本発明の目的は、キャッシュデータのデータロストの発生に先立って、データロストの回避処理を行えるようにすることにある。
【課題を解決するための手段】
【0008】
本発明の一態様に係るストレージシステムは、それぞれがキャッシュメモリを有し、互いに冗長化構成とされた複数のコントローラと、キャッシュメモリのキャッシュデータが格納されるドライブと、を有するストレージシステムである。本発明の一態様に係るストレージシステムのコントローラは、キャッシュメモリの状態に関する情報を取得し、取得した情報に基づいてキャッシュメモリにおける修復不能な障害の予兆を監視して検出する障害予兆監視部と、障害予兆監視部が障害の予兆を検出した場合、冗長性が失われたキャッシュデータを、所定の退避先に複製又は移動させる制御部と、を備える。
【発明の効果】
【0009】
本発明の少なくとも一態様によれば、メモリモジュールにおけるデータロストの発生に先立って、データロストの回避処理を取れるようになる。
上記した以外の課題、構成及び効果は、以下の実施形態の説明により明らかにされる。
【図面の簡単な説明】
【0010】
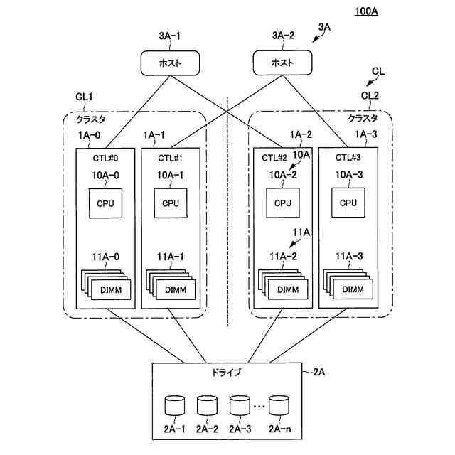
複数のメモリモジュールが搭載された従来のコントローラの構成例を示す図である。
従来のDIMMの状態遷移の例を示す図である。
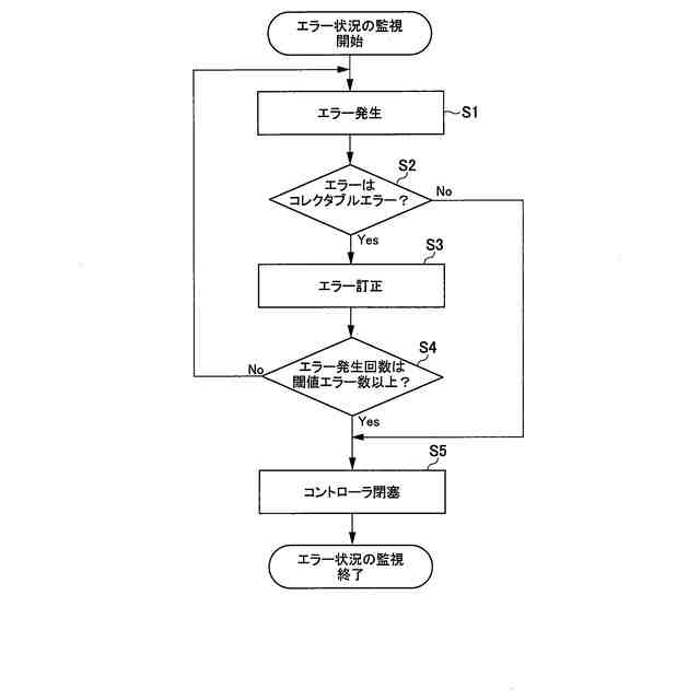
従来のCPUによるDIMMのエラー状況監視処理の手順の例を示すフローチャートである。
冗長構成とされた従来のストレージシステムの構成例を示す図である。
従来のコントローラの冗長性の状態遷移の例を示す図である。
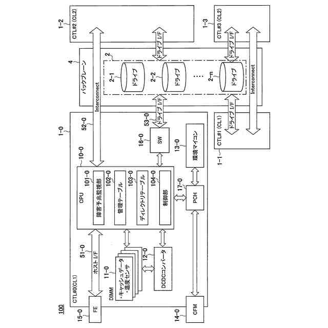
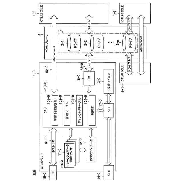
本発明の一実施形態に係るストレージシステムの構成例を示すブロック図である。
本発明の一実施形態に係るDIMMの格納情報の例を示す図である。
本発明の一実施形態に係る管理テーブルの構成例を示す図である。
本発明の一実施形態に係るディレクトリテーブルの構成例を示す図である。
本発明の一実施形態に係るストレージシステムの制御処理の手順の例を示すフローチャートである。
本発明の一実施形態に係るデータロスト回避のスピードを重視する場合におけるデータロスト回避処理の手順の例を示すフローチャートである。
本発明の一実施形態に係るデータロスト回避の信頼性(確実性)を重視する場合におけるデータロスト回避処理の手順の例を示すフローチャートである。
本発明の一実施形態に係る第1冗長性回復処理の手順の例を示すフローチャートである。
本発明の一実施形態に係る第2冗長性回復処理の手順の例を示すフローチャートである。
本発明の一実施形態に係る第3冗長性回復処理の手順の例を示すフローチャートである。
【発明を実施するための形態】
(【0011】以降は省略されています)
この特許をJ-PlatPat(特許庁公式サイト)で参照する
関連特許
株式会社日立製作所
鉄道車両
1日前
株式会社日立製作所
ガス分離システム
1日前
株式会社日立製作所
調停案提示システム
2日前
株式会社日立製作所
治療効果予測システムおよび方法
2日前
株式会社日立製作所
計算機システム及び障害対処支援方法
2日前
株式会社日立製作所
圧延設定支援装置及び圧延設定支援方法
1日前
株式会社日立製作所
燃料電池ブロックおよび燃料電池システム
2日前
株式会社日立製作所
搬送装置を制御する制御システム及び制御方法
1日前
株式会社日立製作所
生産ラインを編成する装置、システムおよび方法
3日前
株式会社日立製作所
異常事象対処支援装置および異常事象対処支援方法
3日前
株式会社日立製作所
エンティティ抽出システム、エンティティ選択方法
3日前
株式会社日立製作所
管路推定システム、管路推定方法、および管路推定プログラム
1日前
個人
詐欺保険
4日前
個人
縁伊達ポイン
4日前
個人
QRコードの彩色
8日前
個人
地球保全システム
17日前
個人
農作物用途分配システム
3日前
個人
残土処理システム
10日前
個人
表変換編集支援システム
1か月前
個人
知的財産出願支援システム
11日前
個人
パスワード管理支援システム
1か月前
個人
行動時間管理システム
1か月前
株式会社キーエンス
受発注システム
16日前
個人
食品レシピ生成システム
16日前
株式会社キーエンス
受発注システム
16日前
個人
システム及びプログラム
1か月前
個人
AIキャラクター制御システム
1か月前
株式会社キーエンス
受発注システム
16日前
個人
海外支援型農作物活用システム
29日前
個人
未来型家系図構築システム
29日前
個人
SaaS型勤務調整支援システム
1か月前
大同特殊鋼株式会社
疵判定方法
23日前
個人
帳票自動生成型SaaSシステム
11日前
個人
人格進化型対話応答制御システム
1か月前
個人
音声対話型帳票生成支援システム
1か月前
個人
社会還元・施設向け供給支援構造
1か月前
続きを見る
他の特許を見る